вконтакте

Контактный телефон: +7 (981) 121-46-93, +7 (800) 200-90-76 , Email: parts-katalog@yandex.ru, где купить

 
 

  Логин:

Пароль:

Регистрация

www.partskatalog.ru Все каталоги Запчасти Mercury Запчасти Suzuki Запчасти Tohatsu Запчасти Honda Контакты

назад Раздел:   вперёд

Модификация Вашего двигателя:   Honda BF100E LC
Модели с серийным номером двигателя от B100L-1600001 до B100L-1699999
Модели с серийным номером рамы от B100L-1600001 до B100L-1699999

Вернуться к выбору узлов мотора

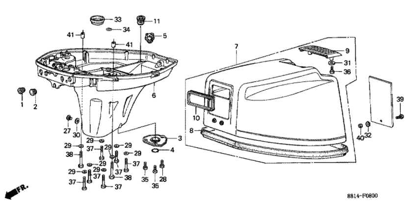
   Масляный картер / Крышка двигателя (капот) (1)
Oil Case / Engine Cover (1)      


ДЕТАЛИРОВКА ДЛЯ МОДЕЛИ: HONDA BF100E

Подвесной 4x-тактный лодочный двигатель Хонда BF100E - Масляный картер / Крышка двигателя (капот) (1) - Oil Case / Engine Cover (1)
Номер на
рисунке
АртикулНаименованиеКол-во
на складе
Цена
117914-881-300

Пыльник a, Провод (Grommet a, wire)

под заказпо запросу 
217918-881-000

Пыльник C масляного картера (Grommet c, oil case)

под заказпо запросу 
318221-881-000

Пластина, ex (Plate, ex)

под заказ2730 руб. 
418222-881-000

Ремешок внутреннего сальника (Band, ex. seal)

под заказ690 руб. 
519262-921-000

Manifold, Трубка (Manifold, tube)

под заказ1060 руб. 
640101-881-040ZA

Масляный кожух *b9 * (Case, oil *b9 *)

под заказпо запросу 
763100-881-010WF

Копот двигателя, комплект (Cover comp., engine)

под заказ47660 руб. 
863102-881-300

Резинка капота двигателя (Seal, engine cover)

под заказпо запросу 
963105-881-300WF

Рукоятка наклона (Handle, tilt)

под заказпо запросу 
1063109-881-310

Уплотнение стартера (Seal, recoil)

под заказпо запросу 
1182873-881-010

Пыльник контроля воды (Grommet, water check)

под заказ760 руб. 
2790105-921-000

Болт контроля уровня масла (Bolt, oil check)

под заказ570 руб. 
2890106-881-000

Болт под шестигранник., 6x12 (Bolt, hex., 6x12)

под заказпо запросу 
2990504-921-010

Плоская шайба, 6 мм (Washer, plain, 6mm)

6 шт330 руб. 
3090507-921-000

Нейлоновая шайба, 8 мм (Washer, nylon, 8mm)

10 шт120 руб. 
3190512-921-010

Шайба, 6 мм (Washer, 6mm)

6 шт380 руб. 
3290519-921-000

Шайба с блокировкой, 4 мм (Washer, lock, 4mm)

под заказпо запросу 
3391255-881-003

Соеденитель сальника, 25x40x22 (arai) (Seal, coupling, 25x40x22 (arai))

под заказ890 руб. 
3391255-881-004

Соеденитель сальника, 25x40x22 (nok) (Seal, coupling, 25x40x22 (nok))

1 шт1660 руб. 
3491301-812-000

Уплотнительное кольцо, 10 мм (O-ring, 10mm)

под заказ350 руб. 
3491305-PE2-003

(последний код) O-RING, 9.8X1.9

под заказ300 руб. 
3592000-06012-4J

Болт под шестигранник., 6x12 (Bolt, hex., 6x12)

под заказпо запросу 
3692000-06016-4J

Болт под шестигранник., 6x16 (Bolt, hex., 6x16)

под заказпо запросу 
3692101-06016-4J

Болт под шестигранник., 6x16 (Bolt, hex., 6x16)

под заказ240 руб. 
3792000-06032-4J

Болт под шестигранник., 6x32 (Bolt, hex., 6x32)

под заказпо запросу 
3892000-06040-4J

Болт под шестигранник., 6x40 (Bolt, hex., 6x40)

под заказ210 руб. 
3892101-06040-4J

Болт под шестигранник, 6x40 (Bolt,hex,6x40)

под заказпо запросу 
3993500-040100G

Винт с чашечкой, 4x10 (Screw, pan, 4x10)

под заказ90 руб. 
4094001-043-900-S

Шестигранная гайка, 4 мм (Nut, hex., 4mm)

под заказ110 руб. 
4194301-08140

Шпонка (Dowel pin)

4 шт150 руб. 

Время выполнения запроса 1.5810868740082 сек.

 
 

данный сайт носит информационный характер и не является публичной офертой

склад запчастей для водомоторной техники