Контактный телефон: +7 (981) 121-46-93, +7 (800) 200-90-76 , Email: parts-katalog@yandex.ru, где купить |
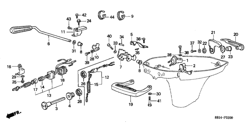
Модификация Вашего двигателя: Honda BF100E LC Вернуться к выбору узлов мотора Переключающий вал / Ручка для переноски / Крышка рычага блокировки |
|||||||||||||||||||||||||||||||||||||||||||||||||||||||||||||||||||||||||||||||||||||||||||||||||||||||||||||||||||||||||||||||||||||||||||||||||||||||||||||||||||||||||||||||||||||||||||||||||||||||||||||||||||||||||||||||||||||
| Номер на рисунке | Артикул | Наименование | Кол-во на складе | Цена | |
| 1 | 17710-881-000ZA | Топливный коннектор *b9 * (Connector, fuel *b9 *) | под заказ | 3360 руб. | |
| 2 | 17711-881-000 | Колпачок топливного коннектора (Cap, fuel joint) | под заказ | по запросу | |
| 3 | 17951-921-030 | Регулятор дросселя (Knob, choke) | под заказ | 1520 руб. | |
| 4 | 17953-921-010 | Рукоятка регулятора дросселя (Guide, choke knob) | под заказ | по запросу | |
| 5 | 24210-921-000 | Нажимная пружина (Spring, click) | под заказ | по запросу | |
| 6 | 24610-881-010 | Переключающий вал (Shaft comp., shift) | под заказ | 5320 руб. | |
| 7 | 24612-881-020 | Рычаг переключения передач (Arm, gearshift) | под заказ | по запросу | |
| 8 | 24621-921-010 | Втулка вала (Bush, shaft) | под заказ | 760 руб. | |
| 10 | 35110-881-000 | Пластина щита переключателя (Plate, switch shield) | под заказ | по запросу | |
| 11 | 35120-881-000 | Пластина настройки переключателя (Plate comp., switch setting) | под заказ | по запросу | |
| 19 | 50281-921-000ZB | Ручка для переноски *b9 * (Handle, carrying *b9 *) | под заказ | по запросу | |
| 20 | 63201-935-000ZB | Рычаг блокировки капота двигателя *b9 * (Lever, cover lock *b9 *) | под заказ | по запросу | |
| 21 | 63202-881-000 | Крюк блокировки капота (Hook, cover lock) | под заказ | по запросу | |
| 22 | 63203-935-000 | Шайба блокировки крышки (Washer, cover lock) | под заказ | по запросу | |
| 23 | 63205-920-000 | Втулка блокировки капота (Bush, cover lock) | под заказ | 690 руб. | |
| 24 | 90016-920-000 | Фланцевый болт, 6x12 (Bolt, flange, 6x12) | под заказ | 430 руб. | |
| 26 | 90302-921-000 | Шестигранная гайка, 16 мм (Nut, hex., 16mm) | 2 шт | 570 руб. | |
| 27 | 90455-881-000 | Пружина рычага (Spring, lever) | под заказ | 510 руб. | |
| 28 | 90504-921-010 | Плоская шайба, 6 мм (Washer, plain, 6mm) | 6 шт | 330 руб. | |
| 30 | 90518-921-000 | Плоская шайба, 8 мм (Washer, plain, 8mm) | под заказ | 150 руб. | |
| 31 | 90511-921-000 | Плоская шайба, 10 мм (Washer, plain, 10mm) | 1 шт | 180 руб. | |
| 32 | 90512-921-010 | Шайба, 6 мм (Washer, 6mm) | 6 шт | 380 руб. | |
| 34 | 90754-921-010 | Штифт, 5x17 (Pin, 5x17) | под заказ | 790 руб. | |
| 35 | 90756-921-000 | Стопорный шплинт, 1.6 мм (Pin, split, 1.6mm) | под заказ | 130 руб. | |
| 36 | 92000-06012-0B | Болт под шестигранник., 6x12 (Bolt, hex., 6x12) | под заказ | по запросу | |
| 36 | 92101-06012-0B | Болт под шестигранник., 6x12 (Bolt, hex., 6x12) | под заказ | по запросу | |
| 37 | 92000-06016-0B | Болт под шестигранник., 6x16 (Bolt, hex., 6x16) | под заказ | по запросу | |
| 37 | 92101-06016-0B | Болт под шестигранник., 6x16 (Bolt, hex., 6x16) | под заказ | 170 руб. | |
| 38 | 92000-06020-4J | Болт под шестигранник., 6x20 (Bolt, hex., 6x20) | под заказ | по запросу | |
| 38 | 92101-06020-4J | Болт под шестигранник., 6x20 (Bolt, hex., 6x20) | под заказ | 240 руб. | |
| 39 | 92000-06028-4J | Болт под шестигранник., 6x28 (Bolt, hex., 6x28) | под заказ | по запросу | |
| 40 | 92000-08028-4J | Болт под шестигранник., 8x28 (Bolt, hex., 8x28) | под заказ | по запросу | |
| 41 | 92000-08032-4J | Болт под шестигранник., 8x32 (Bolt, hex., 8x32) | под заказ | по запросу | |
| 43 | 93500-050-204-J | Винт (Screw) | под заказ | 110 руб. | |
| 44 | 9501462100 | Ремешок провода B1 (Band b1, wire) | под заказ | 310 руб. | |
Время выполнения запроса 2.5458271503448 сек.
склад запчастей для водомоторной техники