вконтакте

Контактный телефон: +7 (981) 121-46-93, +7 (800) 200-90-76 , Email: parts-katalog@yandex.ru, где купить

 
 

  Логин:

Пароль:

Регистрация

www.partskatalog.ru Все каталоги Запчасти Mercury Запчасти Suzuki Запчасти Tohatsu Запчасти Honda Контакты



УВАЖАЕМЫЕ КЛИЕНТЫ!
C 19 ДЕКАБРЯ 2025 ПО 02 МАРТА 2026 ГОДА ОТДЕЛ ЗАПЧАСТЕЙ И СЕРВИС РАБОТАТЬ НЕ БУДУТ
ПРОДАЖА ЛОДОЧНЫХ МОТОРОВ В ШТАТНОМ РЕЖИМЕ
ОБ ИЗМЕНЕНИЯХ В ГРАФИКЕ РАБОТЫ ЧИТАЙТЕ НА САЙТА



назад Раздел:  

Модификация Вашего двигателя:   Honda BF10D4 SRU
Модели с серийным номером двигателя от BEABJ-2000001 до BEABJ-
Модели с серийным номером рамы от BABJ-1300001 до BABJ-

Вернуться к выбору узлов мотора

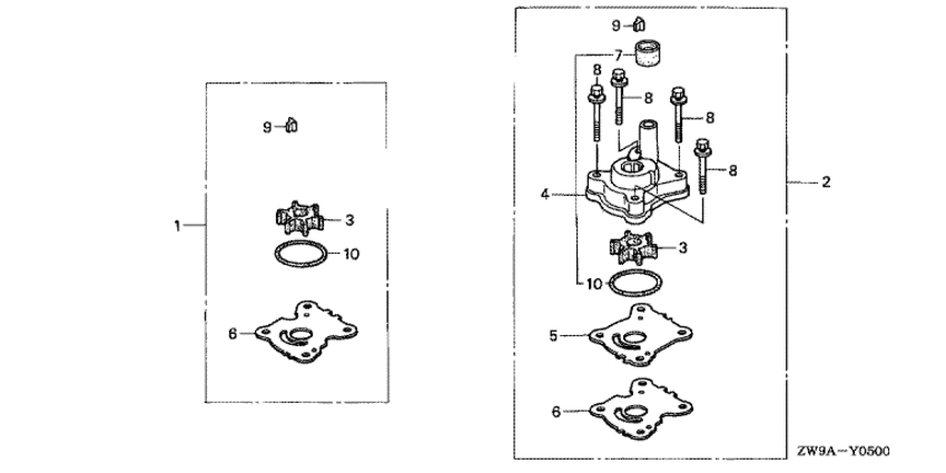
   Наборы для ремонта водяного насоса
Pump Impeller Kit      


ДЕТАЛИРОВКА ДЛЯ МОДЕЛИ: HONDA BF10D4

Подвесной 4-тактный двигатель BF10D4 - Наборы для ремонта водяного насоса / Pump Impeller Kit
Номер на
рисунке
АртикулНаименованиеКол-во
на складе
Цена
106192-ZW9-000

Ремкомплект водяной помпы (Pump kit, impeller)

2 шт3960 руб. 
206193-ZW9-010

Ремкомплект водяной помпы (Pump kit, impeller)

под заказ10800 руб. 
206193-ZW9-020

Ремкомплект водяной помпы (Pump kit, impeller)

под заказ10300 руб. 
319210-ZW9-013

Крыльчатка водяной помпы (s, l) (Impeller, pump (s,l))

6 шт3350 руб. 
3SK19210-ZW9-013

   (не оригинальный аналог) Крыльчатка Standard Skipper для Honda BF8D-9.9D

0 шт698 руб.
419215-ZW9-010

Корпус крыльчатки, в сборе (Housing assy., impeller)

под заказ9370 руб. 
419215-ZW9-020

(последний код) HOUSING ASSY., IMPELLER

под заказ9370 руб. 
519231-ZW9-000

Колпак крыльчатки (Cover, impeller)

3 шт1530 руб. 
619232-ZW9-000

Прокладка крыльчатки (Gasket, impeller)

4 шт350 руб. 
719253-ZW9-000

Кольцо сальника водяной трубки (Ring, water tube seal)

3 шт690 руб. 
890121-ZW9-000

Болт с шайбой, 6x50 (Bolt-washer, 6x50)

9 шт610 руб. 
990752-ZW9-000

Ключ, woodruff (Key, woodruff)

4 шт520 руб. 
1091301-ZG3-000

Уплотнительное кольцо, 42.2x2.4 (O-ring, 42.2x2.4)

18 шт320 руб. 

Время выполнения запроса 0.46283602714539 сек.

 
 

данный сайт носит информационный характер и не является публичной офертой

склад запчастей для водомоторной техники