вконтакте

Контактный телефон: +7 (981) 121-46-93, +7 (800) 200-90-76 , Email: parts-katalog@yandex.ru, где купить

 
 

  Логин:

Пароль:

Регистрация

www.partskatalog.ru Все каталоги Запчасти Mercury Запчасти Suzuki Запчасти Tohatsu Запчасти Honda Контакты

назад Раздел:   вперёд

Модификация Вашего двигателя:   Honda BF10D4 SRU
Модели с серийным номером двигателя от BEABJ-2000001 до BEABJ-
Модели с серийным номером рамы от BABJ-1300001 до BABJ-

Вернуться к выбору узлов мотора

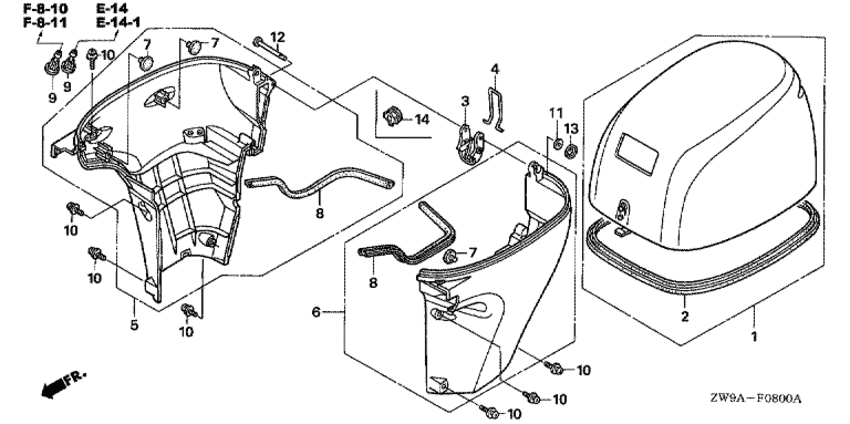
   Крышка двигателя (капот)
Engine Cover      


ДЕТАЛИРОВКА ДЛЯ МОДЕЛИ: HONDA BF10D4

Подвесной 4x-тактный двигатель Honda BF10D4 - Engine Cover - Крышка двигателя (капот)
Номер на
рисунке
АртикулНаименованиеКол-во
на складе
Цена
163100-ZW9-040ZA

Копот двигателя, комплект *nh282mu * (Cover comp., engine *nh282mu *)

под заказ51130 руб. 
263102-ZW9-310

Резинка капота двигателя (Seal, engine cover)

под заказ5610 руб. 
363232-ZW9-010

Рычаг защёлки (Lever, fastener)

1 шт1820 руб. 
363232-ZW9-020

(последний код) LEVER, FASTENER

6 шт1900 руб. 
463236-ZW9-010

Проволока защёлки (3.2) (Wire, fastener (3.2))

6 шт660 руб. 
563710-ZW9-020ZA

Крышка нижней правой части двигателя *nh282mu * (Cover comp., r. under engine *nh282mu *)

под заказпо запросу 
663715-ZW9-010ZA

Крышка нижней левой части двигателя *nh282mu * (Cover comp., l. under engine *nh282mu *)

под заказпо запросу 
763718-ZW9-000

Резиновая подушка (Rubber, cushion)

под заказ400 руб. 
863719-ZW9-000

Сальник снизу корпуса двигателя (Seal, under cover)

под заказ1420 руб. 
982873-ZV5-000

Пыльник контроля воды (Grommet, water check)

5 шт1430 руб. 
1090181-ZW9-010

Болт с шайбой, гнездо, 5x10 (Bolt-washer, socket, 5x10)

2 шт220 руб. 
1190502-ZV4-000

Плоская шайба, 5 мм (Washer, plain, 5mm)

2 шт550 руб. 
1290754-ZW9-000

Штифт, 5x47 (Pin, 5x47)

3 шт660 руб. 
1391452-ZW9-000

Ограничительное кольцо (Ring, stopper)

3 шт300 руб. 

Время выполнения запроса 0.6218569278717 сек.

 
 

данный сайт носит информационный характер и не является публичной офертой

склад запчастей для водомоторной техники