вконтакте

Контактный телефон: +7 (981) 121-46-93, +7 (800) 200-90-76 , Email: parts-katalog@yandex.ru, где купить

 
 

  Логин:

Пароль:

Регистрация

www.partskatalog.ru Все каталоги Запчасти Mercury Запчасти Suzuki Запчасти Tohatsu Запчасти Honda Контакты

назад Раздел:   вперёд

Модификация Вашего двигателя:   Honda BF10D4 LHSU
Модели с серийным номером двигателя от BEABJ-2000001 до BEABJ-
Модели с серийным номером рамы от BABJ-1300001 до BABJ-

Вернуться к выбору узлов мотора

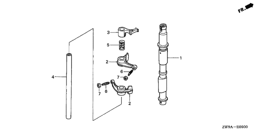
   Распределительный вал
Camshaft      


ДЕТАЛИРОВКА ДЛЯ МОДЕЛИ: HONDA BF10D4

Подвесной лодочный 4x-тактный двигатель BF10D4 - Распределительный вал - Camshaft
Номер на
рисунке
АртикулНаименованиеКол-во
на складе
Цена
114110-ZW9-000

Распределительный вал, комплект (Camshaft comp.)

под заказ27110 руб. 
214431-ZW9-000

Плечо коромысла клапана (Arm, valve rocker)

3 шт3870 руб. 
314436-ZW9-003

Рычаг коромысла топливного насоса (Arm, fuel pump rocker)

1 шт3450 руб. 
414461-ZW9-000

Вал коромысла (Shaft, rocker arm)

под заказ2720 руб. 
514481-ZW9-000

Пружина коромысла (Spring, rocker arm)

под заказ660 руб. 
690012-333-000

Винт регулировки толкателя клапана (Screw, tappet adjusting)

1 шт360 руб. 
790206-001-000

Гайка регулировки толкателя клапана (Nut, tappet adjusting)

1 шт110 руб. 

Время выполнения запроса 0.24650597572327 сек.

 
 

данный сайт носит информационный характер и не является публичной офертой

склад запчастей для водомоторной техники