вконтакте

Контактный телефон: +7 (981) 121-46-93, +7 (800) 200-90-76 , Email: parts-katalog@yandex.ru, где купить

 
 

  Логин:

Пароль:

Регистрация

www.partskatalog.ru Все каталоги Запчасти Mercury Запчасти Suzuki Запчасти Tohatsu Запчасти Honda Контакты



УВАЖАЕМЫЕ КЛИЕНТЫ!
C 19 ДЕКАБРЯ 2025 ПО 02 МАРТА 2026 ГОДА ОТДЕЛ ЗАПЧАСТЕЙ И СЕРВИС РАБОТАТЬ НЕ БУДУТ
ПРОДАЖА ЛОДОЧНЫХ МОТОРОВ В ШТАТНОМ РЕЖИМЕ
ОБ ИЗМЕНЕНИЯХ В ГРАФИКЕ РАБОТЫ ЧИТАЙТЕ НА САЙТА



назад Раздел:   вперёд

Модификация Вашего двигателя:   Honda BF10D4 SHK
Модели с серийным номером двигателя от BEABJ-2000001 до BEABJ-
Модели с серийным номером рамы от BABJ-1300001 до BABJ-1399999

Вернуться к выбору узлов мотора

   Румпель
Steering Handle      


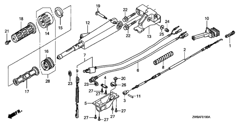
ДЕТАЛИРОВКА ДЛЯ МОДЕЛИ: HONDA BF10D4

Лодочный  мотор BF10D4 - Steering Handle / Румпель
Номер на
рисунке
АртикулНаименованиеКол-во
на складе
Цена
117838-ZW9-000

Стержень подъёмного механизма (Linkage, pivot)

под заказ1410 руб. 
217910-ZW9-003

Тросик дросселя (Cable comp., throttle)

1 шт5810 руб. 
217910-ZW9-013

Тросик дросселя (Cable comp., throttle)

под заказ5810 руб. 
217910-ZW9-023

(последний код) CABLE COMP., THROTTLE

под заказ5810 руб. 
317917-ZW9-000

Стержень кабеля дросселя (Pivot, throttle cable)

3 шт1290 руб. 
424625-ZV5-010

Пластина переключателя (Plate, shift)

под заказ500 руб. 
735180-ZW9-003

Выключатель - аварийный останов двигателя, в сборе (Switch assy., emergency stop)

под заказ10300 руб. 
735180-ZW9-023

(последний код) SWITCH ASSY., EMERGENCY S

под заказ10300 руб. 
735180-ZW9-013

Выключатель - аварийный останов двигателя, в сборе (Switch assy., emergency stop)

под заказ10300 руб. 
836105-ZW9-003

Спиральная трубка B (Tube, spiral b)

под заказ910 руб. 
936182-ZV4-650

Шнур аварийной остановки двигателя (Cord comp., emergency)

под заказ3330 руб. 
936182-ZV4-651

(последний код) CORD COMP., EMERGENCY

под заказ3330 руб. 
1040105-ZV4-000

Пыльник масляного картера (a) (Grommet, oil case (a))

под заказ3010 руб. 
1153103-ZW9-000

Штифт кабеля дросселя (Pin, throttle cable)

под заказ500 руб. 
1253110-ZW9-010ZA

Ручка румпеля *nh246 * (Handle comp., steering *nh246 *)

под заказ26040 руб. 
1353131-ZW9-000ZA

Кронштейн рулевого управления handle *nh246 * (Bracket, steering handle *nh246 *)

под заказ19930 руб. 
1353131-ZW9-C00ZA

(последний код) BRACKET, STEERING HANDLE

под заказ16000 руб. 
1553133-ZW9-000

Фрикционная колодка дросселя (Pad, throttle friction)

1 шт1200 руб. 
1753141-ZW9-000

Трубка рукоятки (Pipe, grip)

под заказ5000 руб. 
1853165-ZW9-000

Резинка рукоятки (Rubber, grip)

1 шт2100 руб. 
1953171-ZW9-000

Винт вращения рукоятки (Screw, handle pivot)

под заказ1410 руб. 
2190102-ZW9-000

Фланцевый болт, 6x12 (Bolt, flange, 6x12)

5 шт460 руб. 
2290165-ZW9-000

Болт с шайбой, 10x55 (Bolt-washer, 10x55)

под заказ2040 руб. 
2390302-921-000

Шестигранная гайка, 16 мм (Nut, hex., 16mm)

2 шт570 руб. 
2490305-ZV4-000

Гайка с замком, 8 мм (Nut, self-lock, 8mm)

под заказ550 руб. 
2590514-921-000

Шайба, 8 мм (Washer, 8mm)

2 шт320 руб. 
2793903-243J0

Винт (Screw)

под заказ140 руб. 
2853130-ZW9-000

Рукоятка в сборе, контроль дросселя (Grip assy., throttle friction)

1 шт5040 руб. 

Время выполнения запроса 1.9236028194427 сек.

 
 

данный сайт носит информационный характер и не является публичной офертой

склад запчастей для водомоторной техники