Контактный телефон: +7 (981) 121-46-93, +7 (800) 200-90-76 , Email: parts-katalog@yandex.ru, где купить |
Модификация Вашего двигателя: Honda BFP10D1 XHSD; Power Thrust Вернуться к выбору узлов мотора Картер коробки передач / Удлинение корпуса |
|||||||||||||||||||||||||||||||||||||||||||||||||||||||||||||||||||||||||||||||||||||||||||||||||||||||||||||||||||||||||||||||||||||||||||||||||||||||||||||||||||||||||||||||
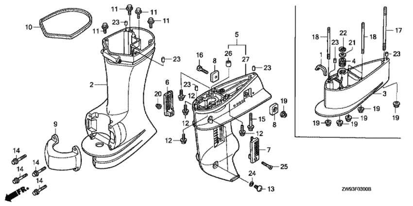
| Номер на рисунке | Артикул | Наименование | Кол-во на складе | Цена | |
| 1 | 19243-ZW9-000 | Пыльник корпуса водяной помпы (Grommet, water pump housing) | под заказ | 1140 руб. | |
| 2 | 40201-ZW9-630ZA | Удлинитель копуса (l) *nh282mu * (Case, extension (l) *nh282mu *) | под заказ | 99490 руб. | |
| 3 | 40202-ZW9-A30ZA | Удлинение корпуса (ul) *nh282mu * (Separator, extension (ul) *nh282mu *) | под заказ | 90810 руб. | |
| 4 | 40210-ZW9-A30 | Втулка вертикального вала (Bush comp., vertical shaft) | под заказ | 2780 руб. | |
| 5 | 41100-ZW9-A30ZA | Корпус "ноги" (ul) *nh282mu * (Case comp., gear (ul) *nh282mu *) | под заказ | по запросу | |
| 6 | 41104-ZV5-000 | Экран для воды, правый (Screen, r. water) | 1 шт | 1520 руб. | |
| 7 | 41105-ZV5-000 | Экран для воды, левый (Screen, l. water) | 1 шт | 1400 руб. | |
| 8 | 41106-ZW9-000 | Металлический анод (Metal, anode) | 2 шт | 1790 руб. | |
| 9 | 50111-ZW9-000ZA | Кожух, установленный снизу *nh282mu * (Housing, lower mounting *nh282mu *) | под заказ | 8760 руб. | |
| 10 | 63702-ZW9-000 | Резинка нижней части корпуса (Rubber, under cover) | под заказ | 1070 руб. | |
| 11 | 90008-ZW9-000 | Фланцевый болт, 8x35 (Bolt, flange, 8x35) | под заказ | 900 руб. | |
| 13 | 90101-ZW9-000 | Болт контроля уровня масла (Bolt, oil check) | под заказ | 680 руб. | |
| 13 | 90101-ZW9-003 | (последний код) BOLT, OIL CHECK | под заказ | 790 руб. | |
| 14 | 90105-ZW9-000 | Фланцевый болт, 6x20 (Bolt, flange, 6x20) | 2 шт | 640 руб. | |
| 16 | 90113-ZV5-000 | Болт под шестигранник., 6x25 (Bolt, hex., 6x25) | под заказ | 380 руб. | |
| 17 | 90124-ZW9-A30 | Болт под шпильку, 6x211 (Bolt, stud, 6x211) | под заказ | по запросу | |
| 18 | 90125-ZW9-A30 | Болт под шпильку, 6x162 (Bolt, stud, 6x162) | под заказ | по запросу | |
| 19 | 90205-PP9-020 | Гайка с замком, 6 мм (Nut, self-lock, 6mm) | под заказ | 1360 руб. | |
| 20 | 90302-ZV4-000 | Гайка с замком, 5 мм (Nut, self-lock, 5mm) | под заказ | 1270 руб. | |
| 21 | 90501-ZV5-A10 | Шайба, 20 мм (Washer, 20mm) | под заказ | 480 руб. | |
| 22 | 90651-ZV5-A10 | Внутреннее стопорное кольцо, 30 мм (Circlip, internal, 30mm) | под заказ | 360 руб. | |
| 23 | 90756-ZV5-000 | Шпонка, 6x10 (Dowel pin, 6x10) | 1 шт | 220 руб. | |
| 24 | 91301-216-000 | Уплотнительное кольцо, 5.5x1.5 (O-ring, 5.5x1.5) | 7 шт | 150 руб. | |
| 25 | 93700-050-284-J | Овальный винт, 5x28 (Screw, oval, 5x28) | под заказ | 330 руб. | |
| 26 | 41103-935-003 | Подшипник, игольчатый, 15x21x16 (Bearing, needle, 15x21x16) | под заказ | 1600 руб. | |
| 27 | 41101-ZW9-A30ZA | Картер коробки передач (ul) *nh282mu * (Case, gear (ul) *nh282mu *) | под заказ | по запросу | |
Время выполнения запроса 0.97622299194336 сек.
склад запчастей для водомоторной техники