вконтакте

Контактный телефон: +7 (981) 121-46-93, +7 (800) 200-90-76 , Email: parts-katalog@yandex.ru, где купить

 
 

  Логин:

Пароль:

Регистрация

www.partskatalog.ru Все каталоги Запчасти Mercury Запчасти Suzuki Запчасти Tohatsu Запчасти Honda Контакты



УВАЖАЕМЫЕ КЛИЕНТЫ!
C 19 ДЕКАБРЯ 2025 ПО 02 МАРТА 2026 ГОДА ОТДЕЛ ЗАПЧАСТЕЙ И СЕРВИС РАБОТАТЬ НЕ БУДУТ
ПРОДАЖА ЛОДОЧНЫХ МОТОРОВ В ШТАТНОМ РЕЖИМЕ
ОБ ИЗМЕНЕНИЯХ В ГРАФИКЕ РАБОТЫ ЧИТАЙТЕ НА САЙТА



назад Раздел:   вперёд

Модификация Вашего двигателя:   Honda BF10D1 LHE
Модели с серийным номером двигателя от BEABJ-1000001 до BEABJ-9999999
Модели с серийным номером рамы от BABJ-1000001 до BABJ-1099999

Вернуться к выбору узлов мотора

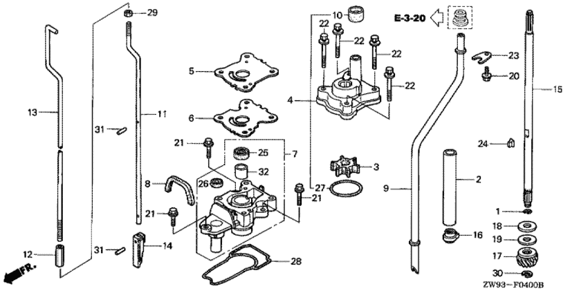
   Водяной насос / Вертикальный вал (l size)
Water Pump / Vertical Shaft (l Size)      


ДЕТАЛИРОВКА ДЛЯ МОДЕЛИ: HONDA BF10D1

Подвесной 4-тактный двигатель Хонда BF10D1 - Water Pump / Vertical Shaft (l Size) / Водяной насос / Вертикальный вал (l size)
Номер на
рисунке
АртикулНаименованиеКол-во
на складе
Цена
112216-ZE2-300

Зажим направляющей клапана (Clip, valve guide)

3 шт260 руб. 
215332-ZW9-000

Направляющая масла (s, l) (Guide, oil (s,l))

под заказ1500 руб. 
319210-ZW9-003

Крыльчатка водяной помпы (s, l) (Impeller, pump (s,l))

под заказ3360 руб. 
319210-ZW9-013

(последний код) IMPELLER, PUMP (S,L)

6 шт3350 руб. 
419215-ZW9-000

Корпус крыльчатки, в сборе (Housing assy., impeller)

под заказ9370 руб. 
419215-ZW9-020

(последний код) HOUSING ASSY., IMPELLER

под заказ9370 руб. 
519231-ZW9-000

Колпак крыльчатки (Cover, impeller)

3 шт1530 руб. 
619232-ZW9-000

Прокладка крыльчатки (Gasket, impeller)

4 шт350 руб. 
719240-ZW9-000

Корпус водяной помпы, комплект (s, l) (Housing comp., water pump (s,l))

под заказ11470 руб. 
719240-ZW9-C00

(последний код) HOUSING COMP., WATER PUMP

под заказ11470 руб. 
819243-ZW9-000

Пыльник корпуса водяной помпы (Grommet, water pump housing)

под заказ1140 руб. 
919251-ZW9-630

Водяная трубка (l) (Tube, water (l))

под заказ6170 руб. 
1019253-ZW9-000

Кольцо сальника водяной трубки (Ring, water tube seal)

3 шт690 руб. 
1124311-ZW9-630

Переключающая тяга B (l) (Rod b, shift (l))

под заказпо запросу 
1224312-ZV7-000

Соеденитель переключающей тяги (Joint, shift rod)

под заказ2350 руб. 
1324320-ZW9-630

Переключающая тяга A (l) (Rod a, shift (l))

под заказпо запросу 
1424341-ZW9-300

Тяга толкателя (Rod, push)

под заказ3980 руб. 
1424341-ZY1-C00

(последний код) ROD, PUSH

1 шт3980 руб. 
1541112-ZW9-630

Вертикальный вал (l) (Shaft, vertical (l))

под заказ33010 руб. 
1541112-ZW9-C10

(последний код) SHAFT, VERTICAL (L)

под заказ33010 руб. 
1641116-ZW9-000

Маслоотражатель (s, l) (Slinger, oil (s,l))

под заказ1640 руб. 
1741131-ZW9-000

Шестерня (Gear, pinion)

2 шт9420 руб. 
1841135-ZW9-000

Шайба A упорного подшипника (Washer a, thrust bearing)

под заказ1280 руб. 
1941136-ZW9-000

Шайба B упорного подшипника (Washer b, thrust bearing)

под заказ1280 руб. 
1941137-ZW9-000

Шайба C упорного подшипника (Washer c, thrust bearing)

под заказ1280 руб. 
2090102-ZW9-000

Фланцевый болт, 6x12 (Bolt, flange, 6x12)

5 шт460 руб. 
2190105-ZW9-000

Фланцевый болт, 6x20 (Bolt, flange, 6x20)

2 шт640 руб. 
2290121-ZW9-000

Болт с шайбой, 6x50 (Bolt-washer, 6x50)

9 шт610 руб. 
2390515-ZW9-000

Пластина для установки водяной трубки (Plate, water tube setting)

под заказ580 руб. 
2490752-ZW9-000

Ключ, woodruff (Key, woodruff)

4 шт520 руб. 
2591252-ZV1-003

Сальник, 13 мм (arai) (Seal, water, 13mm (arai))

4 шт850 руб. 
2691253-ZW9-003

Сальник, 6 мм (Seal, water, 6mm)

22 шт1150 руб. 
2791301-ZG3-000

Уплотнительное кольцо, 42.2x2.4 (O-ring, 42.2x2.4)

18 шт320 руб. 
2891351-ZW9-000

Уплотнительное кольцо корпуса водяной помпы (O-ring, water pump housing)

10 шт1250 руб. 
2994001-064-900-S

Гайка (Nut)

под заказ200 руб. 
3094540-08018

Уплотнительное кольцо (E-ring)

5 шт450 руб. 
3196220-25118

Ролик, 2.5x11.8 (Roller, 2.5x11.8)

под заказ50 руб. 
3291553-ZW9-300

Втулка, 13x15x15 (Bush, 13x15x15)

под заказ1290 руб. 
3291553-ZW9-310

(последний код) BUSH, 13X15X15

2 шт1290 руб. 

Время выполнения запроса 2.135922908783 сек.

 
 

данный сайт носит информационный характер и не является публичной офертой

склад запчастей для водомоторной техники