Контактный телефон: +7 (981) 121-46-93, +7 (800) 200-90-76 , Email: parts-katalog@yandex.ru, где купить |
Модификация Вашего двигателя: Honda BF100A LC Вернуться к выбору узлов мотора Удлинение корпуса / Картер коробки передач / Переключающая тяга |
|||||||||||||||||||||||||||||||||||||||||||||||||||||||||||||||||||||||||||||||||||||||||||||||||||||||||||||||||||||||||||||||||||||||||||||||||||||||||||||||||||||||||||||||||||||||||||||||||||||||||||||||||||||||||||||||||||||||||||||||||||||||||||||
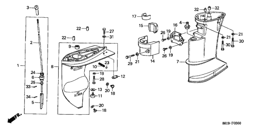
| Номер на рисунке | Артикул | Наименование | Кол-во на складе | Цена | |
| 1 | 24310-881-700 | Тяга переключения передач, комплект (l) (Rod comp., gearshift (l)) | под заказ | по запросу | |
| 2 | 24311-881-700 | Тяга переключения передач (l) (Rod, gearshift (l)) | под заказ | 6780 руб. | |
| 3 | 24312-881-000 | Соеденитель тяги переключения передач (Joint, gearshift rod) | под заказ | 2890 руб. | |
| 4 | 24313-921-003 | Пыльник тяги (arai) (Grommet, rod (arai)) | под заказ | 1200 руб. | |
| 5 | 24341-935-300 | Тяга толкателя (Rod, push) | под заказ | по запросу | |
| 6 | 24343-881-300 | Держатель сальника (Holder, seal) | под заказ | 2660 руб. | |
| 7 | 40201-881-700ZA | Удлинитель копуса (l) *b9 * (Case, extension (l) *b9 *) | под заказ | по запросу | |
| 8 | 41100-881-000ZA | Корпус "ноги" *b9 * (Case comp., gear *b9 *) | под заказ | по запросу | |
| 8 | 41100-881-010ZA | Корпус "ноги" *b9 * (Case comp., gear *b9 *) | под заказ | 40220 руб. | |
| 9 | 41103-935-003 | Подшипник, игольчатый, 15x21x16 (Bearing, needle, 15x21x16) | под заказ | 1600 руб. | |
| 10 | 41104-921-320 | Водяной экран (Screen, water) | под заказ | по запросу | |
| 11 | 41106-881-000 | Металлический анод (Metal comp., anode) | под заказ | по запросу | |
| 12 | 41106-935-811 | Металлический анод (Metal comp., anode) | под заказ | 860 руб. | |
| 12 | 41106-935-812 | (последний код) METAL COMP., ANODE | под заказ | 1040 руб. | |
| 13 | 41107-935-000 | Rubber, insulate (Rubber, insulate) | под заказ | по запросу | |
| 14 | 50121-881-000ZA | Кожух, установленный снизу *b9 * (Housing, lower mounting *b9 *) | под заказ | 3210 руб. | |
| 15 | 50151-881-000 | Резинка А нижнего крепления (Rubber a, lower mounting) | под заказ | 3710 руб. | |
| 16 | 50152-881-000 | Пластина, смонтированная снизу (Plate comp., lower mounting) | под заказ | 3500 руб. | |
| 17 | 50153-881-000 | Резинка B нижнего крепления (Rubber b, lower mounting) | под заказ | 1150 руб. | |
| 18 | 90105-921-000 | Болт контроля уровня масла (Bolt, oil check) | под заказ | 570 руб. | |
| 19 | 90504-921-010 | Плоская шайба, 6 мм (Washer, plain, 6mm) | 6 шт | 330 руб. | |
| 20 | 90507-921-000 | Нейлоновая шайба, 8 мм (Washer, nylon, 8mm) | 14 шт | 120 руб. | |
| 21 | 90518-921-000 | Плоская шайба, 8 мм (Washer, plain, 8mm) | под заказ | 150 руб. | |
| 22 | 90702-881-000 | Шпонка, 8x10 (Dowel pin, 8x10) | под заказ | по запросу | |
| 23 | 90855-921-300 | Заглушка, Сальникing, 10 мм (Plug, sealing, 10mm) | под заказ | 100 руб. | |
| 24 | 91253-921-003 | Гидрозатвор, 6 мм (Water seal, 6mm) | под заказ | 1050 руб. | |
| 25 | 91303-377-000 | Уплотнительное кольцо, 13.8x2.5 (O-ring, 13.8x2.5) | под заказ | 510 руб. | |
| 25 | 91303-MG7-003 | (последний код) O-RING,13.8X2.5 | 3 шт | 510 руб. | |
| 26 | 92000-06012-4J | Болт под шестигранник., 6x12 (Bolt, hex., 6x12) | под заказ | по запросу | |
| 27 | 92000-06016-0B | Болт под шестигранник., 6x16 (Bolt, hex., 6x16) | под заказ | по запросу | |
| 27 | 92101-06016-0B | Болт под шестигранник., 6x16 (Bolt, hex., 6x16) | под заказ | 170 руб. | |
| 28 | 92000-06040-4J | Болт под шестигранник., 6x40 (Bolt, hex., 6x40) | под заказ | 210 руб. | |
| 28 | 92101-06040-4J | Болт под шестигранник, 6x40 (Bolt,hex,6x40) | под заказ | по запросу | |
| 29 | 92000-08040-4J | Болт под шестигранник., 8x40 (Bolt, hex., 8x40) | под заказ | 240 руб. | |
| 30 | 92000-08050-4J | Болт под шестигранник., 8x50 (Bolt, hex., 8x50) | под заказ | по запросу | |
| 31 | 9410106200 | Плоская шайба, 6 мм (Washer, plain, 6mm) | под заказ | 90 руб. | |
| 32 | 94301-10140 | Штифт a (Pin a) | под заказ | 270 руб. | |
| 33 | 94305-25122 | Штифт (Pin) | под заказ | 150 руб. | |
| 34 | 96220-25118 | Ролик, 2.5x11.8 (Roller, 2.5x11.8) | под заказ | 50 руб. | |
Время выполнения запроса 0.73331999778748 сек.
склад запчастей для водомоторной техники