вконтакте

Контактный телефон: +7 (981) 121-46-93, +7 (800) 200-90-76 , Email: parts-katalog@yandex.ru, где купить

 
 

  Логин:

Пароль:

Регистрация

www.partskatalog.ru Все каталоги Запчасти Mercury Запчасти Suzuki Запчасти Tohatsu Запчасти Honda Контакты



УВАЖАЕМЫЕ КЛИЕНТЫ!
C 19 ДЕКАБРЯ 2025 ПО 02 МАРТА 2026 ГОДА ОТДЕЛ ЗАПЧАСТЕЙ И СЕРВИС РАБОТАТЬ НЕ БУДУТ
ПРОДАЖА ЛОДОЧНЫХ МОТОРОВ В ШТАТНОМ РЕЖИМЕ
ОБ ИЗМЕНЕНИЯХ В ГРАФИКЕ РАБОТЫ ЧИТАЙТЕ НА САЙТА



назад Раздел:   вперёд

Модификация Вашего двигателя:   Honda BF100A LC
Модели с серийным номером двигателя от B100-1200155 до B100-1205094
Модели с серийным номером рамы от B100-1200155 до B100-1202804

Вернуться к выбору узлов мотора

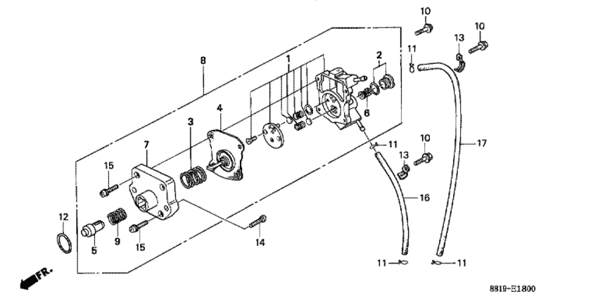
   Топливный насос
Fuel Pump      


ДЕТАЛИРОВКА ДЛЯ МОДЕЛИ: HONDA BF100A

Лодочный 4-тактный мотор BF100A - Fuel Pump / Топливный насос
Номер на
рисунке
АртикулНаименованиеКол-во
на складе
Цена
116015-935-024

Корпус помпы (Body set, pump)

под заказпо запросу 
216016-935-004

Болт set, holding (Bolt set, holding)

под заказпо запросу 
316050-935-024

Пружина, Диафрагма (Spring, diaphragm)

под заказпо запросу 
416181-935-024

Диафрагма (Diaphragm)

под заказ3390 руб. 
516182-935-014

Тяга толкателя (Rod, push)

под заказпо запросу 
616194-935-004

Screen, Топливный фильтр (Screen, fuel strainer)

под заказпо запросу 
716195-935-014

Нижний корпуса (Body, lower)

под заказпо запросу 
816700-935-024

Топливный насос, в сборе (Pump assy., fuel)

под заказ12560 руб. 
916707-882-601

Пружина, Тяга толкателя (Spring, push rod)

под заказпо запросу 
1090123-881-000

Фланцевый болт, 6x28 (Bolt, flange, 6x28)

под заказпо запросу 
1190602-921-000

Зажим трубки (b8) (Clip, tube (b8))

под заказ270 руб. 
1291306-921-000

Уплотнительное кольцо, 20.8x2.4 (O-ring, 20.8x2.4)

под заказ440 руб. 
1291351-MG7-003

(последний код) O-RING 20.6X2.4

3 шт440 руб. 
1391403-881-000

Зажим тросика B (Clip b, cord)

под заказ960 руб. 
1493500-060200B

Винт с чашечкой, 6x20 (Screw, pan, 6x20)

под заказпо запросу 
1493500-060200H

Винт с чашечкой (6x20) (Screw, pan (6x20))

под заказпо запросу 
1593892-040-160-8

Винт с шайбой (Screw-washer)

под заказ100 руб. 
1695001-453-204-0

Топливный шланг, 4.5x320 (95001-45001-60m) (Tube, fuel, 4.5x320 (95001-45001-60m))

под заказ750 руб. 
1795001-454-004-0

Топливный шланг, 4.5x400 (95001-45001-60m) (Tube, fuel, 4.5x400 (95001-45001-60m))

под заказ790 руб. 

Время выполнения запроса 1.2762379646301 сек.

 
 

данный сайт носит информационный характер и не является публичной офертой

склад запчастей для водомоторной техники