вконтакте

Контактный телефон: +7 (981) 121-46-93, +7 (800) 200-90-76 , Email: parts-katalog@yandex.ru, где купить

 
 

  Логин:

Пароль:

Регистрация

www.partskatalog.ru Все каталоги Запчасти Mercury Запчасти Suzuki Запчасти Tohatsu Запчасти Honda Контакты



УВАЖАЕМЫЕ КЛИЕНТЫ!
C 19 ДЕКАБРЯ 2025 ПО 02 МАРТА 2026 ГОДА ОТДЕЛ ЗАПЧАСТЕЙ И СЕРВИС РАБОТАТЬ НЕ БУДУТ
ПРОДАЖА ЛОДОЧНЫХ МОТОРОВ В ШТАТНОМ РЕЖИМЕ
ОБ ИЗМЕНЕНИЯХ В ГРАФИКЕ РАБОТЫ ЧИТАЙТЕ НА САЙТА



назад Раздел:   вперёд

Модификация Вашего двигателя:   Honda BF8D4 LHSU
Модели с серийным номером двигателя от BEAAJ-2000001 до BEAAJ-
Модели с серийным номером рамы от BAAJ-1300001 до BAAJ-

Вернуться к выбору узлов мотора

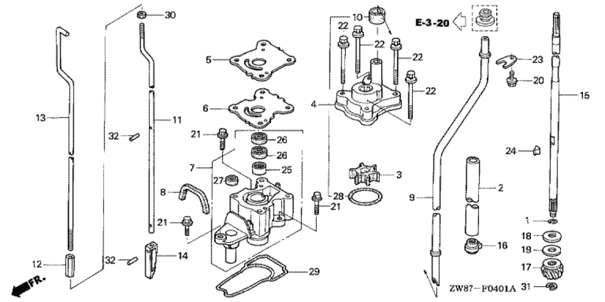
   Водяной насос / Вертикальный вал (ul size)
Water Pump / Vertical Shaft (ul Size)      


ДЕТАЛИРОВКА ДЛЯ МОДЕЛИ: HONDA BF8D4

Подвесной лодочный 4x-тактный двигатель HONDA BF8D4 - Water Pump / Vertical Shaft (ul Size) / Водяной насос / Вертикальный вал (ul size)

Время выполнения запроса 0.20273399353027 сек.

 
 

данный сайт носит информационный характер и не является публичной офертой

склад запчастей для водомоторной техники