вконтакте

Контактный телефон: +7 (981) 121-46-93, +7 (800) 200-90-76 , Email: parts-katalog@yandex.ru, где купить

 
 

  Логин:

Пароль:

Регистрация

www.partskatalog.ru Все каталоги Запчасти Mercury Запчасти Suzuki Запчасти Tohatsu Запчасти Honda Контакты



УВАЖАЕМЫЕ КЛИЕНТЫ!
C 19 ДЕКАБРЯ 2025 ПО 02 МАРТА 2026 ГОДА ОТДЕЛ ЗАПЧАСТЕЙ И СЕРВИС РАБОТАТЬ НЕ БУДУТ
ПРОДАЖА ЛОДОЧНЫХ МОТОРОВ В ШТАТНОМ РЕЖИМЕ
ОБ ИЗМЕНЕНИЯХ В ГРАФИКЕ РАБОТЫ ЧИТАЙТЕ НА САЙТА



назад Раздел:   вперёд

Модификация Вашего двигателя:   Honda BF8AM SC
Модели с серийным номером двигателя от BACE-1200001 до BACE-9999999
Модели с серийным номером рамы от BACS-1200001 до BACS-1212276

Вернуться к выбору узлов мотора

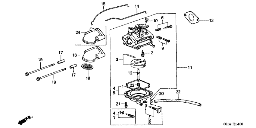
   Карбюратор / Воздуховод
Carburetor / Air Guide      


ДЕТАЛИРОВКА ДЛЯ МОДЕЛИ: HONDA BF8AM

Подвесной четырёх тактный двигатель BF8AM - Карбюратор / Воздуховод / Carburetor / Air Guide
Номер на
рисунке
АртикулНаименованиеКол-во
на складе
Цена
116010-881-003

Прокладка set (Packing set)

под заказ950 руб. 
116010-881-A00

Комплект прокладок (Gasket set)

под заказ1430 руб. 
216011-881-741

Клапан поплавка, набор (Valve set, float)

под заказ7030 руб. 
316013-881-003

Поплавок, набор (Float set)

под заказ5010 руб. 
416015-881-A00

Поплавковая камера, набор (Chamber set, float)

под заказпо запросу 
616016-ZV1-A00

Набор винтов (Screw set)

под заказ1110 руб. 
616016-881-A00

Набор винтов a (Screw set a)

под заказ1590 руб. 
716024-881-A00

Дренажный винт, комплект (Screw set, drain)

под заказ2400 руб. 
916028-881-A00

Набор винтов b (Screw set b)

под заказ1680 руб. 
916028-ZV4-650

(последний код) SCREW SET

под заказ1680 руб. 
1099103-881-0420

Форсунка (#42) (Jet comp. (#42))

под заказ1590 руб. 
1116100-881-A01

Карбюратор в сборе. (bc01f b) (Carburetor assy. (bc01f b))

под заказ25500 руб. 
1216166-881-A00

Главная форсунка (Nozzle, main)

под заказпо запросу 
1316201-881-000

Прокладка карбюратора (Packing, carburetor)

под заказ170 руб. 
1316201-881-850

Прокладка карбюратора (Packing, carburetor)

под заказ230 руб. 
1416593-881-010

Тяга дросселя (Rod, throttle)

под заказпо запросу 
1516622-881-000

Тяга дросселя (Rod, choke)

под заказпо запросу 
1617201-881-A00

Направляющая воздуховода (Guide, air)

под заказпо запросу 
1717202-921-000

Промежуточный воротник (Collar, distance)

под заказпо запросу 
1817203-881-000

Пламегаситель (Trap, flame)

под заказпо запросу 
1990012-882-000

Фланцевый болт, 6x97 (Bolt, flange, 6x97)

под заказпо запросу 
2090605-921-000

Зажим B7 трубки (Clip b7, tube)

под заказпо запросу 
2116081-ZV1-A00

Винт с чашечкой (Screw, pan)

под заказ230 руб. 
2295001-351-404-0

Топливный шланг, 3.5x140 (95001-35001-60m) (Tube, fuel, 3.5x140 (95001-35001-60m))

под заказпо запросу 
2295003-050-143-1

Виниловая трубка, 3.5x6.5x140 (95003-05001-60m) (Tube, vinyl, 3.5x6.5x140 (95003-05001-60m))

под заказпо запросу 
2399101-ZF5-0820

Главная форсунка, #82 (Jet, main, #82)

под заказ1080 руб. 
2399101-ZF5-0850

Главная форсунка, #85 (Jet, main, #85)

под заказ1080 руб. 
2399101-ZH70850

(последний код) JET, MAIN, #85

под заказ1080 руб. 
2399101-ZF5-0880

Главная форсунка, #88 (Jet, main, #88)

под заказ1080 руб. 
2399101-ZH70880

(последний код) JET, MAIN, #88

под заказ1080 руб. 
2417201-881-C40

Направляющая воздуховода (Guide, air)

под заказпо запросу 

Время выполнения запроса 4.3392851352692 сек.

 
 

данный сайт носит информационный характер и не является публичной офертой

склад запчастей для водомоторной техники