вконтакте

Контактный телефон: +7 (981) 121-46-93, +7 (800) 200-90-76 , Email: parts-katalog@yandex.ru, где купить

 
 

  Логин:

Пароль:

Регистрация

www.partskatalog.ru Все каталоги Запчасти Mercury Запчасти Suzuki Запчасти Tohatsu Запчасти Honda Контакты



УВАЖАЕМЫЕ КЛИЕНТЫ!
C 19 ДЕКАБРЯ 2025 ПО 02 МАРТА 2026 ГОДА ОТДЕЛ ЗАПЧАСТЕЙ И СЕРВИС РАБОТАТЬ НЕ БУДУТ
ПРОДАЖА ЛОДОЧНЫХ МОТОРОВ В ШТАТНОМ РЕЖИМЕ
ОБ ИЗМЕНЕНИЯХ В ГРАФИКЕ РАБОТЫ ЧИТАЙТЕ НА САЙТА



назад Раздел:   вперёд

Модификация Вашего двигателя:   Honda BF6B LGD
Модели с серийным номером двигателя от BALE-1000002 до BALE-9999999
Модели с серийным номером рамы от BALL-1000001 до BALL-1999999

Вернуться к выбору узлов мотора

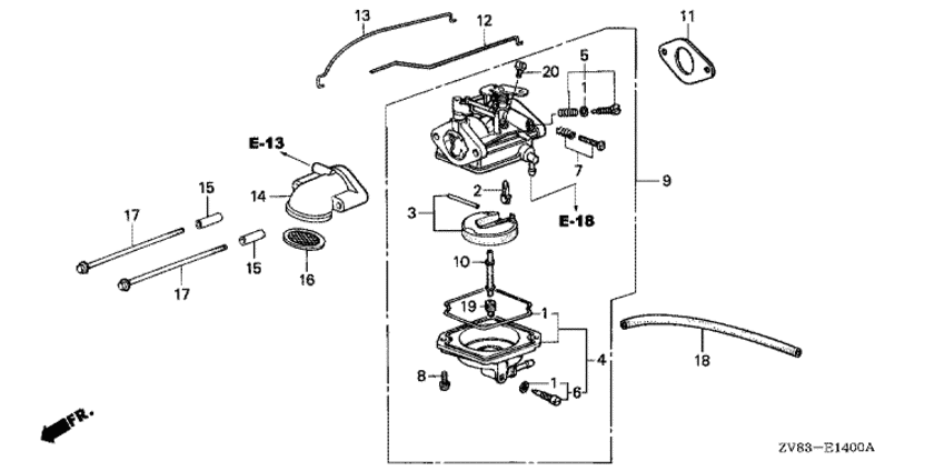
   Карбюратор (bf6b / bx / d6,bf8ax / b / bx)
Carburetor (bf6b / Bx / D6,bf8ax / B / Bx)      


ДЕТАЛИРОВКА ДЛЯ МОДЕЛИ: HONDA BF6B

Подвесной  лодочный мотор BF6B - Карбюратор (bf6b / bx / d6,bf8ax / b / bx) / Carburetor (bf6b / Bx / D6,bf8ax / B / Bx)
Номер на
рисунке
АртикулНаименованиеКол-во
на складе
Цена
116010-881-A00

Комплект прокладок (Gasket set)

под заказ1430 руб. 
216011-881-741

Клапан поплавка, набор (Valve set, float)

под заказ7030 руб. 
316013-881-003

Поплавок, набор (Float set)

под заказ5010 руб. 
416015-881-A00

Поплавковая камера, набор (Chamber set, float)

под заказпо запросу 
516016-881-C40

Набор винтов a (Screw set a)

под заказ1590 руб. 
616024-881-A00

Дренажный винт, комплект (Screw set, drain)

под заказ2400 руб. 
716028-881-A00

Набор винтов b (Screw set b)

под заказ1680 руб. 
716028-ZV4-650

(последний код) SCREW SET

под заказ1680 руб. 
816081-ZV1-A00

Винт с чашечкой (Screw, pan)

под заказ230 руб. 
916100-881-C42

Карбюратор в сборе. (bc11a a) (Carburetor assy. (bc11a a))

под заказпо запросу 
1016166-881-C40

Главная форсунка (Nozzle, main)

под заказпо запросу 
1116201-881-850

Прокладка карбюратора (Packing, carburetor)

под заказ230 руб. 
1216593-881-010

Тяга дросселя (Rod, throttle)

под заказпо запросу 
1316622-881-000

Тяга дросселя (Rod, choke)

под заказпо запросу 
1417201-881-C40

Направляющая воздуховода (Guide, air)

под заказпо запросу 
1517202-921-000

Промежуточный воротник (Collar, distance)

под заказпо запросу 
1617203-881-000

Пламегаситель (Trap, flame)

под заказпо запросу 
1790012-882-000

Фланцевый болт, 6x97 (Bolt, flange, 6x97)

под заказпо запросу 
1895001-351-404-0

Топливный шланг, 3.5x140 (95001-35001-60m) (Tube, fuel, 3.5x140 (95001-35001-60m))

под заказпо запросу 
1895003-050-143-1

Виниловая трубка, 3.5x6.5x140 (95003-05001-60m) (Tube, vinyl, 3.5x6.5x140 (95003-05001-60m))

под заказпо запросу 
1999101-ZH7-0820

Главная форсунка, #82 (Jet, main, #82)

под заказпо запросу 
1999101-ZF5-0820

Главная форсунка, #82 (Jet, main, #82)

под заказ1080 руб. 
1999101-ZF5-0850

Главная форсунка, #85 (Jet, main, #85)

под заказ1080 руб. 
1999101-ZH70850

(последний код) JET, MAIN, #85

под заказ1080 руб. 
2099103-881-0380

Форсунка (#38) (Jet comp. (#38))

под заказ1450 руб. 

Время выполнения запроса 2.5177509784698 сек.

 
 

данный сайт носит информационный характер и не является публичной офертой

склад запчастей для водомоторной техники