вконтакте

Контактный телефон: +7 (981) 121-46-93, +7 (800) 200-90-76 , Email: parts-katalog@yandex.ru, где купить

 
 

  Логин:

Пароль:

Регистрация

www.partskatalog.ru Все каталоги Запчасти Mercury Запчасти Suzuki Запчасти Tohatsu Запчасти Honda Контакты



УВАЖАЕМЫЕ КЛИЕНТЫ!
C 19 ДЕКАБРЯ 2025 ПО 02 МАРТА 2026 ГОДА ОТДЕЛ ЗАПЧАСТЕЙ И СЕРВИС РАБОТАТЬ НЕ БУДУТ
ПРОДАЖА ЛОДОЧНЫХ МОТОРОВ В ШТАТНОМ РЕЖИМЕ
ОБ ИЗМЕНЕНИЯХ В ГРАФИКЕ РАБОТЫ ЧИТАЙТЕ НА САЙТА



назад Раздел:   вперёд

Модификация Вашего двигателя:   Honda BF5A4 SBU
Модели с серийным номером двигателя от BADE-2000001 до BADE-
Модели с серийным номером рамы от BADS-2000001 до BADS-

Вернуться к выбору узлов мотора

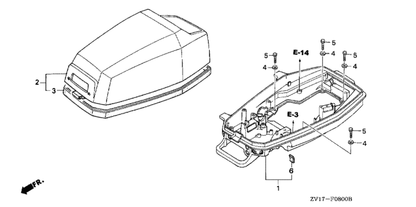
   Крышка двигателя (капот)
Engine Cover      


ДЕТАЛИРОВКА ДЛЯ МОДЕЛИ: HONDA BF5A4

Подвесной  лодочный двигатель Honda BF5A4 - Engine Cover / Крышка двигателя (капот)
Номер на
рисунке
АртикулНаименованиеКол-во
на складе
Цена
140100-ZV1-842ZB

Основной корпус двигателя *nh282mu * (Case comp., engine under *nh282mu *)

под заказ67590 руб. 
140100-ZV1-843ZB

Основной корпус двигателя *nh282mu * (Case comp., engine under *nh282mu *)

под заказ68600 руб. 
104401-ZV1-000ZA

(последний код) KIT UNDE*NH282MU*

под заказ87400 руб. 
263100-ZV1-842ZB

Копот двигателя, комплект *nh282mu * (Cover comp., engine *nh282mu *)

под заказ45420 руб. 
263100-ZV1-843ZB

(последний код) COVER COMP., ENGINE *NH28

под заказ45420 руб. 
363102-ZV1-300

Резинка капота двигателя (Seal, engine cover)

под заказ7030 руб. 
490506-ZV4-000

Плоская шайба, 6 мм (Washer, plain, 6mm)

4 шт380 руб. 
592101-06016-4J

Болт под шестигранник., 6x16 (Bolt, hex., 6x16)

под заказ240 руб. 
650159-ZV1-000

Резиновый демфер (Rubber, damper)

под заказ500 руб. 
140100-ZV1-844ZB

Основной корпус двигателя *nh282mu* (Case comp., engine under *nh282mu*)

под заказ45000 руб. 

Время выполнения запроса 0.78735685348511 сек.

 
 

данный сайт носит информационный характер и не является публичной офертой

склад запчастей для водомоторной техники