вконтакте

Контактный телефон: +7 (981) 121-46-93, +7 (800) 200-90-76 , Email: parts-katalog@yandex.ru, где купить

 
 

  Логин:

Пароль:

Регистрация

www.partskatalog.ru Все каталоги Запчасти Mercury Запчасти Suzuki Запчасти Tohatsu Запчасти Honda Контакты

назад Раздел:   вперёд

Модификация Вашего двигателя:   Honda BF5A2 LC
Модели с серийным номером двигателя от BADE-1300001 до BADE-1399999
Модели с серийным номером рамы от BADS-1700001 до BADS-1799999

Вернуться к выбору узлов мотора

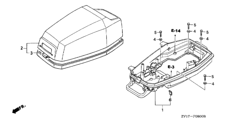
   Крышка двигателя (капот)
Engine Cover      


ДЕТАЛИРОВКА ДЛЯ МОДЕЛИ: HONDA BF5A2

Подвесной  двигатель Honda BF5A2 - Engine Cover - Крышка двигателя (капот)
Номер на
рисунке
АртикулНаименованиеКол-во
на складе
Цена
140100-ZV1-842ZB

Основной корпус двигателя *nh282mu * (Case comp., engine under *nh282mu *)

под заказ67590 руб. 
263100-ZV1-842ZB

Копот двигателя, комплект *nh282mu * (Cover comp., engine *nh282mu *)

под заказ45420 руб. 
263100-ZV1-843ZB

(последний код) COVER COMP., ENGINE *NH28

под заказ45420 руб. 
363102-ZV1-300

Резинка капота двигателя (Seal, engine cover)

под заказ7030 руб. 
490504-921-010

Плоская шайба, 6 мм (Washer, plain, 6mm)

6 шт330 руб. 
592101-06016-4J

Болт под шестигранник., 6x16 (Bolt, hex., 6x16)

под заказ240 руб. 
650159-ZV1-000

Резиновый демфер (Rubber, damper)

под заказ500 руб. 

Время выполнения запроса 7.8760530948639 сек.

 
 

данный сайт носит информационный характер и не является публичной офертой

склад запчастей для водомоторной техники