Контактный телефон: +7 (981) 121-46-93, +7 (800) 200-90-76 , Email: parts-katalog@yandex.ru, где купить |
Модификация Вашего двигателя: Honda BF5A1 SC Вернуться к выбору узлов мотора Дистанционное управление |
|||||||||||||||||||||||||||||||||||||||||||||||||||||||||||||||||||||||||||||||||||||||||||||||||||||||||||||||||||||||||||||||||||||||||||||||||||||||||||||||||||||||||||||||||||||||||||||||||
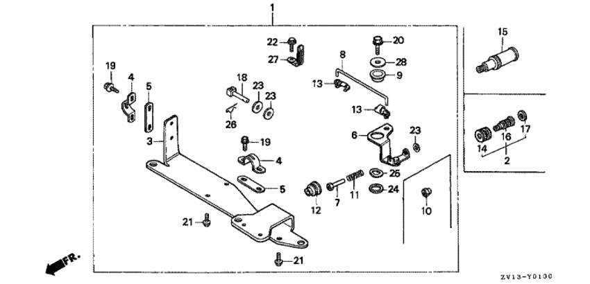
| Номер на рисунке | Артикул | Наименование | Кол-во на складе | Цена | |
| 1 | 06170-ZV1-811 | Комплект для установки дистанционного управления (Control kit, remote) | под заказ | 11540 руб. | |
| 1 | 06170-ZV1-812 | (последний код) CONTROL KIT, REMOTE | 1 шт | 14390 руб. | |
| 2 | 06190-ZV1-860 | Комплект для подключения шланга с водой (Joint kit, water hose) | под заказ | 4280 руб. | |
| 3 | 17851-ZV1-810 | Кронштейн рулевого управления (Bracket, steering) | под заказ | 13680 руб. | |
| 4 | 17855-ZV1-810 | Зажим кабеля (Clamp, cable) | под заказ | 1600 руб. | |
| 5 | 17856-ZV1-810 | Пластина зажима кабеля (Shim, cable clamp) | под заказ | 1680 руб. | |
| 6 | 17860-ZV1-810 | Рычаг управления (Lever comp., control) | под заказ | 3180 руб. | |
| 7 | 17864-ZV1-810 | Гайка B для контроля регулировки (Nut b, control adjusting) | под заказ | 1180 руб. | |
| 8 | 17865-ZV1-810 | Тяга управления (Rod, control) | под заказ | 1030 руб. | |
| 9 | 17866-ZV1-810 | Втулка рычага управления (Bush, control lever) | под заказ | 690 руб. | |
| 10 | 17867-ZV1-810 | Гайка a, control adjusting (Nut a, control adjusting) | под заказ | 670 руб. | |
| 11 | 17868-ZV1-810 | Пружина рычага управления (Spring, control lever) | под заказ | 360 руб. | |
| 12 | 17938-ZV1-810 | Пыльник тросика управления (Grommet, control cable) | под заказ | 460 руб. | |
| 13 | 17946-ZV1-000 | Связующая втулка (Bush, linkage) | 4 шт | 690 руб. | |
| 13 | 17946-ZV1-003 | (последний код) BUSH, LINKAGE | под заказ | 690 руб. | |
| 14 | 19270-881-812 | Гайка, ввод воды (Nut, water mouth) | под заказ | 2440 руб. | |
| 16 | 19271-ZV1-810 | Соеденитель водяной трубки (Joint, water hose) | под заказ | 1560 руб. | |
| 17 | 19272-881-810 | Гнездо, ввод воды (Seat, water mouth) | под заказ | 440 руб. | |
| 18 | 24618-ZV1-810 | Переключающий стержень (Pivot, shift) | под заказ | 1140 руб. | |
| 19 | 90002-ZG0-920 | Фланцевый болт, 5x10 (Bolt, flange, 5x10) | под заказ | по запросу | |
| 20 | 90013-ZV0-010 | Фланцевый болт, 6x12 (Bolt, flange, 6x12) | под заказ | 350 руб. | |
| 21 | 90013-ZV1-000 | Фланцевый болт, 6x14 (Bolt, flange, 6x14) | под заказ | 520 руб. | |
| 22 | 90019-ZV1-000 | Фланцевый болт, 5x10 (Bolt, flange, 5x10) | под заказ | 280 руб. | |
| 23 | 90452-GK4-600 | Плоская шайба, 5 мм (Washer, plain, 5mm) | под заказ | 250 руб. | |
| 24 | 90505-ZV1-000 | Шайба, 14 мм (Washer, 14mm) | под заказ | 550 руб. | |
| 25 | 90506-ZV1-000 | Волнистая шайба, 14 мм (Washer, wave, 14mm) | под заказ | 550 руб. | |
| 26 | 90757-ZV1-000 | Блокирующая шпилька, 5 мм (Pin, lock, 5mm) | под заказ | 130 руб. | |
| 27 | 91403-881-000 | Зажим тросика B (Clip b, cord) | под заказ | 960 руб. | |
| 28 | 9410306200 | Плоская шайба, 6 мм (Washer, plain, 6mm) | под заказ | 90 руб. | |
Время выполнения запроса 6.4219460487366 сек.
склад запчастей для водомоторной техники