вконтакте

Контактный телефон: +7 (981) 121-46-93, +7 (800) 200-90-76 , Email: parts-katalog@yandex.ru, где купить

 
 

  Логин:

Пароль:

Регистрация

www.partskatalog.ru Все каталоги Запчасти Mercury Запчасти Suzuki Запчасти Tohatsu Запчасти Honda Контакты



УВАЖАЕМЫЕ КЛИЕНТЫ!
C 19 ДЕКАБРЯ 2025 ПО 02 МАРТА 2026 ГОДА ОТДЕЛ ЗАПЧАСТЕЙ И СЕРВИС РАБОТАТЬ НЕ БУДУТ
ПРОДАЖА ЛОДОЧНЫХ МОТОРОВ В ШТАТНОМ РЕЖИМЕ
ОБ ИЗМЕНЕНИЯХ В ГРАФИКЕ РАБОТЫ ЧИТАЙТЕ НА САЙТА



назад Раздел:   вперёд

Модификация Вашего двигателя:   Honda BF2D2 LHD
Модели с серийным номером двигателя от BEBF-1000001 до BEBF-1999999
Модели с серийным номером рамы от BZBK-1300001 до BZBK-1999999

Вернуться к выбору узлов мотора

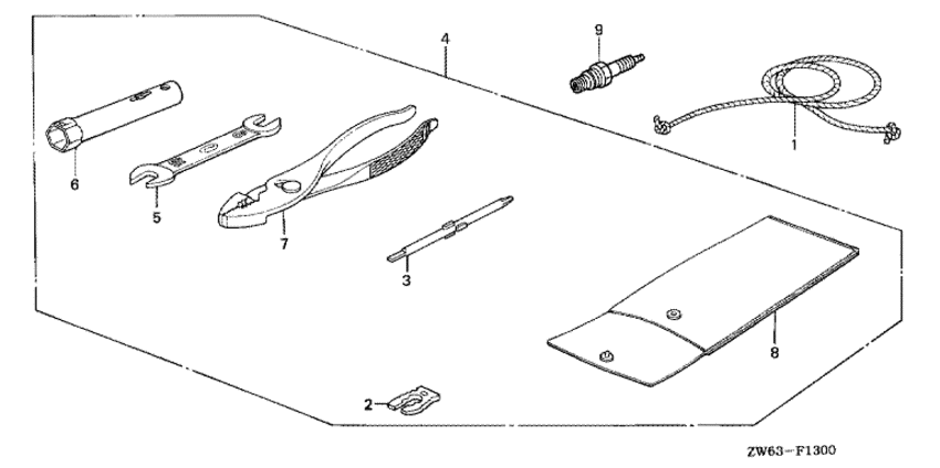
   Инструмент
Tool      


ДЕТАЛИРОВКА ДЛЯ МОДЕЛИ: HONDA BF2D2

Подвесной четырёх тактный мотор BF2D2 - Инструмент - Tool
Номер на
рисунке
АртикулНаименованиеКол-во
на складе
Цена
128462-ZV0-000

Шнур стартера (Rope, starter)

под заказ1040 руб. 
128462-ZVA-A00

(последний код) ROPE, STARTER

под заказ890 руб. 
236187-ZV4-651

Клипса аварийной блокировки (Clip, emergency lock)

под заказ1240 руб. 
236187-ZV4-652

(последний код) CLIP, EMERGENCY LOCK

5 шт1240 руб. 
383513-044-000

Отвёртка (Driver)

2 шт360 руб. 
489000-ZW6-000

Набор инструмента (Tool kit)

под заказ5020 руб. 
489000-ZW6-010

(последний код) TOOL KIT

под заказ5020 руб. 
589203-VF9-003

Гаечный ключ, 8x10 (Spanner, 8x10)

под заказ690 руб. 
689216-130-690

Свечной ключ (Wrench, spark plug)

1 шт650 руб. 
799002-13500

Плоскогубцы (Pliers)

под заказ1590 руб. 
899008-01600

Сумка (Bag)

под заказ570 руб. 
998056-5475U

Свеча зажигания (1uf14-ub) (Plug, spark (1uf14-ub))

под заказ5200 руб. 

Время выполнения запроса 0.31337904930115 сек.

 
 

данный сайт носит информационный характер и не является публичной офертой

склад запчастей для водомоторной техники