вконтакте

Контактный телефон: +7 (981) 121-46-93, +7 (800) 200-90-76 , Email: parts-katalog@yandex.ru, где купить

 
 

  Логин:

Пароль:

Регистрация

www.partskatalog.ru Все каталоги Запчасти Mercury Запчасти Suzuki Запчасти Tohatsu Запчасти Honda Контакты

назад Раздел:   вперёд

Модификация Вашего двигателя:   Honda BF2D3 SHC
Модели с серийным номером двигателя от BEBF-1000001 до BEBF-1999999
Модели с серийным номером рамы от BZBK-1400001 до BZBK-1999999

Вернуться к выбору узлов мотора

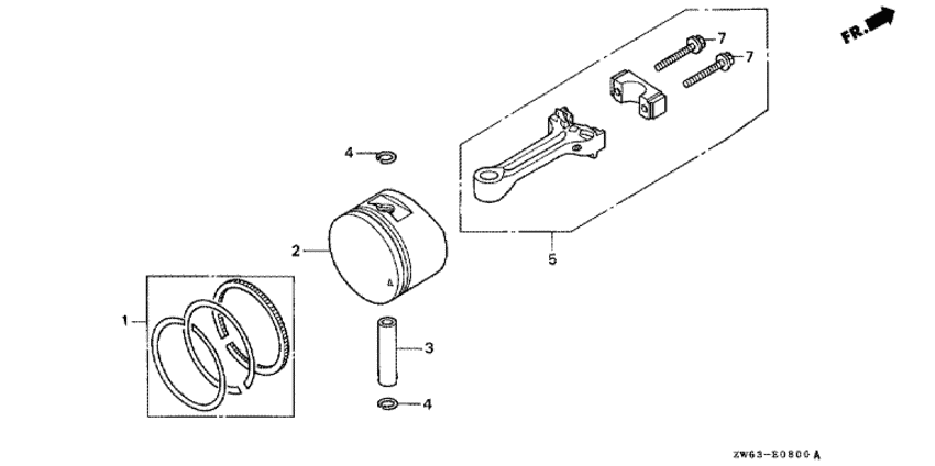
   Поршень
Piston      


ДЕТАЛИРОВКА ДЛЯ МОДЕЛИ: HONDA BF2D3

Двигатель BF2D3 - Поршень - Piston
Номер на
рисунке
АртикулНаименованиеКол-во
на складе
Цена
113010-ZW6-000

Поршневые кольца (std.) (Ring set, piston (std.))

2 шт2580 руб. 
213101-ZW6-010

Поршень (Piston)

под заказ5400 руб. 
213101-ZDH-000

(последний код) PISTON (STD.)

1 шт4250 руб. 
313111-122-000

Поршневой палец, 10x33 (Pin, piston, 10x33)

1 шт560 руб. 
313111-GS7-000

Поршневой палец (Pin, piston)

под заказ590 руб. 
413115-147-000

Зажим поршневого пальца, 10 мм (Clip, piston pin, 10mm)

1 шт150 руб. 
513200-ZN4-000

Шатун в сборе (Rod assy., connecting)

под заказ9070 руб. 
513200-ZN4-010

(последний код) ROD ASSY., CONNECTING

3 шт10190 руб. 
790001-ZM7-000

Болт шатуна (Bolt, connecting rod)

4 шт360 руб. 

Время выполнения запроса 3.3057811260223 сек.

 
 

данный сайт носит информационный характер и не является публичной офертой

склад запчастей для водомоторной техники