Контактный телефон: +7 (981) 121-46-93, +7 (800) 200-90-76 , Email: parts-katalog@yandex.ru, где купить |
Модификация Вашего двигателя: Honda BF2D4 SHU Вернуться к выбору узлов мотора Удлинение корпуса |
|||||||||||||||||||||||||||||||||||||||||||||||||||||||||||||||||||||||||||||||||||||||||||||||||||||||||||||||||||||||||||||||||||||||||||||||||||||||||||||||||||||||||||||||||||||||||||||||||||||||||||||||||||||||||||||||||||||||||||||||||||||||||||||||||||||||||
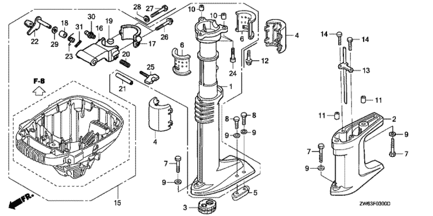
| Номер на рисунке | Артикул | Наименование | Кол-во на складе | Цена | |
| 1 | 40201-ZW6-020ZA | Удлинитель копуса *nh246 * (Case, extension *nh246 *) | под заказ | 29930 руб. | |
| 1 | 40201-ZW6-C00ZA | (последний код) CASE, EXTENSION *NH246* | под заказ | 29930 руб. | |
| 3 | 40210-ZW6-000 | Втулка вертикального вала (s) (Bush comp., vertical shaft (s)) | под заказ | 4730 руб. | |
| 3 | 40210-ZVA-000 | (последний код) BUSH COMP., VERTICAL SHAF | под заказ | 4730 руб. | |
| 4 | 40218-ZW6-000 | Protector, extension (Protector, extension) | под заказ | 1270 руб. | |
| 4 | 40218-ZVA-000 | (последний код) PROTECTOR, EXTENSION | под заказ | 1270 руб. | |
| 5 | 41106-ZV4-650 | Металлический анод (Metal, anode) | под заказ | 1610 руб. | |
| 5 | 41106-ZVA-000 | (последний код) METAL, ANODE | под заказ | 1300 руб. | |
| 6 | 50211-ZV0-000 | Гильза поворотного корпуса (Liner, swivel case) | под заказ | 1710 руб. | |
| 6 | 50211-ZV0-010 | Гильза поворотного корпуса (Liner, swivel case) | под заказ | 1590 руб. | |
| 7 | 90113-ZV0-000 | Болт под шестигранник., 6x35 (Bolt, hex., 6x35) | под заказ | 560 руб. | |
| 8 | 90127-ZV4-000 | Болт под шестигранник., 6x16 (Bolt, hex., 6x16) | под заказ | 340 руб. | |
| 9 | 90506-ZV4-000 | Плоская шайба, 6 мм (Washer, plain, 6mm) | 4 шт | 380 руб. | |
| 10 | 94301-08100 | Шпонка (Dowel pin) | под заказ | 240 руб. | |
| 12 | 90102-ZW6-000 | Фланцевый болт, 6x25 (Bolt, flange, 6x25) | под заказ | по запросу | |
| 12 | 90016-ZW9-000 | Фланцевый болт, 6x25 (Bolt, flange, 6x25) | под заказ | 420 руб. | |
| 16 | 50201-ZW6-000ZA | Поворотный корпус *nh246 * (Case, swivel *nh246 *) | под заказ | 14320 руб. | |
| 16 | 50201-ZW6-010ZA | Поворотный корпус *nh246 * (Case, swivel *nh246 *) | под заказ | 16650 руб. | |
| 16 | 50201-ZW6-C00ZA | (последний код) CASE, SWIVEL *NH246* | под заказ | 13360 руб. | |
| 17 | 50203-ZW6-000ZA | Крышка поворотного корпуса *nh246 * (Cap, swivel case *nh246 *) | под заказ | 3210 руб. | |
| 17 | 50203-ZW6-010ZA | Крышка поворотного корпуса *nh246 * (Cap, swivel case *nh246 *) | под заказ | 3210 руб. | |
| 18 | 50204-ZV0-000 | Воротник поворотного корпуса (Collar, swivel case) | под заказ | 610 руб. | |
| 18 | 50204-ZVA-000 | (последний код) COLLAR, SWIVEL CASE | под заказ | 610 руб. | |
| 19 | 50212-ZW6-305 | Фрикционный блок (Block, friction) | под заказ | 1110 руб. | |
| 19 | 50212-ZV0-010 | Фрикционный блок (Block, friction) | под заказ | 1660 руб. | |
| 19 | 50212-ZVA-000 | (последний код) BLOCK, FRICTION | 1 шт | 1780 руб. | |
| 20 | 50233-ZV0-000 | Пружина регулировки трения (Spring, friction adjusting) | 1 шт | 400 руб. | |
| 21 | 50337-ZV0-000 | Промежуточный воротник (Collar, distance) | под заказ | 2180 руб. | |
| 22 | 50511-ZV0-010 | Рукоятка фиксатора наклона (Arm comp., tilt lock) | под заказ | 2970 руб. | |
| 22 | 50511-ZVA-000 | (последний код) ARM COMP., TILT LOCK | под заказ | 2970 руб. | |
| 23 | 50516-ZV0-000 | Пружина фиксатора наклона (Spring, tilt lock) | под заказ | 360 руб. | |
| 23 | 50516-ZVA-000 | (последний код) SPRING, TILT LOCK | под заказ | 360 руб. | |
| 24 | 90104-ZW6-000 | Болт с шайбой, гнездо, 6x30 (Bolt-washer, socket, 6x30) | под заказ | 1050 руб. | |
| 25 | 90106-ZV0-000 | Винт поворотного корпуса (Bolt, swivel case) | 1 шт | 810 руб. | |
| 26 | 90114-HW1-670 | Фланцевый болт, 8x35 (Bolt, flange, 8x35) | под заказ | по запросу | |
| 27 | 90116-881-000 | Болт под шестигранник., 8x40 (Bolt, hex., 8x40) | под заказ | 560 руб. | |
| 28 | 90507-ZV4-000 | Плоская шайба, 8 мм (Washer, plain, 8mm) | под заказ | 360 руб. | |
| 29 | 90518-921-000 | Плоская шайба, 8 мм (Washer, plain, 8mm) | под заказ | 150 руб. | |
| 30 | 90951-ZV7-010 | Ниппель смазки (Nipple, grease) | 5 шт | 460 руб. | |
| 31 | 90752-ZW6-000 | Стопор пружины, 2.5x20 (Pin, spring, 2.5x20) | под заказ | 220 руб. | |
| 15 | 04402-ZW6-010ZA | Case kit, extension *nh246* (Case kit, extension *nh246*) | 1 шт | 53550 руб. | |
Время выполнения запроса 7.2654550075531 сек.
склад запчастей для водомоторной техники