вконтакте

Контактный телефон: +7 (981) 121-46-93, +7 (800) 200-90-76 , Email: parts-katalog@yandex.ru, где купить

 
 

  Логин:

Пароль:

Регистрация

www.partskatalog.ru Все каталоги Запчасти Mercury Запчасти Suzuki Запчасти Tohatsu Запчасти Honda Контакты



УВАЖАЕМЫЕ КЛИЕНТЫ!
C 19 ДЕКАБРЯ 2025 ПО 02 МАРТА 2026 ГОДА ОТДЕЛ ЗАПЧАСТЕЙ И СЕРВИС РАБОТАТЬ НЕ БУДУТ
ПРОДАЖА ЛОДОЧНЫХ МОТОРОВ В ШТАТНОМ РЕЖИМЕ
ОБ ИЗМЕНЕНИЯХ В ГРАФИКЕ РАБОТЫ ЧИТАЙТЕ НА САЙТА



назад Раздел:   вперёд

Модификация Вашего двигателя:   Honda BF2AK SC
Модели с серийным номером двигателя от BAEE-1100001 до BAEE-1199999
Модели с серийным номером рамы от BAES-1100001 до BAES-1199999

Вернуться к выбору узлов мотора

   Наклейки
Label      


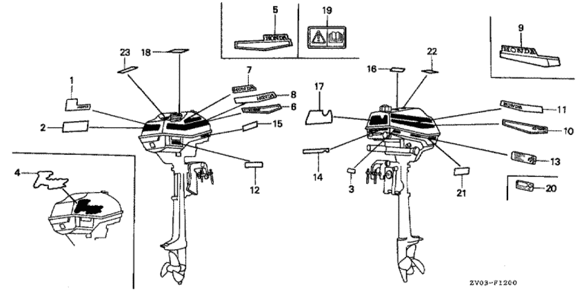
ДЕТАЛИРОВКА ДЛЯ МОДЕЛИ: HONDA BF2AK

Подвесной fourstroke мотор BF2AK - Наклейки - Label
Номер на
рисунке
АртикулНаименованиеКол-во
на складе
Цена
287121-ZV0-840

Маркировка - мощность двигателя. Эмблема (Mark, rr. emblem)

под заказпо запросу 
687131-ZV0-841

Маркировка, r. lower side stripe (Mark, r. lower side stripe)

под заказпо запросу 
887132-ZV0-840

Маркировка, r. вышеper side stripe (Mark, r. upper side stripe)

под заказпо запросу 
1087141-ZV0-841

Маркировка, l. lower side stripe (Mark, l. lower side stripe)

под заказпо запросу 
1187142-ZV0-840

Маркировка, l. вышеper side stripe (Mark, l. upper side stripe)

под заказпо запросу 
1287521-ZV0-600

Маркировка - топливный кран (e, f) (Mark, fuel cock (e,f))

под заказпо запросу 
1387531-ZV0-850

Наклейка, осторожно масло (Label, oil caution)

под заказпо запросу 
1487532-ZV0-850

Маркировка, индикация (Mark, indication)

под заказпо запросу 
1587535-ZV0-850

Наклейка: осторожность при хранении (Caution, storing)

под заказ350 руб. 
1687537-ZV0-600

Наклейка: осторожно, отдача (e, f) (Label, recoil caution (e,f))

под заказпо запросу 
1787538-ZV0-850

Caution, operator (Caution, operator)

под заказпо запросу 
1887571-ZV0-850

Маркировка: осторожно, топливный бак (Mark, tank caution)

под заказпо запросу 

Время выполнения запроса 1.6673378944397 сек.

 
 

данный сайт носит информационный характер и не является публичной офертой

склад запчастей для водомоторной техники