вконтакте

Контактный телефон: +7 (981) 121-46-93, +7 (800) 200-90-76 , Email: parts-katalog@yandex.ru, где купить

 
 

  Логин:

Пароль:

Регистрация

www.partskatalog.ru Все каталоги Запчасти Mercury Запчасти Suzuki Запчасти Tohatsu Запчасти Honda Контакты

назад Раздел:   вперёд

Модификация Вашего двигателя:   Honda BF2AH LD
Модели с серийным номером двигателя от BAEE-1000001 до BAEE-1099999
Модели с серийным номером рамы от BAEL-1000001 до BAEL-1099999

Вернуться к выбору узлов мотора

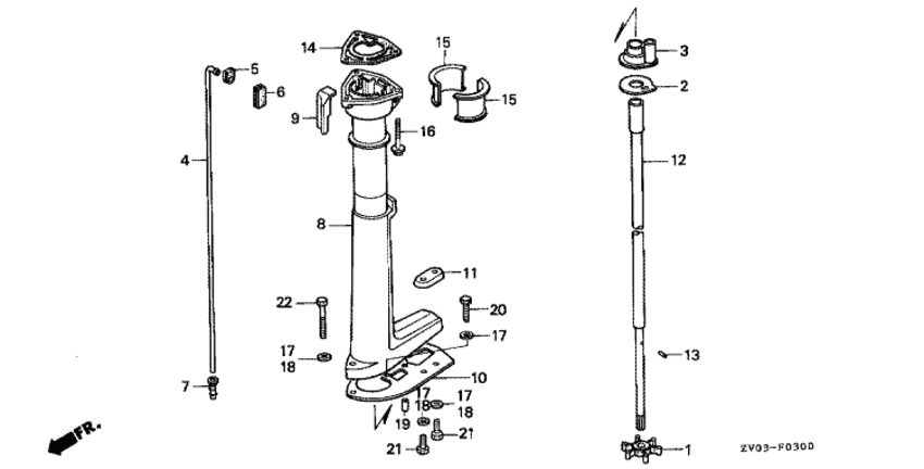
   Удлинение корпуса / Вертикальный вал
Extension Case / Vertical Shaft      


ДЕТАЛИРОВКА ДЛЯ МОДЕЛИ: HONDA BF2AH

Подвесной лодочный четырёх-тактный двигатель BF2AH - Удлинение корпуса / Вертикальный вал - Extension Case / Vertical Shaft
Номер на
рисунке
АртикулНаименованиеКол-во
на складе
Цена
119211-ZV0-003

Крыльчатка водяного насоса (Impeller, water pump)

5 шт4270 руб. 
219231-ZV0-000

Колпак крыльчатки (Cover, impeller)

под заказ720 руб. 
319233-ZV0-000

Держатель крышки крыльчатки (Holder, impeller cover)

под заказ990 руб. 
419251-ZV0-700

Водяная трубка (Tube, water)

под заказпо запросу 
519252-ZV0-000

Rubber, Гидрозатвор (a) (Rubber, water seal (a))

под заказ330 руб. 
619253-ZV0-000

Rubber, Гидрозатвор (b) (Rubber, water seal (b))

под заказ460 руб. 
719254-ZV0-000

Пыльник, Водяной насос (Grommet, water pump)

под заказ460 руб. 
840201-ZV0-840ZA

Удлинитель копуса *nh210mc * (Case, extension *nh210mc *)

под заказ19350 руб. 
1241110-ZV0-700

Вертикальный вал (Shaft comp., vertical)

под заказ14630 руб. 
1341122-ZV0-000

Штифт вертикального вала (Pin, vertical shaft)

под заказ130 руб. 
1450205-ZV0-000

Прокладка верхней части корпуса (Packing, upper case)

под заказ530 руб. 
1450205-ZV0-850

(последний код) PACKING, UPPER CASE

под заказ530 руб. 
1550211-ZV0-000

Гильза поворотного корпуса (Liner, swivel case)

под заказ1710 руб. 
1690123-ZV0-000

Фланцевый болт, 6x32 (Bolt, flange, 6x32)

под заказ420 руб. 
1790504-921-010

Плоская шайба, 6 мм (Washer, plain, 6mm)

6 шт330 руб. 
2292101-06035-4J

Болт под шестигранник., 6x35 (Bolt, hex., 6x35)

под заказпо запросу 

Время выполнения запроса 0.86446905136108 сек.

 
 

данный сайт носит информационный характер и не является публичной офертой

склад запчастей для водомоторной техники