вконтакте

Контактный телефон: +7 (981) 121-46-93, +7 (800) 200-90-76 , Email: parts-katalog@yandex.ru, где купить

 
 

  Логин:

Пароль:

Регистрация

www.partskatalog.ru Все каталоги Запчасти Mercury Запчасти Suzuki Запчасти Tohatsu Запчасти Honda Контакты



УВАЖАЕМЫЕ КЛИЕНТЫ!
C 19 ДЕКАБРЯ 2025 ПО 02 МАРТА 2026 ГОДА ОТДЕЛ ЗАПЧАСТЕЙ И СЕРВИС РАБОТАТЬ НЕ БУДУТ
ПРОДАЖА ЛОДОЧНЫХ МОТОРОВ В ШТАТНОМ РЕЖИМЕ
ОБ ИЗМЕНЕНИЯХ В ГРАФИКЕ РАБОТЫ ЧИТАЙТЕ НА САЙТА



назад Раздел:   вперёд

Модификация Вашего двигателя:   Honda BF20F SC
Модели с серийным номером двигателя от BF20-1000001 до BF20-1099999
Модели с серийным номером рамы от BF20-1000001 до BF20-1099999

Вернуться к выбору узлов мотора

   Наклейки
Label      


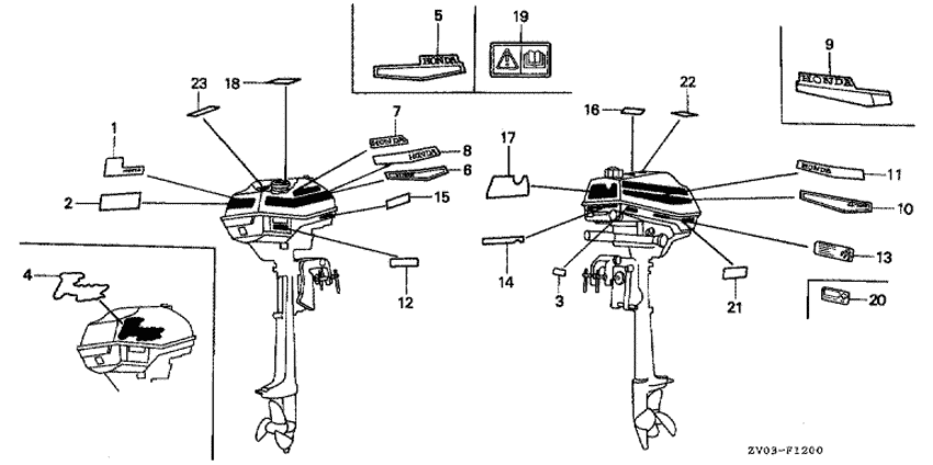
ДЕТАЛИРОВКА ДЛЯ МОДЕЛИ: HONDA BF20F

Подвесной 4x-тактный лодочный мотор HONDA BF20F - Label / Наклейки
Номер на
рисунке
АртикулНаименованиеКол-во
на складе
Цена
287121-ZV0-000

Эмблема, rr. (Emblem, rr.)

под заказпо запросу 
587131-ZV0-600

Полоска с правой стороны корпуса (Stripe, r. side cover)

под заказпо запросу 
987141-ZV0-600

Полоска с левой стороны корпуса (Stripe, l. side cover)

под заказпо запросу 
1287521-ZV0-600

Маркировка - топливный кран (e, f) (Mark, fuel cock (e,f))

под заказпо запросу 
1387531-ZV0-600

Наклейка, осторожно масло (english / french) (Label, oil caution (english/french))

под заказпо запросу 
1487532-ZV0-600

Маркировка, индикация (e, f) (Mark, indication (e,f))

под заказпо запросу 
1587535-ZV0-600

Наклейка: осторожность при хранении (e, f) (Caution, storing (e,f))

под заказпо запросу 
1687537-ZV0-600

Наклейка: осторожно, отдача (e, f) (Label, recoil caution (e,f))

под заказпо запросу 
1787538-ZV0-600

Наклейка: осторожно, владелец (e, f) (Label, operator caution (e,f))

под заказпо запросу 
1887571-ZV0-600

Маркировка: осторожно, топливный бак (e, f) (Mark, tank caution (e,f))

под заказпо запросу 

Время выполнения запроса 0.73744416236877 сек.

 
 

данный сайт носит информационный характер и не является публичной офертой

склад запчастей для водомоторной техники