Контактный телефон: +7 (981) 121-46-93, +7 (800) 200-90-76 , Email: parts-katalog@yandex.ru, где купить |
Модификация Вашего двигателя: Honda BF20F LC Вернуться к выбору узлов мотора Карбюратор |
|||||||||||||||||||||||||||||||||||||||||||||||||||||||||||||||||||||||||||||||||||||||||||||||||||||||||||||||||||||||||||||||||||||||||||||||||||||||||||||||||||||||||||||||||||||||||||||||||||||||||||||||||||||||||||||||||||||||||||||||||||||||||||||||||||||||||||||||||||||||||||||||||||||||||||||||||||||||||||||||||||||
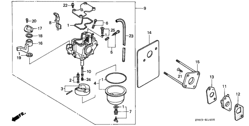
| Номер на рисунке | Артикул | Наименование | Кол-во на складе | Цена | |
| 1 | 16010-ZV0-005 | Комплект прокладок (Gasket set) | под заказ | 1020 руб. | |
| 1 | 16010-ZV0-025 | (последний код) GASKET SET | под заказ | 1520 руб. | |
| 1 | 16010-ZV0-015 | Комплект прокладок (Gasket set) | под заказ | 1020 руб. | |
| 2 | 16011-ZE0-005 | Клапан поплавка, набор (Valve set, float) | под заказ | 3560 руб. | |
| 3 | 16013-ZG0-811 | Поплавок, набор (Float set) | под заказ | 3980 руб. | |
| 4 | 16015-ZV0-005 | Поплавковая камера, набор (Chamber set, float) | под заказ | 4090 руб. | |
| 5 | 16016-ZE0-005 | Контрольный болт, набор (Screw set, pilot) | под заказ | 1530 руб. | |
| 6 | 16016-ZV0-005 | Набор винтов (Screw set) | под заказ | по запросу | |
| 6 | 16016-ZV0-015 | Набор винтов (Screw set) | под заказ | по запросу | |
| 7 | 16028-ZV0-005 | Набор винтов (Screw set) | под заказ | 1120 руб. | |
| 7 | 16028-ZV0-015 | Набор винтов (Screw set) | под заказ | по запросу | |
| 7 | 16028-ZV0-025 | Набор винтов (Screw set) | под заказ | 1120 руб. | |
| 7 | 16029-ZV0-A00 | (последний код) SCREW SET | под заказ | 1120 руб. | |
| 8 | 16044-ZV0-005 | Рычаг дросселя (Lever set, choke) | под заказ | по запросу | |
| 9 | 16100-ZV0-005 | Карбюратор в сборе. (bf09a a / b) (Carburetor assy. (bf09a a/b)) | под заказ | по запросу | |
| 9 | 16100-ZV0-015 | Карбюратор в сборе. (bf09a b / c / d) (Carburetor assy. (bf09a b/c/d)) | под заказ | 19510 руб. | |
| 9 | 16100-ZV0-025 | Карбюратор в сборе. (bf09a d) (Carburetor assy. (bf09a d)) | под заказ | по запросу | |
| 9 | 16100-ZV0-045 | Карбюратор в сборе. (bf22a b) (Carburetor assy. (bf22a b)) | под заказ | по запросу | |
| 9 | 16100-ZV0-055 | Карбюратор в сборе. (bf22a c) (Carburetor assy. (bf22a c)) | под заказ | по запросу | |
| 10 | 16166-ZV0-005 | Главная форсунка (Nozzle, main) | под заказ | по запросу | |
| 10 | 16166-ZV0-015 | Главная форсунка (Nozzle, main) | под заказ | по запросу | |
| 11 | 16211-ZG0-010 | Изолятор карбюратора (Insulator, carburetor) | под заказ | по запросу | |
| 11 | 16211-ZV0-000 | Изолятор карбюратора (Insulator, carburetor) | под заказ | по запросу | |
| 12 | 16212-ZG0-000 | Прокладка изолятора (Packing, insulator) | под заказ | 60 руб. | |
| 12 | 16212-ZG0-306 | (последний код) PKG,INSULATOR | под заказ | 60 руб. | |
| 12 | 16212-ZV0-000 | Прокладка изолятора (Packing, insulator) | под заказ | по запросу | |
| 13 | 16221-ZG0-000 | Прокладка карбюратора (Packing, carburetor) | под заказ | 60 руб. | |
| 13 | 16221-ZG0-020 | (последний код) | под заказ | 60 руб. | |
| 13 | 16221-ZG0-010 | Прокладка карбюратора (Packing, carburetor) | под заказ | 60 руб. | |
| 14 | 16221-ZV0-000 | Прокладка карбюратора (Gasket, carburetor) | под заказ | по запросу | |
| 14 | 16221-ZV0-010 | Прокладка карбюратора (Gasket, carburetor) | под заказ | по запросу | |
| 15 | 16225-ZV0-000 | Соеденительная пластина карбюратора (Plate, carburetor joint) | под заказ | по запросу | |
| 16 | 16953-ZV0-005 | Рычаг взвода (Lever, cock) | под заказ | по запросу | |
| 16 | 16953-ZV0-015 | Рычаг взвода (Lever, cock) | под заказ | 980 руб. | |
| 17 | 16954-ZE1-811 | Пластина для установки рычага (Plate, lever setting) | под заказ | по запросу | |
| 17 | 16954-ZV0-005 | Пластина для установки рычага (Plate, lever setting) | под заказ | 560 руб. | |
| 17 | 16954-ZE1-812 | (последний код) PLATE, LEVER SETTING | под заказ | 830 руб. | |
| 18 | 16956-ZE1-811 | Пружина рычага взвода (Spring, cock lever) | под заказ | 260 руб. | |
| 19 | 16957-ZE1-811 | Прокладка топливного крана (Packing, fuel cock) | под заказ | 510 руб. | |
| 20 | 93500-030-060-H | Винт (Screw) | под заказ | 90 руб. | |
| 20 | 93500-030080H | Винт с чашечкой, 3x8 (Screw, pan, 3x8) | под заказ | 90 руб. | |
| 21 | 93600-050-200-B | Винт (Screw) | под заказ | по запросу | |
| 22 | 93892-040-120-8 | Винт с шайбой (Screw-washer) | под заказ | 90 руб. | |
| 23 | 95003-090-753-1 | Виниловая трубка, 4.5x8x750 (95003-09001-60m) (Tube, vinyl, 4.5x8x750 (95003-09001-60m)) | под заказ | 270 руб. | |
| 24 | 99101-187-0700 | Главная форсунка, #70 (Jet, main, #70) | под заказ | 670 руб. | |
| 24 | 99101-187-0650 | Главная форсунка, #65 (Jet, main, #65) | под заказ | 720 руб. | |
| 24 | 99101-ZG0-0650 | Главная форсунка, #65 (Jet, main, #65) | под заказ | 1080 руб. | |
| 24 | 99101-187-0600 | Главная форсунка, #60 (Jet, main, #60) | под заказ | 1000 руб. | |
| 24 | 99101-187-0620 | Главная форсунка, #62 (Jet, main, #62) | под заказ | 720 руб. | |
| 24 | 99101-ZG0-0620 | Главная форсунка, #62 (Jet, main, #62) | под заказ | 1080 руб. | |
| 25 | 99204-ZE0-035-0 | Контрольная форсунка, комплект, #35 (Jet set, pilot, #35) | 2 шт | 1470 руб. | |
Время выполнения запроса 2.6236310005188 сек.
склад запчастей для водомоторной техники