вконтакте

Контактный телефон: +7 (981) 121-46-93, +7 (800) 200-90-76 , Email: parts-katalog@yandex.ru, где купить

 
 

  Логин:

Пароль:

Регистрация

www.partskatalog.ru Все каталоги Запчасти Mercury Запчасти Suzuki Запчасти Tohatsu Запчасти Honda Контакты


Все разделы каталога запчастей на этот двигатель

назад Раздел:  

вернуться к списку узлов и деталей

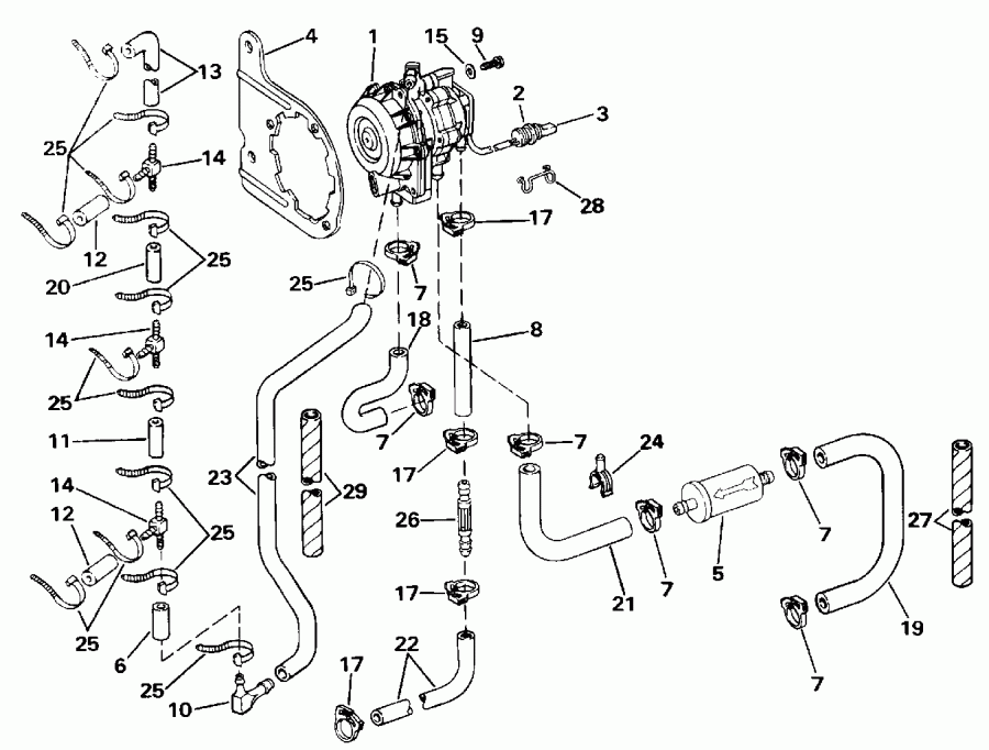
ДЕТАЛИРОВКА ДЛЯ МОДЕЛИ: EVINRUDE TE70TLESF 1990

VRO2 ПОМПА | VRO2 PUMP;


Подвесной двигатель EVINRUDE TE70TLESF 1990  - o2 Помпа

Номер на
рисунке
АртикулНаименованиеКол-во
на складе
Цена
1 0174876

Помпа в сборе., VRO2 (PUMP ASSY., VRO2)

нет в наличии, поставок нет
1 5007423

   (последний код) KIT AY,F PUMP&LMTR

нет в наличии, поставок нет
2 0512747

Коннектор, 3-socket Заглушка (CONNECTOR, 3-socket plug)

нет в наличии, поставок нет
2 3852239

   (последний код) CONN,3-SKT-P

нет в наличии, поставок нет
3 0581656

Клемма, Socket (TERMINAL, Socket)

нет в наличии, поставок нет
3 3852257

   (последний код) TERMINAL AY,SCKT

нет в наличии, поставок нет
4 0331624

Кронштейн топливного насоса to Коллектор (BRACKET, Fuel pump to manifold)

нет в наличии, поставок нет
5 0398327

Топливный фильтр в сборе. (FUEL FILTER ASSY.)

нет в наличии, поставок нет
5 3852224

   (последний код) FILTER AY,FUEL

нет в наличии, поставок нет
6 0

Шланг, Elbow to fuel tee, 1 1 / 4 дюйм (32 мм) long. сокращёная длина from 327228 - 5 / 32 дюйм I.D., 25 фут (7, 6m) Roll (HOSE, Elbow to fuel tee, 1 1/4 in. (32mm) long. Cut to Length from 327228 - 5/32 in. I.D., 25 ft. (7,6m) Roll)

нет в наличии, поставок нет
7 0322652

Струбцина (CLAMP)

нет в наличии, поставок нет
7 3852170

   (последний код) CLAMP,SNAP

нет в наличии, поставок нет
8 0333384

Шланг в сборе., Sight Трубка (HOSE ASSY., Sight tube)

нет в наличии, поставок нет
8 0331622

   (последний код) HOSE---OIL

нет в наличии, поставок нет
9 0308825

Винт, Топливный насос to Крепление (SCREW, Fuel pump to mount)

нет в наличии, поставок нет
9 3852081

   (последний код) SCREW

нет в наличии, поставок нет
10 0327729

ELBOW, Шланг, tee to Топливный насос (ELBOW, Hose, tee to fuel pump)

нет в наличии, поставок нет
11 0

Шланг, нижний tee to middle tee, 2 1 / 2 дюйм (65 мм) сокращёная длина from 327228 - 5 / 32 дюйм I.D., 25 фут (7, 6m) Roll (HOSE, Lower tee to middle tee, 2 1/2 in. (65mm). Cut to Length from 327228 - 5/32 in. I.D., 25 ft. (7,6m) Roll)

нет в наличии, поставок нет
12 0

Шланг, Tee to carb., 1 1 / 4 дюйм (32 мм) сокращёная длина from 327228 - 5 / 32 дюйм I.D., 25 фут (7, 6m) Roll (HOSE, Tee to carb., 1 1/4 in. (32mm). Cut to Length from 327228 - 5/32 in. I.D., 25 ft. (7,6m) Roll)

нет в наличии, поставок нет
13 0

Шланг, Tee to верхний carb., 5 дюйм (127 мм) сокращёная длина from 327228 - 5 / 32 дюйм I.D., 25 фут (7, 6m) Roll (HOSE, Tee to upper carb., 5 in. (127mm). Cut to Length from 327228 - 5/32 in. I.D., 25 ft. (7,6m) Roll)

нет в наличии, поставок нет
14 0313537

TEE, Топливный шланг (TEE, Fuel hose)

нет в наличии, поставок нет
15 0328735

Шайба, Монтажный кронштейн (WASHER, Mount bracket)

нет в наличии, поставок нет
15 3852188

   (последний код) WASHER

нет в наличии, поставок нет
17 0322654

Струбцина, Коннектор (CLAMP, Connector)

нет в наличии, поставок нет
17 3852172

   (последний код) CLAMP,SNAP

нет в наличии, поставок нет
18 0333380

PULSE Шланг (PULSE HOSE)

нет в наличии, поставок нет
18 0330891

   (последний код) HOSE

нет в наличии, поставок нет
19 0333630

Топливный шланг Коннектор to Фильтр (HOSE, Fuel connector to filter)

нет в наличии, поставок нет
19 0322761

   (последний код) HOSE-FUEL-CO

нет в наличии, поставок нет
20 0

Шланг, Tee to tee, 1 1 / 4 дюйм (32 мм) сокращёная длина from 327228 - 5 / 32 дюйм I.D., 25 фут (7, 6m) Roll (HOSE, Tee to tee, 1 1/4 in. (32mm). Cut to Length from 327228 - 5/32 in. I.D., 25 ft. (7,6m) Roll)

нет в наличии, поставок нет
21 0334424

Шланг, Фильтр to Топливный насос (HOSE, Filter to fuel pump)

нет в наличии, поставок нет
22 0333382

Шланг, Коннектор to sight Трубка (HOSE, Connector to sight tube)

нет в наличии, поставок нет
22 0331619

   (последний код) HOSE

нет в наличии, поставок нет
23 0332826

Топливный шланг Помпа to elbow (HOSE, Fuel pump to elbow)

нет в наличии, поставок нет
23 0331621

   (последний код) HOSE---FUEL

нет в наличии, поставок нет
24 0329661

Держатель / Заглушка (HOLDER/PLUG)

нет в наличии, поставок нет
25 0320107

Струбцина Хомут (CLAMP STRAP)

нет в наличии, поставок нет
25 5035626

   (последний код) BAND,REM CON

нет в наличии, поставок нет
26 0331623

SIGHT Масляная трубка (SIGHT TUBE, Oil)

нет в наличии, поставок нет
27 0331058

SPIRAL Трубка, Топливный шланг (SPIRAL TUBE, Fuel hose)

нет в наличии, поставок нет
28 0512742

Фиксатор, Коннектор (RETAINER, connector)

нет в наличии, поставок нет
28 3852237

   (последний код) RETAINER,CON

нет в наличии, поставок нет
29 0331058

Спиральная трубка (TUBE, Spiral)

нет в наличии, поставок нет
evinrude

Время выполнения запроса 0.95485901832581 сек.


 
 

данный сайт носит информационный характер и не является публичной офертой

склад запчастей для водомоторной техники