вконтакте

Контактный телефон: +7 (981) 121-46-93, +7 (800) 200-90-76 , Email: parts-katalog@yandex.ru, где купить

 
 

  Логин:

Пароль:

Регистрация

www.partskatalog.ru Все каталоги Запчасти Mercury Запчасти Suzuki Запчасти Tohatsu Запчасти Honda Контакты


Все разделы каталога запчастей на этот двигатель

назад Раздел:   вперёд

вернуться к списку узлов и деталей

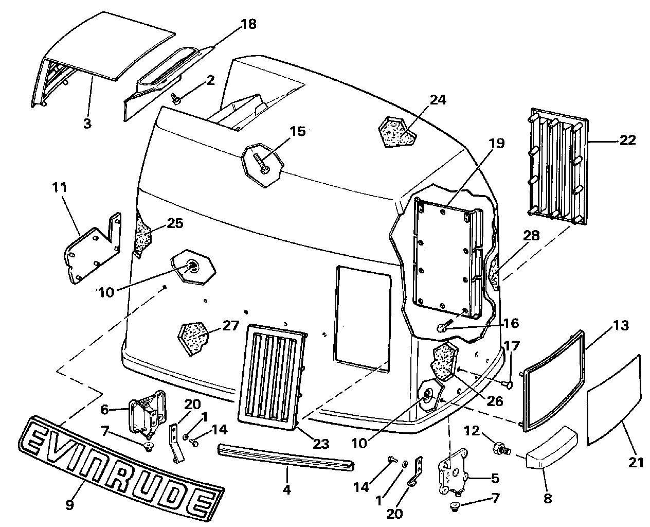
ДЕТАЛИРОВКА ДЛЯ МОДЕЛИ: EVINRUDE E28ESLENE 1992

КРЫШКА ДВИГАТЕЛЯ (КАПОТ) - JOHNSON | ENGINE COVER - JOHNSON;


Подвесной мотор Эвинруд E28ESLENE 1992  - Johnson - Johnson

Номер на
рисунке
АртикулНаименованиеКол-во
на складе
Цена
1 0435153

Крышка двигателя (капот) в сборе. (ENGINE COVER ASSY.)

нет в наличии, поставок нет
2 0322882

Рукоятка наклона (TILT HANDLE)

нет в наличии, поставок нет
3 0330823

Винт, Рукоятка наклона (SCREW, Tilt handle)

нет в наличии, поставок нет
3 0325838

   (последний код) SCREW

нет в наличии, поставок нет
4 0207482

Крючок капота двигателя, front (HOOK, Engine cover, front)

нет в наличии, поставок нет
4 0206656

   (последний код) HOOK

нет в наличии, поставок нет
5 0329635

Крючок капота двигателя, rear (HOOK, Engine cover, rear)

нет в наличии, поставок нет
5 0316171

   (последний код) ANCHOR BLOCK

нет в наличии, поставок нет
6 0335321

Пластина, Рама, front (PLATE, Frame, front)

нет в наличии, поставок нет
7 0554355

Заклёпка (RIVET)

нет в наличии, поставок нет
7 0544355

   (последний код) RIVET

нет в наличии, поставок нет
8 0207863

Рама, Front (FRAME, Front)

нет в наличии, поставок нет
8 0206660

   (последний код) APPLIQUE

нет в наличии, поставок нет
9 0316225

Резинка капота двигателя (SEAL, Engine cover)

нет в наличии, поставок нет
9 0326487

   (последний код) SEAL

нет в наличии, поставок нет
10 0211273

SOUND BLANKET, Top (SOUND BLANKET, Top)

нет в наличии, поставок нет
10 0341523

   (последний код) BLANKET,SOUND

нет в наличии, поставок нет
10 0211275

SOUND BLANKET, Port (SOUND BLANKET, Port)

нет в наличии, поставок нет
10 0341525

   (последний код) BLANKET,SOUND

нет в наличии, поставок нет
10 0211276

SOUND BLANKET, Front (SOUND BLANKET, Front)

нет в наличии, поставок нет
10 0341526

   (последний код) BLANKET,SOUND

нет в наличии, поставок нет
10 0211274

SOUND BLANKET, Stbd. (SOUND BLANKET, Stbd.)

нет в наличии, поставок нет
10 0341524

   (последний код) BLANKET,SOUND

нет в наличии, поставок нет
11 0317223

Гайка, Push-on (NUT, Push-on)

нет в наличии, поставок нет
12 0335041

Рама, Rear (FRAME, Rear)

нет в наличии, поставок нет
13 0335323

Пластина, Рама, rear (PLATE, Frame, rear)

нет в наличии, поставок нет
14 0334528

Винт, Рама mtg., rear (SCREW, Frame mtg., rear)

нет в наличии, поставок нет
15 0433392

Крышка двигателя (капот), нижний (ENGINE COVER, Lower)

нет в наличии, поставок нет
15 0432472

   (последний код) CYL&CRKCASE-AY

нет в наличии, поставок нет
16 0395910

HANDLE & Вал в сборе., Latch (HANDLE & SHAFT ASSY., Latch)

нет в наличии, поставок нет
17 0321863

Шайба, Latch handle (WASHER, Latch handle)

нет в наличии, поставок нет
18 0313607

FITTING, Lube (FITTING, Lube)

нет в наличии, поставок нет
18 3852121

   (последний код) FITTING,LUB

нет в наличии, поставок нет
19 0553766

Волнистая шайба (WAVE WASHER)

нет в наличии, поставок нет
19 0123886

   (последний код) SPRING-WASHE

нет в наличии, поставок нет
20 0321319

Рычаг, Latch, нижний eng. cov. (LEVER, Latch, lower eng. cov.)

нет в наличии, поставок нет
21 0328703

Шайба, Винт, handle & Вал в сборе. (WASHER, Screw, handle & shaft assy.)

нет в наличии, поставок нет
21 3852184

   (последний код) WASHER

нет в наличии, поставок нет
22 0912127

Винт, Handle & Вал в сборе (SCREW, Handle & shaft assy)

нет в наличии, поставок нет
23 0335344

Заглушка, Тросик дросселя (PLUG, Throttle cable)

нет в наличии, поставок нет
24 0331370

Пыльник (GROMMET)

нет в наличии, поставок нет
25 0335527

Заглушка, Переключающая тяга (PLUG, Shift rod)

нет в наличии, поставок нет
26 0203622

Шайба (WASHER)

нет в наличии, поставок нет
27 0329240

Винт (SCREW)

нет в наличии, поставок нет
27 0314451

   (последний код) SCREW

нет в наличии, поставок нет
28 0304019

Пыльник, Управление Вал (GROMMET, Control shaft)

нет в наличии, поставок нет
29 0325327

Пыльник, Пускатель cam (GROMMET, Actuator cam)

нет в наличии, поставок нет
30 0319358

Винт зажима to Крышка (SCREW, Clamp to cover)

нет в наличии, поставок нет
30 0329110

   (последний код) SCREW

нет в наличии, поставок нет
31 0325972

Струбцина, Электрика Кабелиs (CLAMP, Electrical cables)

нет в наличии, поставок нет
31 0313786

   (последний код) CLAMP

нет в наличии, поставок нет
32 0330996

Сальник, Топливный коннектор (SEAL, Fuel connector)

нет в наличии, поставок нет
33 0397444

Топливный коннектор в сборе. (FUEL CONNECTOR ASSY.)

нет в наличии, поставок нет
33 0438793

   (последний код) KIT AY,FUEL CONN

нет в наличии, поставок нет
35 0329217

Винт, Топливный коннектор & grd. lead (SCREW, Fuel connector & grd. lead)

нет в наличии, поставок нет
35 0333707

   (последний код) SCREW

нет в наличии, поставок нет
36 0302406

Проставка (SPACER)

нет в наличии, поставок нет
37 0325868

Кронштейн, Cove to exh. hsg., front (BRACKET, Cove to exh. hsg., front)

нет в наличии, поставок нет
37 0320410

   (последний код) BRACKET

нет в наличии, поставок нет
38 0908158

Винт, Кронштейн (SCREW, Bracket)

нет в наличии, поставок нет
38 3852050

   (последний код) SCREW

нет в наличии, поставок нет
39 0320158

Сальник, Корпус to Крышка (SEAL, Housing to cover)

нет в наличии, поставок нет
40 0334761

Пыльник (GROMMET)

нет в наличии, поставок нет
41 0332638

Винт, Anchor Кронштейн (SCREW, Anchor bracket)

нет в наличии, поставок нет
42 0121470

Гайка, Anchor Кронштейн (NUT, Anchor bracket)

нет в наличии, поставок нет
43 0332637

BLOCK, Anchor (BLOCK, Anchor)

нет в наличии, поставок нет
43 0331594

   (последний код) STAND-OFF

нет в наличии, поставок нет
44 0319954

Винт, Anchor block Креплениеing (SCREW, Anchor block mounting)

нет в наличии, поставок нет
44 0319953

   (последний код) SCREW

нет в наличии, поставок нет
45 0313022

Гайка, Anchor block Креплениеing (NUT, Anchor block mounting)

нет в наличии, поставок нет
45 3852118

   (последний код) NUT,LOCK

нет в наличии, поставок нет
46 0123140

Фиксатор, Зажим (RETAINER, Clip)

нет в наличии, поставок нет
47 0331460

LOCK Кронштейн (LOCK BRACKET)

нет в наличии, поставок нет
48 0908158

Винт, Lock Кронштейн (SCREW, Lock bracket)

нет в наличии, поставок нет
48 3852050

   (последний код) SCREW

нет в наличии, поставок нет
49 0378347

Шнур стартера (STARTER ROPE)

нет в наличии, поставок нет
50 0329241

Шайба, Пыльник to Крышка (WASHER, Grommet to cover)

нет в наличии, поставок нет
50 3852193

   (последний код) WASHER

нет в наличии, поставок нет
51 0316354

Пыльник (GROMMET)

нет в наличии, поставок нет
51 0302405

   (последний код) GROMMET

нет в наличии, поставок нет
52 0316487

Фиксатор, Топливный шлангs (RETAINER, Fuel hoses)

нет в наличии, поставок нет
53 0327121

Пыльник, Кабель аккумулятора (GROMMET, Battery cable)

нет в наличии, поставок нет
0211794 0211794

OPERATORS ручной. Not Shown (OPERATORS MANUAL. Not Shown)

нет в наличии, поставок нет
0435621 0435621

Комплект наклеек, Jo.. Not Shown (DECAL SET, Jo.. Not Shown)

нет в наличии, поставок нет
0435621 0435191

   (последний код) DECAL AY,SET

нет в наличии, поставок нет
evinrude

Время выполнения запроса 3.7041139602661 сек.


 
 

данный сайт носит информационный характер и не является публичной офертой

склад запчастей для водомоторной техники