вконтакте

Контактный телефон: +7 (981) 121-46-93, +7 (800) 200-90-76 , Email: parts-katalog@yandex.ru, где купить

 
 

  Логин:

Пароль:

Регистрация

www.partskatalog.ru Все каталоги Запчасти Mercury Запчасти Suzuki Запчасти Tohatsu Запчасти Honda Контакты


Все разделы каталога запчастей на этот двигатель

назад Раздел:   вперёд

вернуться к списку узлов и деталей

ДЕТАЛИРОВКА ДЛЯ МОДЕЛИ: EVINRUDE HE25TELEDA 1996

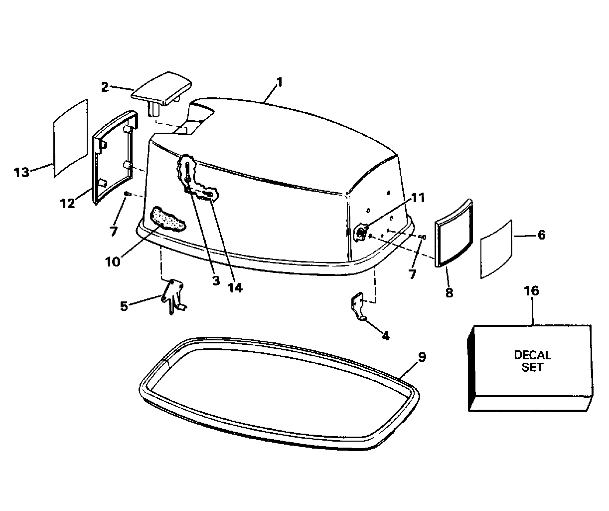
КРЫШКА ДВИГАТЕЛЯ (КАПОТ) - JOHNSON | ENGINE COVER - JOHNSON;


Двигатель Evinrude HE25TELEDA 1996  - Johnson - Johnson

Номер на
рисунке
АртикулНаименованиеКол-во
на складе
Цена
1 0435152

Крышка двигателя (капот) в сборе.. 25TE - 25TEL белый (ENGINE COVER ASSY.. 25TE - 25TEL White)

нет в наличии, поставок нет
1 0437188

Крышка двигателя (капот) в сборе.. 25TE - 25TEL Smoke (ENGINE COVER ASSY.. 25TE - 25TEL Smoke)

нет в наличии, поставок нет
1 5006434

   (последний код) COVER AY,MOTOR-UPR

нет в наличии, поставок нет
1 0435155

Крышка двигателя (капот) в сборе.. 30TE - 30TEL белый (ENGINE COVER ASSY.. 30TE - 30TEL White)

нет в наличии, поставок нет
1 0437189

Крышка двигателя (капот) в сборе.. 30TE - 30TEL Smoke (ENGINE COVER ASSY.. 30TE - 30TEL Smoke)

нет в наличии, поставок нет
1 5006434

   (последний код) COVER AY,MOTOR-UPR

нет в наличии, поставок нет
2 0322882

Рукоятка наклона (TILT HANDLE)

нет в наличии, поставок нет
3 0330823

Винт, Рукоятка наклона (SCREW, Tilt handle)

нет в наличии, поставок нет
3 0325838

   (последний код) SCREW

нет в наличии, поставок нет
4 0207482

Крючок капота двигателя, front (HOOK, Engine cover, front)

нет в наличии, поставок нет
4 0206656

   (последний код) HOOK

нет в наличии, поставок нет
5 0329635

Крючок капота двигателя, rear (HOOK, Engine cover, rear)

нет в наличии, поставок нет
5 0316171

   (последний код) ANCHOR BLOCK

нет в наличии, поставок нет
6 0337610

Пластина, Рама, front, 25. 25TE - 25TEL белый (PLATE, Frame, front, 25. 25TE - 25TEL White)

нет в наличии, поставок нет
6 0341132

Пластина, Рама, front, 25. 25TE - 25TEL Smoke (PLATE, Frame, front, 25. 25TE - 25TEL Smoke)

нет в наличии, поставок нет
6 0340229

   (последний код) PLATE

нет в наличии, поставок нет
6 0337614

Пластина, Рама, front, 30. 30TE - 30TEL белый (PLATE, Frame, front, 30. 30TE - 30TEL White)

нет в наличии, поставок нет
6 0341134

Пластина, Рама, front, 30. 30TE - 30TEL Smoke (PLATE, Frame, front, 30. 30TE - 30TEL Smoke)

нет в наличии, поставок нет
7 0554355

Заклёпка (RIVET)

нет в наличии, поставок нет
7 0544355

   (последний код) RIVET

нет в наличии, поставок нет
8 0207863

Рама, Front. белый (FRAME, Front. White)

нет в наличии, поставок нет
8 0206660

   (последний код) APPLIQUE

нет в наличии, поставок нет
8 0335032

Рама, Front. Smoke (FRAME, Front. Smoke)

нет в наличии, поставок нет
9 0316225

Резинка капота двигателя (SEAL, Engine cover)

нет в наличии, поставок нет
9 0326487

   (последний код) SEAL

нет в наличии, поставок нет
10 0341523

SOUND BLANKET, Top (SOUND BLANKET, Top)

нет в наличии, поставок нет
10 0211273

   (последний код) SOUND-BLANKE

нет в наличии, поставок нет
10 0341525

SOUND BLANKET, Port (SOUND BLANKET, Port)

нет в наличии, поставок нет
10 0211275

   (последний код) SOUND-BLANKE

нет в наличии, поставок нет
10 0341526

SOUND BLANKET, Front (SOUND BLANKET, Front)

нет в наличии, поставок нет
10 0211276

   (последний код) SOUND-BLANKE

нет в наличии, поставок нет
10 0341524

SOUND BLANKET, Stbd. (SOUND BLANKET, Stbd.)

нет в наличии, поставок нет
10 0211274

   (последний код) SOUND-BLANKE

нет в наличии, поставок нет
11 0317223

Гайка, Push-on (NUT, Push-on)

нет в наличии, поставок нет
12 0338054

Рама, Rear. белый (FRAME, Rear. White)

нет в наличии, поставок нет
12 0335041

Рама, Rear. Smoke (FRAME, Rear. Smoke)

нет в наличии, поставок нет
13 0337611

Пластина, Рама, rear, 25. 25TE - 25TEL белый (PLATE, Frame, rear, 25. 25TE - 25TEL White)

нет в наличии, поставок нет
13 0341340

Пластина, Рама, rear, 25. 25TE - 25TEL Smoke (PLATE, Frame, rear, 25. 25TE - 25TEL Smoke)

нет в наличии, поставок нет
13 0340233

   (последний код) PLATE

нет в наличии, поставок нет
13 0337615

Пластина, Рама, rear, 30. 30TE - 30TEL белый (PLATE, Frame, rear, 30. 30TE - 30TEL White)

нет в наличии, поставок нет
13 0341135

Пластина, Рама, rear, 30. 30TE - 30TEL Smoke (PLATE, Frame, rear, 30. 30TE - 30TEL Smoke)

нет в наличии, поставок нет
14 0334528

Винт, Рама Креплениеing, rear (SCREW, Frame mounting, rear)

нет в наличии, поставок нет
16 0435618

Комплект наклеек. 25TE - 25TEL белый (DECAL SET. 25TE - 25TEL White)

нет в наличии, поставок нет
16 0435619

   (последний код) DECAL AY,SET

нет в наличии, поставок нет
16 0435622

Комплект наклеек. 30TE - 30TEL белый (DECAL SET. 30TE - 30TEL White)

нет в наличии, поставок нет
16 0437039

Комплект наклеек. 25TE - 25TEL 30TE - 30TEL Smoke (DECAL SET. 25TE - 25TEL 30TE - 30TEL Smoke)

нет в наличии, поставок нет
evinrude

Время выполнения запроса 1.9260981082916 сек.


 
 

данный сайт носит информационный характер и не является публичной офертой

склад запчастей для водомоторной техники