вконтакте

Контактный телефон: +7 (981) 121-46-93, +7 (800) 200-90-76 , Email: parts-katalog@yandex.ru, где купить

 
 

  Логин:

Пароль:

Регистрация

www.partskatalog.ru Все каталоги Запчасти Mercury Запчасти Suzuki Запчасти Tohatsu Запчасти Honda Контакты


Все разделы каталога запчастей на этот двигатель

назад Раздел:   вперёд

вернуться к списку узлов и деталей

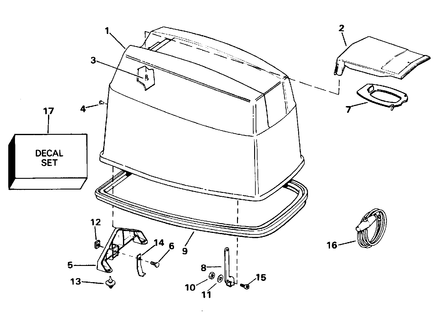
ДЕТАЛИРОВКА ДЛЯ МОДЕЛИ: EVINRUDE SE65WMLM 1996

КРЫШКА ДВИГАТЕЛЯ (КАПОТ) | ENGINE COVER;


Мотор Evinrude SE65WMLM 1996  - gine Крышка

Номер на
рисунке
АртикулНаименованиеКол-во
на складе
Цена
1 0284736

Крышка двигателя (капот) в сборе., Evinrude (ENGINE COVER ASSY., Evinrude)

нет в наличии, поставок нет
1 0285134

   (последний код) UMC AY,EV/BLU/3CYL

нет в наличии, поставок нет
1 0436570

Крышка двигателя (капот) в сборе., Johnson (ENGINE COVER ASSY., Johnson)

нет в наличии, поставок нет
1 0439832

   (последний код) COVER AY, MOTOR

нет в наличии, поставок нет
2 0208208

Рукоятка наклона (TILT HANDLE)

нет в наличии, поставок нет
3 0323228

Винт, Рукоятка наклона, rear (SCREW, Tilt handle, rear)

нет в наличии, поставок нет
3 0323229

Винт, Рукоятка наклона, front (SCREW, Tilt handle, front)

нет в наличии, поставок нет
4 0326948

Заклёпка, Кронштейн to Крышка (RIVET, Bracket to cover)

нет в наличии, поставок нет
4 0331881

   (последний код) RIVET

нет в наличии, поставок нет
5 0210213

LOCATING Кронштейн (LOCATING BRACKET)

нет в наличии, поставок нет
5 0206128

   (последний код) BRACKET

нет в наличии, поставок нет
6 0307029

Винт, Крючок Креплениеing (SCREW, Hook mounting)

нет в наличии, поставок нет
7 0210296

BAFFLE, Рукоятка наклона (BAFFLE, Tilt handle)

нет в наличии, поставок нет
8 0340945

Крючок спереди (HOOK, Front)

нет в наличии, поставок нет
9 0338977

Резинка капота двигателя (SEAL, Engine cover)

нет в наличии, поставок нет
10 0121314

Гайка, Крючок спереди (NUT, Hook, front)

нет в наличии, поставок нет
11 0125545

Шайба, Крючок спереди (WASHER, Hook, front)

нет в наличии, поставок нет
11 0552783

   (последний код) WASHER

нет в наличии, поставок нет
12 0203688

Гайка (NUT)

нет в наличии, поставок нет
12 0328710

   (последний код) NUT-SCREW-ID

нет в наличии, поставок нет
13 0313984

Бампер, Кронштейн (BUMPER, Bracket)

нет в наличии, поставок нет
14 0340952

Крючок, Rear (HOOK, Rear)

нет в наличии, поставок нет
15 0333727

Винт, Крючок спереди (SCREW, Hook, front)

нет в наличии, поставок нет
15 0333016

   (последний код) SCREW

нет в наличии, поставок нет
16 0378347

Шнур, Emergency start (ROPE, Emergency start)

нет в наличии, поставок нет
17 0284838

Комплект наклеек, Evinrude (DECAL SET, Evinrude)

нет в наличии, поставок нет
17 0437081

Комплект наклеек, Johnson (DECAL SET, Johnson)

нет в наличии, поставок нет
evinrude

Время выполнения запроса 0.92402815818787 сек.


 
 

данный сайт носит информационный характер и не является публичной офертой

склад запчастей для водомоторной техники