вконтакте

Контактный телефон: +7 (981) 121-46-93, +7 (800) 200-90-76 , Email: parts-katalog@yandex.ru, где купить

 
 

  Логин:

Пароль:

Регистрация

www.partskatalog.ru Все каталоги Запчасти Mercury Запчасти Suzuki Запчасти Tohatsu Запчасти Honda Контакты



УВАЖАЕМЫЕ КЛИЕНТЫ!
C 19 ДЕКАБРЯ 2025 ПО 02 МАРТА 2026 ГОДА ОТДЕЛ ЗАПЧАСТЕЙ И СЕРВИС РАБОТАТЬ НЕ БУДУТ
ПРОДАЖА ЛОДОЧНЫХ МОТОРОВ В ШТАТНОМ РЕЖИМЕ
ОБ ИЗМЕНЕНИЯХ В ГРАФИКЕ РАБОТЫ ЧИТАЙТЕ НА САЙТА




Все разделы каталога запчастей на этот двигатель

Раздел:   вперёд

вернуться к списку узлов и деталей

ДЕТАЛИРОВКА ДЛЯ МОДЕЛИ: EVINRUDE HE90TXADA 1996

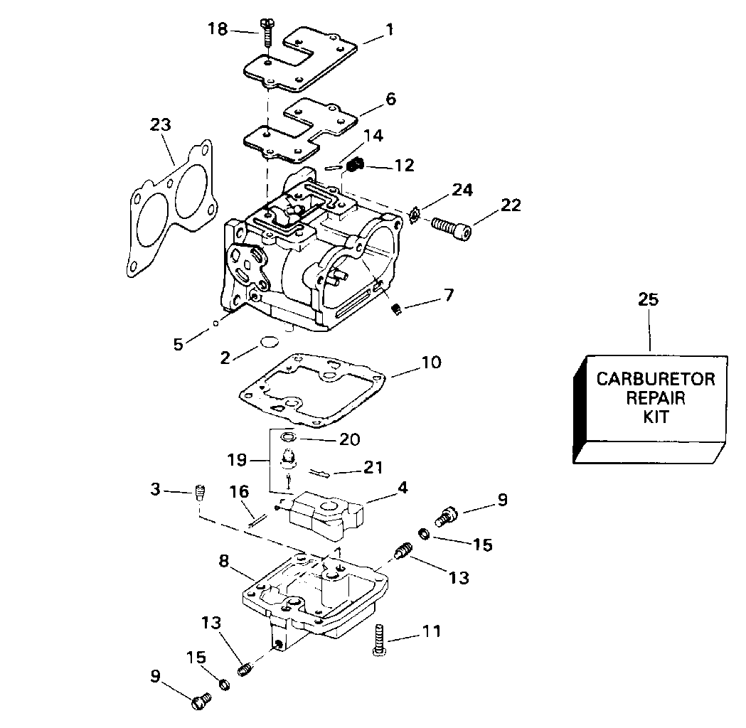
КАРБЮРАТОР | CARBURETOR;


Мотор Evinrude HE90TXADA 1996  - rburetor / rburetor

Номер на
рисунке
АртикулНаименованиеКол-во
на складе
Цена
0437205 0437205

Карбюратор в сборе., 115 models. Not Shown (CARBURETOR ASSY., 115 models. Not Shown)

нет в наличии, поставок нет
0437205 0439728

   (последний код) CARBURETOR AY, 115

нет в наличии, поставок нет
0437209 0437209

Карбюратор в сборе., 88 / 90 models. Not Shown (CARBURETOR ASSY., 88/90 models. Not Shown)

нет в наличии, поставок нет
0437209 0439727

   (последний код) CARBURETOR AY

нет в наличии, поставок нет
1 0334352

Крышка, Idle channel (COVER, Idle channel)

нет в наличии, поставок нет
1 0330132

   (последний код) COVER-IDLE-C

нет в наличии, поставок нет
2 0202310

CORE Заглушка (CORE PLUG)

нет в наличии, поставок нет
3 0324652

ORIFICE, #26, 88 / 90 (ORIFICE, #26, 88/90)

нет в наличии, поставок нет
3 0323003

ORIFICE, #25, 115 models (ORIFICE, #25, 115 models)

нет в наличии, поставок нет
4 0383437

Поплавок в сборе. (FLOAT ASSY.)

нет в наличии, поставок нет
5 0304201

LEAD SHOT (LEAD SHOT)

нет в наличии, поставок нет
6 0334353

Прокладка, Idle channel (GASKET, Idle channel)

нет в наличии, поставок нет
6 0327931

   (последний код) GASKET

нет в наличии, поставок нет
7 0323149

ORIFICE, Idle, #38 (ORIFICE, Idle, #38)

нет в наличии, поставок нет
8 0392376

Поплавковая камера в сборе. (FLOAT CHAMBER ASSY.)

нет в наличии, поставок нет
8 0393784

   (последний код) FLT-CHAMBER-

нет в наличии, поставок нет
9 0330131

Винт заглушки (SCREW, Plug)

нет в наличии, поставок нет
9 0323783

   (последний код) SCREW-PLUG

нет в наличии, поставок нет
10 0338884

Прокладка, Поплавок bowl (GASKET, Float bowl)

нет в наличии, поставок нет
10 0333418

   (последний код) GASKET

нет в наличии, поставок нет
11 0333430

Винт, Bowl to Корпус (SCREW, Bowl to body)

нет в наличии, поставок нет
12 0314887

Пружина, Дроссель return (SPRING, Throttle return)

нет в наличии, поставок нет
13 0325019

ORIFICE, High speed, #56C, 88 / 90 models (ORIFICE, High speed, #56C, 88/90 models)

нет в наличии, поставок нет
13 0317183

ORIFICE, High speed, #67C, 115 models (ORIFICE, High speed, #67C, 115 models)

нет в наличии, поставок нет
13 0314893

   (последний код) ORIFICE PLUG

нет в наличии, поставок нет
14 0314575

ROLL Штифт, Вал (ROLL PIN, Shaft)

нет в наличии, поставок нет
15 0321117

Уплотнительное кольцо, Сливной винт (O-RING, Screw plug)

5 шт100 руб.
15 3852165

   (последний код) O-RING

5 шт80 руб.
16 0302661

Стопор поплавка (PIN, Float)

нет в наличии, поставок нет
18 0333750

Винт, Крышка (SCREW, Cover)

нет в наличии, поставок нет
19 0396520

Клапан поплавка в сборе. (FLOAT VALVE ASSY.)

нет в наличии, поставок нет
19 0394970

   (последний код) FLOAT-VALVE&

нет в наличии, поставок нет
20 0301996

Прокладка (GASKET)

1 шт140 руб.
21 0336842

Зажим, Клапан поплавка (CLIP, Float valve)

нет в наличии, поставок нет
21 0603145

   (последний код) CLIP

нет в наличии, поставок нет
22 0203023

Винт, Карбюратор Креплениеing (SCREW, Carburetor mounting)

нет в наличии, поставок нет
23 0327707

Прокладка карбюратора Креплениеing (GASKET, Carburetor mounting)

нет в наличии, поставок нет
23 0326118

   (последний код) GASKET

нет в наличии, поставок нет
24 0301551

Шайба с блокировкой (LOCK WASHER)

нет в наличии, поставок нет
25 0434888

Ремкомплект карбюратора (CARBURETOR REPAIR KIT)

нет в наличии, поставок нет
25 0439076

   (последний код) KIT AY,CARB REPAIR

нет в наличии, поставок нет
evinrude

Время выполнения запроса 2.5029950141907 сек.


 
 

данный сайт носит информационный характер и не является публичной офертой

склад запчастей для водомоторной техники