вконтакте

Контактный телефон: +7 (981) 121-46-93, +7 (800) 200-90-76 , Email: parts-katalog@yandex.ru, где купить

 
 

  Логин:

Пароль:

Регистрация

www.partskatalog.ru Все каталоги Запчасти Mercury Запчасти Suzuki Запчасти Tohatsu Запчасти Honda Контакты


Все разделы каталога запчастей на этот двигатель

назад Раздел:   вперёд

вернуться к списку узлов и деталей

ДЕТАЛИРОВКА ДЛЯ МОДЕЛИ: EVINRUDE E115TLEDA 1996

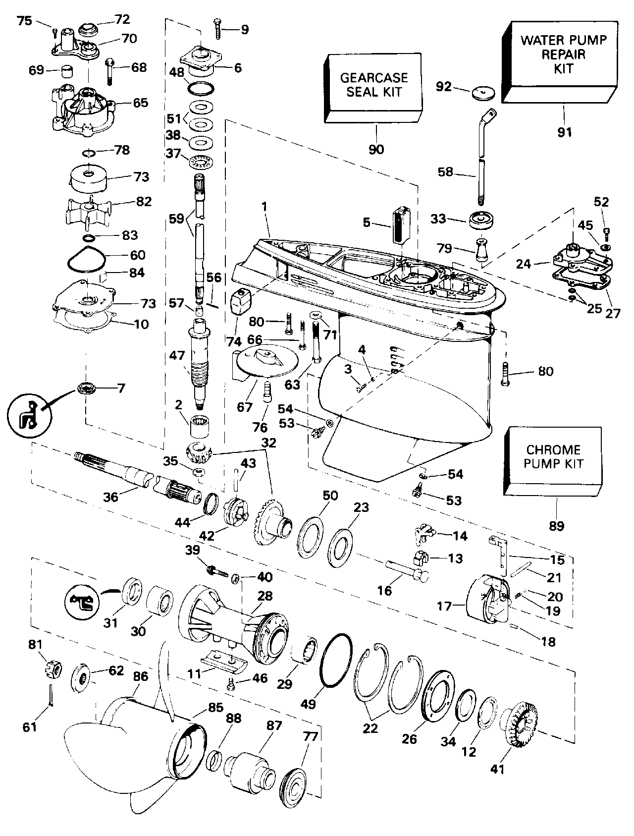
РЕДУКТОР | GEARCASE;


Лодочный мотор Эвинруд E115TLEDA 1996  - arcase

Номер на
рисунке
АртикулНаименованиеКол-во
на складе
Цена
0435474 0435474

Редуктор в сборе., комплект. Not Shown (GEARCASE ASSY., Complete. Not Shown)

нет в наличии, поставок нет
0435474 5000356

   (последний код) G/C AY*CV4&LV4 .50

нет в наличии, поставок нет
1 0431642

Редуктор в сборе с подшипником. (GEARCASE & BEARING ASSY.)

нет в наличии, поставок нет
1 0394763

   (последний код) GEARCASE&BRG AY

нет в наличии, поставок нет
2 0384195

Подшипник, Шестерня (BEARING, Pinion)

нет в наличии, поставок нет
3 0324852

Установочный винт, Подшипник (SET SCREW, Bearing)

нет в наличии, поставок нет
4 0332584

Шайба (WASHER)

нет в наличии, поставок нет
5 0323466

Водяной экран Система впуска (SCREEN, Water intake)

нет в наличии, поставок нет
5 0314996

   (последний код) SCREEN

нет в наличии, поставок нет
6 0437215

Подшипник Корпус & Сальник в сборе. (BEARING HOUSING & SEAL ASSY.)

нет в наличии, поставок нет
6 0439476

   (последний код) DS BRG HSG&SEAL AY

нет в наличии, поставок нет
7 0341280

Сальник, DriveВал (SEAL, Driveshaft)

нет в наличии, поставок нет
9 0317624

Винт, Корпус to Редуктор (SCREW, Housing to gearcase)

нет в наличии, поставок нет
10 0338484

Прокладка, Imp. Корпус Пластина. Also included in kit 438278 (GASKET, Imp. housing plate. Also included in kit 438278)

нет в наличии, поставок нет
10 0324701

   (последний код) GASKET,-DRL5

нет в наличии, поставок нет
11 0431708

Анод, Подшипник Корпус (ANODE, Bearing housing)

нет в наличии, поставок нет
11 0397111

   (последний код) ANODE-AY

нет в наличии, поставок нет
12 0382408

THRUST BRG., в сборе., Rev. Шестерня (THRUST BRG., ASSY., Rev. gear)

нет в наличии, поставок нет
13 0334163

CRADLE, Переключательer (CRADLE, Shifter)

5 шт1880 руб.
13 0322900

   (последний код) CRADLE-SHIFT

нет в наличии, поставок нет
14 0324037

Рычаг переключателя (LEVER, Shift)

8 шт3700 руб.
15 0323946

DETENT, Переключательer (DETENT, Shifter)

нет в наличии, поставок нет
15 0915954

   (последний код) DETENT

нет в наличии, поставок нет
16 0322941

Вал (SHAFT)

нет в наличии, поставок нет
17 0391365

Подшипник Корпус & Штифт в сборе. (BEARING HOUSING & PIN ASSY.)

нет в наличии, поставок нет
17 0984096

   (последний код) BEARING HOUSING

нет в наличии, поставок нет
18 0331880

Штифт, Корпус (PIN, Housing)

нет в наличии, поставок нет
19 0911961

Фиксатор пружины (SPRING, Detent)

нет в наличии, поставок нет
20 0327345

Шарик, Detent (BALL, Detent)

нет в наличии, поставок нет
21 0320145

Штифт (PIN)

нет в наличии, поставок нет
21 0323945

   (последний код) PIN-SHIFTER

нет в наличии, поставок нет
22 0313445

Стопорное кольцо (RETAINING RING)

нет в наличии, поставок нет
23 0324766

Упорная шайба, дляward Шестерня (THRUST WASHER, Forward gear)

нет в наличии, поставок нет
24 0435482

Крышка & Сальник в сборе. (COVER & SEAL ASSY.)

нет в наличии, поставок нет
24 5006241

   (последний код) COVER AY,SHIFT ROD

нет в наличии, поставок нет
25 0318372

Уплотнительное кольцо, Переключающая тяга (O-RING, Shift rod)

нет в наличии, поставок нет
26 0314732

Фиксатор Пластина, Подшипник Корпус (RETAINER PLATE, Bearing housing)

нет в наличии, поставок нет
27 0324670

Прокладка крышки (GASKET, Cover)

нет в наличии, поставок нет
27 0352165

   (последний код) GASKET

2 шт550 руб.
28 0397087

Подшипник Корпус Сальник в сборе. (BEARING HOUSING SEAL ASSY.)

нет в наличии, поставок нет
28 0384523

   (последний код) PS BRG HSG&SEAL AY

нет в наличии, поставок нет
29 0382407

Игольчатый подшипник в сборе. (NEEDLE BEARING ASSY.)

1 шт5500 руб.
30 0379504

Игольчатый подшипник в сборе. (NEEDLE BEARING ASSY.)

нет в наличии, поставок нет
31 0342787

Сальник (SEAL)

нет в наличии, поставок нет
32 0436746

Шестерня & Комплект шестерёнок. (GEAR & PINION ASSY.)

1 шт47700 руб.
32 0434063

   (последний код) GEARSET,MATCHED

нет в наличии, поставок нет
33 0321008

Пыльник (GROMMET)

нет в наличии, поставок нет
34 0314731

THRUST Шайба шестерни заднего хода (THRUST WASHER, Reverse gear)

нет в наличии, поставок нет
35 0314730

Гайка, Шестерня to driveВал (NUT, Pinion to driveshaft)

нет в наличии, поставок нет
36 0436888

Вал гребного винта в сборе. (PROPELLER SHAFT ASSY.)

нет в наличии, поставок нет
36 0387818

   (последний код) PROPSHAFT

нет в наличии, поставок нет
37 0387656

THRUST Подшипник, Шестерня (THRUST BEARING, Pinion)

нет в наличии, поставок нет
37 0383248

   (последний код) BEARING

нет в наличии, поставок нет
38 0327656

Упорная шайба шестерни Шестерня (THRUST WASHER, Pinion)

нет в наличии, поставок нет
38 0314729

   (последний код) THRUST-WASHE

нет в наличии, поставок нет
39 0316563

Винт & Сальник (SCREW & SEAL)

нет в наличии, поставок нет
40 0332583

Сальник (SEAL)

нет в наличии, поставок нет
41 0340490

Шестерня обратного хода (GEAR, Reverse)

нет в наличии, поставок нет
41 0345992

   (последний код) GEAR,REVERSE V4

нет в наличии, поставок нет
42 0323664

Переключатель собачки сцепления (SHIFTER, Clutch dog)

нет в наличии, поставок нет
42 0341517

   (последний код) TER,CLUTCH-D

нет в наличии, поставок нет
43 0313448

Штифт сцепления dog (PIN, Clutch dog)

нет в наличии, поставок нет
44 0324369

Пружина, Сцепление dog Штифт (SPRING, Clutch dog pin)

нет в наличии, поставок нет
44 0313454

   (последний код) SPRING

нет в наличии, поставок нет
45 0328702

Шайба, Переключающая тяга Крышка (WASHER, Shift rod cover)

нет в наличии, поставок нет
45 3852183

   (последний код) WASHER

нет в наличии, поставок нет
46 0908158

Винт (SCREW)

нет в наличии, поставок нет
46 3852050

   (последний код) SCREW

нет в наличии, поставок нет
47 0335722

DRIVEВал, нижний (DRIVESHAFT, Lower)

нет в наличии, поставок нет
47 0346006

   (последний код) DRIVESHAFT,LOWER

нет в наличии, поставок нет
48 0314728

Уплотнительное кольцо, DriveВал Подшипник (O-RING, Driveshaft bearing)

нет в наличии, поставок нет
48 0354731

   (последний код) O-RING

1 шт850 руб.
49 0313446

Уплотнительное кольцо, Корпус вала гребного винта (O-RING, Propeller shaft housing)

нет в наличии, поставок нет
50 0385043

THRUST BRG. в сборе., Fwd. Шестерня (THRUST BRG. ASSY., Fwd. gear)

нет в наличии, поставок нет
50 3852221

   (последний код) BEARING-AY,T

нет в наличии, поставок нет
51 0323362

Регулировочная шайба, Подшипник Корпус, 0.003 дюйм (0, 07 мм) (SHIM, Bearing housing, 0.003 in. (0,07mm))

нет в наличии, поставок нет
51 0323361

Регулировочная шайба, Подшипник Корпус, 0.004 дюйм (0, 10 мм) (SHIM, Bearing housing, 0.004 in. (0,10mm))

нет в наличии, поставок нет
51 0314745

Регулировочная шайба, Подшипник Корпус, 0.005 дюйм (0, 12 мм) (SHIM, Bearing housing, 0.005 in. (0,12mm))

нет в наличии, поставок нет
52 0302325

Винт, Крышка (SCREW, Cover)

нет в наличии, поставок нет
53 0318544

Заглушка, Fill и drain (PLUG, Fill and drain)

нет в наличии, поставок нет
53 0912624

   (последний код) SCREW

нет в наличии, поставок нет
54 0311598

Шайба (WASHER)

нет в наличии, поставок нет
54 3852105

   (последний код) WASHER

нет в наличии, поставок нет
56 0311538

ROLL Штифт, DriveВал (ROLL PIN, Driveshaft)

нет в наличии, поставок нет
57 0338504

Фиксатор приводного вала (RETAINER, Driveshaft)

нет в наличии, поставок нет
58 0332120

Переключающая тяга. 20 дюйм (508 мм) Transom Models (SHIFT ROD. 20 in. (508mm) Transom Models)

нет в наличии, поставок нет
58 0332121

Переключающая тяга. 25 дюйм (635 мм) Transom Models (SHIFT ROD. 25 in. (635mm) Transom Models)

нет в наличии, поставок нет
59 0435765

DRIVEВал, верхний 20 дюйм (508 мм) Transom Models (DRIVESHAFT, Upper. 20 in. (508mm) Transom Models)

нет в наличии, поставок нет
59 5007671

   (последний код) UPPER D/S KIT 20"

нет в наличии, поставок нет
59 0435766

DRIVEВал, верхний 25 дюйм (635 мм) Transom Models (DRIVESHAFT, Upper. 25 in. (635mm) Transom Models)

нет в наличии, поставок нет
59 5007672

   (последний код) KIT,UPPER D/S-25"

нет в наличии, поставок нет
60 0331353

Сальник, Крыльчатка Корпус Пластина (SEAL, Impeller housing plate)

1 шт790 руб.
61 0314502

Шплинт, Гайка гребного винта (COTTER PIN, Propeller nut)

нет в наличии, поставок нет
62 0315810

Проставка гайки гребного винта (SPACER, Propeller nut)

нет в наличии, поставок нет
63 0331998

Винт, Редуктор to Корпус (SCREW, Gearcase to housing)

нет в наличии, поставок нет
63 0914535

   (последний код) SCREW

нет в наличии, поставок нет
65 0435990

Крыльчатка Корпус в сборе. (IMPELLER HOUSING ASSY.)

нет в наличии, поставок нет
66 0328096

Винт, Анод (SCREW, Anode)

нет в наличии, поставок нет
66 0327046

   (последний код) SCREW

нет в наличии, поставок нет
67 0327640

Пластина трима, Редуктор (TRIM TAB, Gearcase)

нет в наличии, поставок нет
67 0338742

   (последний код) TAB,TRIM-STD

нет в наличии, поставок нет
68 0302325

Винт, Крыльчатка Корпус (SCREW, Impeller housing)

нет в наличии, поставок нет
69 0314008

Пыльник водяной трубки (GROMMET, Water tube)

нет в наличии, поставок нет
70 0338893

Крышка (COVER)

нет в наличии, поставок нет
70 0321159

   (последний код) COVER-IMP-HS

нет в наличии, поставок нет
71 0330265

Шайба с блокировкой, Винт, long (LOCK WASHER, Screw, long)

нет в наличии, поставок нет
72 0320943

Пыльник, Крыльчатка Корпус (GROMMET, Impeller housing)

1 шт300 руб.
73 0435027

Cвыше & Пластина, Крыльчатка. Stainless Steel (CUP & PLATE, Impeller. Stainless Steel)

нет в наличии, поставок нет
73 0330380

   (последний код) PLATE-IMPELL

нет в наличии, поставок нет
73 0435526

Cвыше & Пластина, Крыльчатка, chrome. хромированная пластина (CUP & PLATE, Impeller, chrome. Chrome Plated)

нет в наличии, поставок нет
73 0395059

   (последний код) CHROME PUMP KIT

нет в наличии, поставок нет
74 0436745

Анод (ANODE)

нет в наличии, поставок нет
74 0393023

   (последний код) ANODE&INSERT AY

нет в наличии, поставок нет
75 0306643

Винт, Крышка to Крыльчатка (SCREW, Cover to impeller)

нет в наличии, поставок нет
75 3852066

   (последний код) SCREW

нет в наличии, поставок нет
76 0313715

Винт, Пластина трима (SCREW, Trim tab)

нет в наличии, поставок нет
77 0127084

Упорная втулка, 3-blade (THRUST BUSHING, 3-blade)

нет в наличии, поставок нет
77 0384574

   (последний код) BUSHING

нет в наличии, поставок нет
77 0127212

Упорная втулка, 4-blade (THRUST BUSHING, 4-blade)

нет в наличии, поставок нет
78 0331188

Уплотнительное кольцо, Крыльчатка Корпус (O-RING, Impeller housing)

5 шт370 руб.
79 0321122

Проставка, Переключающая тяга. 25 дюйм (635 мм) Transom Models (SPACER, Shift rod. 25 in. (635mm) Transom Models)

нет в наличии, поставок нет
80 0331999

Винт, Редуктор to Выхлоп hsg. (SCREW, Gearcase to exhaust hsg.)

нет в наличии, поставок нет
80 0910457

   (последний код) SCREW

нет в наличии, поставок нет
81 0314503

Гайка гребного винта (NUT, Propeller)

нет в наличии, поставок нет
82 0435821

Крыльчатка в сборе. (IMPELLER ASSY.)

нет в наличии, поставок нет
82 5001593

   (последний код) KIT AY,IMPELLER

нет в наличии, поставок нет
83 0302035

Уплотнительное кольцо, Крыльчатка (O-RING, Impeller)

нет в наличии, поставок нет
84 0331107

CAM, Крыльчатка (CAM, Impeller)

нет в наличии, поставок нет
85 0

Гребной винт. Refer to OMC SysteMatched Parts & Аксессуары Гребной винт Chart. (PROPELLER. Refer to OMC SysteMatched Parts & Accessories Propeller Chart.)

нет в наличии, поставок нет
86 0332393

CONVERGING Кольцо (CONVERGING RING)

нет в наличии, поставок нет
86 0325996

   (последний код) CONVERGING RING

нет в наличии, поставок нет
87 0384977

PROP. Втулка в сборе., 3-blade (PROP. BUSHING ASSY., 3-blade)

нет в наличии, поставок нет
87 0176228

PROP. Втулка в сборе., 4-blade (PROP. BUSHING ASSY., 4-blade)

нет в наличии, поставок нет
88 0313926

Гильза (SLEEVE)

нет в наличии, поставок нет
88 3850831

   (последний код) SLEEVE-PROP

нет в наличии, поставок нет
89 0435526

Хромированный ремкомплект водяного насоса (CHROME PUMP KIT)

нет в наличии, поставок нет
89 0395059

   (последний код) CHROME PUMP KIT

нет в наличии, поставок нет
90 0438278

Комплект сальников редуктора (GEARCASE SEAL KIT)

нет в наличии, поставок нет
90 5006373

   (последний код) KIT AY,SEAL-GC

нет в наличии, поставок нет
91 0434421

Ремкомплект водяного насоса (Includes Крыльчатка hous ng) (WATER PUMP REPAIR KIT (Includes impeller hous ng))

нет в наличии, поставок нет
91 5001594

   (последний код) KIT AY,WATER PUMP

нет в наличии, поставок нет
91 T-5001594

   (не оригинальный аналог) Ремкомплект насоса охлаждения Evinrude-Johnson 5001594

2 шт штпо запросу
92 0322302

Сальник, Переключающая тяга, except Jet (SEAL, Shift rod, except Jet)

нет в наличии, поставок нет
92 0321361

   (последний код) SEAL

нет в наличии, поставок нет
evinrude

Время выполнения запроса 2.6850399971008 сек.


 
 

данный сайт носит информационный характер и не является публичной офертой

склад запчастей для водомоторной техники