вконтакте

Контактный телефон: +7 (981) 121-46-93, +7 (800) 200-90-76 , Email: parts-katalog@yandex.ru, где купить

 
 

  Логин:

Пароль:

Регистрация

www.partskatalog.ru Все каталоги Запчасти Mercury Запчасти Suzuki Запчасти Tohatsu Запчасти Honda Контакты


Все разделы каталога запчастей на этот двигатель

назад Раздел:   вперёд

вернуться к списку узлов и деталей

ДЕТАЛИРОВКА ДЛЯ МОДЕЛИ: EVINRUDE E40ELECR 1998

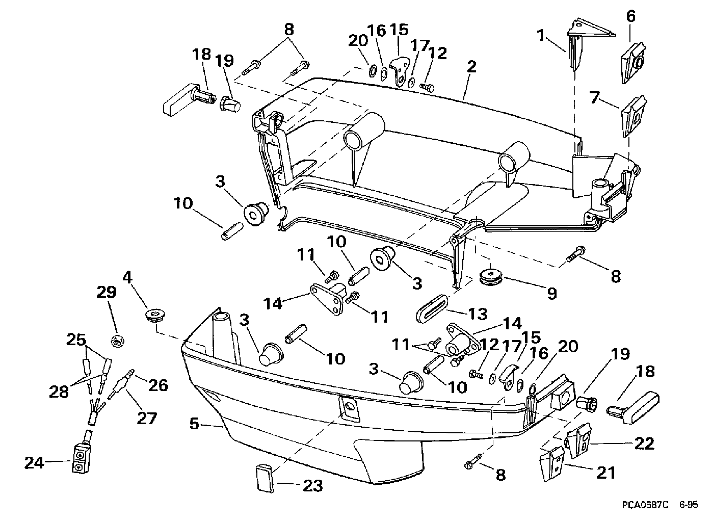
НИЖНЯЯ КРЫШКА ДВИГАТЕЛЯ | LOWER ENGINE COVER;


Лодочный мотор Эвинруд E40ELECR 1998  - wer Крышка двигателя (капот) / wer Engine Cover

Номер на
рисунке
АртикулНаименованиеКол-во
на складе
Цена
1 0333759

Кронштейн, Fuel conn.. 40TL, 50TL, 50TS Models 40TE Models Only 40E, 50ES Models 40TTL Models Only (BRACKET, Fuel conn.. 40TL, 50TL, 50TS Models 40TE Models Only 40E, 50ES Models 40TTL Models Only)

нет в наличии, поставок нет
1 0344240

Кронштейн, Fuel conn.. 40R, 50R Models (BRACKET, Fuel conn.. 40R, 50R Models)

нет в наличии, поставок нет
1 0333760

   (последний код) BRACKET

нет в наличии, поставок нет
2 0344373

Крышка двигателя (капот), нижний , port (ENGINE COVER, Lower, port)

нет в наличии, поставок нет
2 5004984

   (последний код) LMC AY, PORT/WHITE

нет в наличии, поставок нет
3 0332413

Крепление (MOUNT)

нет в наличии, поставок нет
4 0320521

Пыльник, Overboard Индикатор (GROMMET, Overboard indicator)

нет в наличии, поставок нет
5 0344374

Крышка двигателя (капот), нижний , stbd. (ENGINE COVER, Lower, stbd.)

нет в наличии, поставок нет
5 5004985

   (последний код) LMC AY, STBD/WHITE

нет в наличии, поставок нет
6 0333761

Кронштейн, Топливная груша.. 40R, 50R Models (BRACKET, Primer pump assy.. 40R, 50R Models)

нет в наличии, поставок нет
7 0340213

Пыльник, Inst. & Кабель аккумулятора. 40TL, 50TL, 50TS Models 40TTL Models Only (GROMMET, Inst. & battery cable. 40TL, 50TL, 50TS Models 40TTL Models Only)

нет в наличии, поставок нет
7 0334462

   (последний код) GROMMET

нет в наличии, поставок нет
7 0340214

Пыльник. 40TE Models Only 40E, 50ES Models (GROMMET. 40TE Models Only 40E, 50ES Models)

нет в наличии, поставок нет
8 0332415

Винт (SCREW)

нет в наличии, поставок нет
9 0321452

Пыльник, Переключающая тяга (GROMMET, Shift rod)

нет в наличии, поставок нет
9 0318249

   (последний код) GROMMET

нет в наличии, поставок нет
10 0332406

Штифт, Roll (PIN, Roll)

нет в наличии, поставок нет
11 0551793

Винт, Sвышеport, port & stbd. (SCREW, Support, port & stbd.)

нет в наличии, поставок нет
12 0912127

Винт, Latch to handle (SCREW, Latch to handle)

нет в наличии, поставок нет
13 0344332

Сальник, Рулевая система Рычаг (SEAL, Steering arm)

нет в наличии, поставок нет
13 0332441

   (последний код) SEAL

нет в наличии, поставок нет
14 0333772

Кронштейн, Крепление (BRACKET, Mount)

нет в наличии, поставок нет
15 0330253

LATCH (LATCH)

нет в наличии, поставок нет
15 0323235

   (последний код) HOOK-MTR-CVR

нет в наличии, поставок нет
16 0553766

Шайба, Latch handle (WASHER, Latch handle)

нет в наличии, поставок нет
16 0123886

   (последний код) SPRING-WASHE

нет в наличии, поставок нет
17 0328703

Шайба (WASHER)

нет в наличии, поставок нет
17 3852184

   (последний код) WASHER

нет в наличии, поставок нет
18 0396611

HANDLE в сборе., Latch (HANDLE ASSY., Latch)

нет в наличии, поставок нет
18 0432321

   (последний код) HDL&SFT-AY

нет в наличии, поставок нет
19 0334851

Втулка, Latch handle (BUSHING, Latch handle)

нет в наличии, поставок нет
20 0321863

Шайба, Latch handle Вал (WASHER, Latch handle shaft)

нет в наличии, поставок нет
21 0334164

Пыльник тросика дросселя. 40TL, 50TL, 50TS Models 40E, 50ES Models (GROMMET, Throttle cable. 40TL, 50TL, 50TS Models 40E, 50ES Models)

нет в наличии, поставок нет
22 0332478

Пыльник тросика управленияs. 40TE Models Only 40R, 50R Models 40TTL Models Only (GROMMET, Control cables. 40TE Models Only 40R, 50R Models 40TTL Models Only)

нет в наличии, поставок нет
23 0335694

Заглушка, Tilt & Переключатель трима. 40TE Models Only 40E, 50ES Models 40R, 50R Models (PLUG, Tilt & trim switch. 40TE Models Only 40E, 50ES Models 40R, 50R Models)

нет в наличии, поставок нет
23 0334833

   (последний код) PLUG

нет в наличии, поставок нет
24 0585146

TRIM / TILT Переключатель в сборе.. 40TL, 50TL, 50TS Models 40TTL Models Only (TRIM/TILT SWITCH ASSY.. 40TL, 50TL, 50TS Models 40TTL Models Only)

нет в наличии, поставок нет
24 0584841

   (последний код) SWITCH AY,T&T

нет в наличии, поставок нет
25 0512876

Клемма, Socket (TERMINAL, Socket)

нет в наличии, поставок нет
25 3852244

   (последний код) TERMINAL,SOC

нет в наличии, поставок нет
26 0512947

Клемма, Bullet (TERMINAL, Bullet)

нет в наличии, поставок нет
26 0910462

   (последний код) TERM.-60766-

нет в наличии, поставок нет
27 0513185

Гильза, Bullet Клемма (SLEEVE, Bullet terminal)

нет в наличии, поставок нет
27 0512948

   (последний код) SLEEVE

нет в наличии, поставок нет
28 0513186

Гильза, Socket (SLEEVE, Socket)

нет в наличии, поставок нет
28 3852248

   (последний код) SLEEVE,SKT-B

нет в наличии, поставок нет
29 0334656

Гайка, Tilt & Переключатель трима (NUT, Tilt & trim switch)

нет в наличии, поставок нет
evinrude

Время выполнения запроса 2.5896258354187 сек.


 
 

данный сайт носит информационный характер и не является публичной офертой

склад запчастей для водомоторной техники