| |
Все разделы каталога запчастей на этот двигатель
вернуться к списку узлов и деталей ДЕТАЛИРОВКА ДЛЯ МОДЕЛИ: EVINRUDE E40DRLSDA
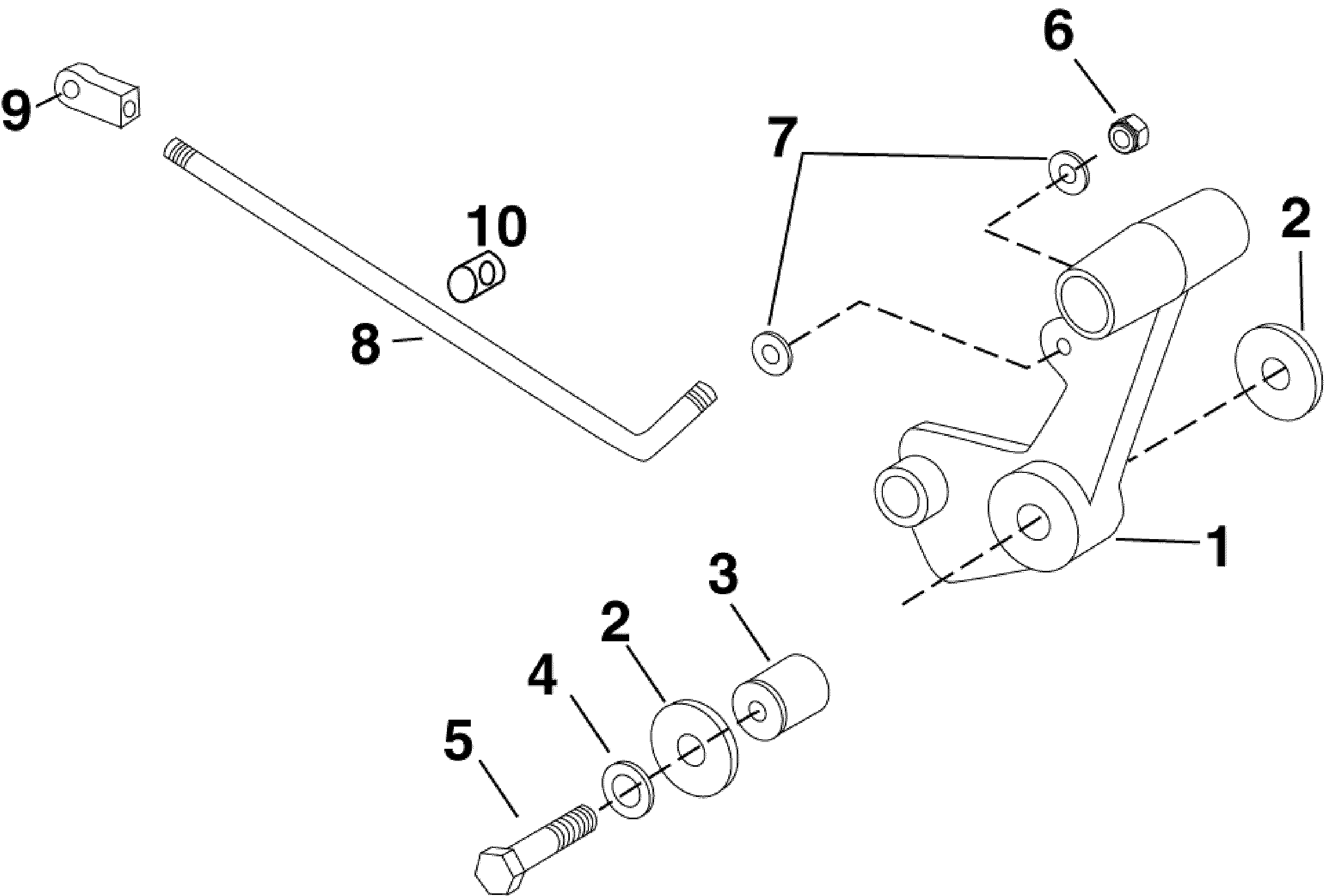
РЫЧАГ ПЕРЕКЛЮЧЕНИЯ | SHIFT LEVER;
Номер на рисунке | Артикул | Наименование | Кол-во на складе | Цена |
| 1 | 0334814 | *Рычаг переключателя (LEVER, Shift) | нет в наличии, поставок нет |
| 2 | 0327400 | *Шайба (WASHER) | нет в наличии, поставок нет |
| 3 | 0334815 | *Втулка, Рычаг переключения (BUSHING, Shift lever) | нет в наличии, поставок нет |
| 4 | 0330266 | *Шайба (WASHER) | нет в наличии, поставок нет |
| 4 | 3852200 | (последний код) WASHER | нет в наличии, поставок нет |
| 5 | 0318611 | *Винт, Рычаг переключения (SCREW, Shift lever) | нет в наличии, поставок нет |
| 6 | 0313022 | *Стопорная гайка (LOCK NUT) | нет в наличии, поставок нет |
| 6 | 3852118 | (последний код) NUT,LOCK | нет в наличии, поставок нет |
| 7 | 0328703 | *Шайба (WASHER) | нет в наличии, поставок нет |
| 7 | 3852184 | (последний код) WASHER | нет в наличии, поставок нет |
| 8 | 0350488 | *Переключающая тяга (SHIFT ROD) | нет в наличии, поставок нет |
| 9 | 0334119 | *Коннектор переключающей тяги (CONNECTOR, Shift rod) | нет в наличии, поставок нет |
| 10 | 0334373 | *Втулка, Переключающая тяга trunnion (BUSHING, Shift rod trunnion) | нет в наличии, поставок нет |

Время выполнения запроса 0.39022016525269 сек.
|
|