вконтакте

Контактный телефон: +7 (981) 121-46-93, +7 (800) 200-90-76 , Email: parts-katalog@yandex.ru, где купить

 
 

  Логин:

Пароль:

Регистрация

www.partskatalog.ru Все каталоги Запчасти Mercury Запчасти Suzuki Запчасти Tohatsu Запчасти Honda Контакты


Все разделы каталога запчастей на этот двигатель

назад Раздел:   вперёд

вернуться к списку узлов и деталей

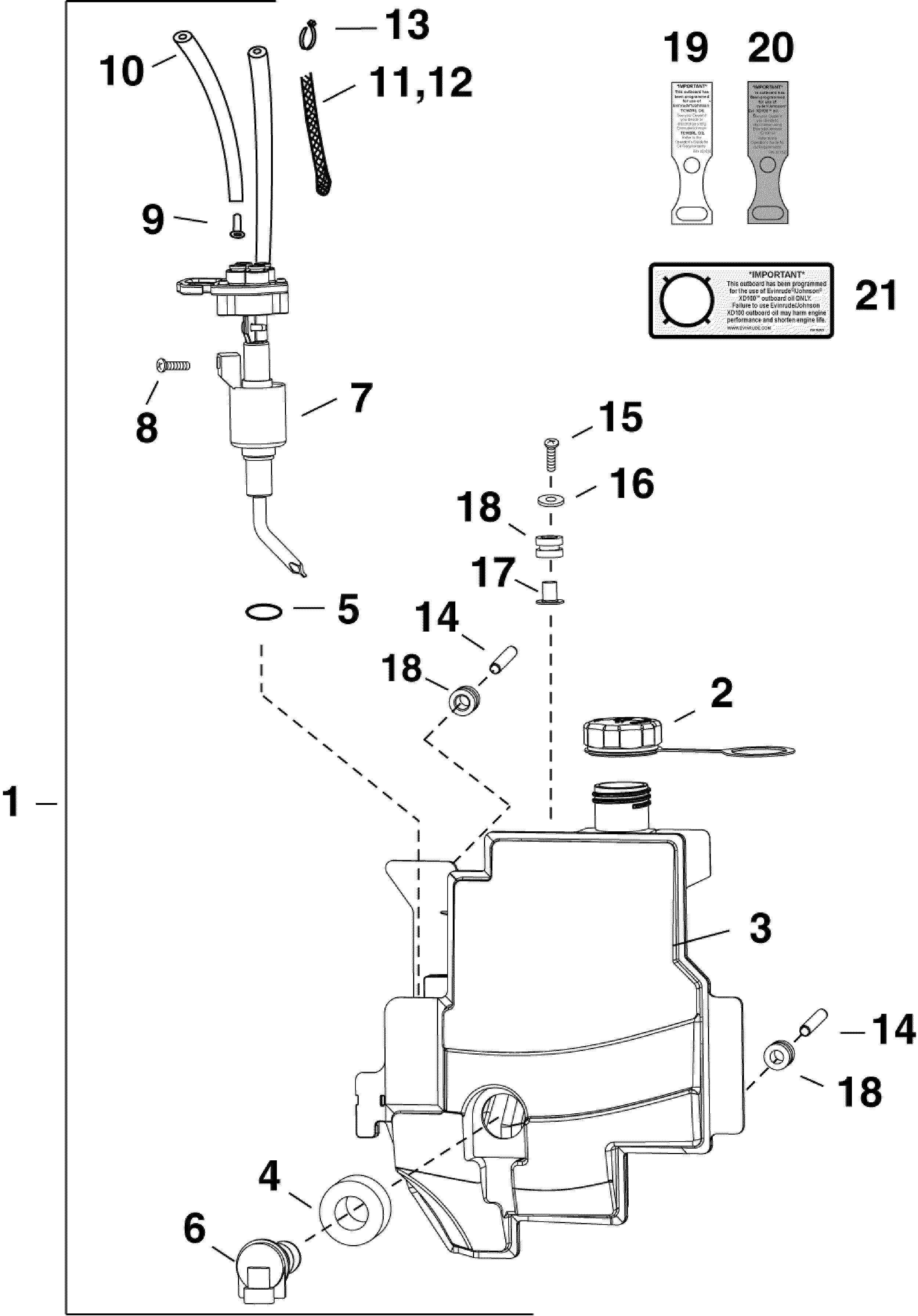
ДЕТАЛИРОВКА ДЛЯ МОДЕЛИ: EVINRUDE E25DTELSES

МАСЛЯНЫЙ БАК & ПОМПА | OIL TANK & PUMP;


 EVINRUDE E25DTELSES  - l Tank & Помпа

Номер на
рисунке
АртикулНаименованиеКол-во
на складе
Цена
1 5006493

Масляный бак & Помпа в сборе (OIL TANK & PUMP Assy)

нет в наличии, поставок нет
1 5008994

   (последний код) KIT,OIL TANK AY

нет в наличии, поставок нет
2 5007256

*TANK*OIL Колпачок в сборе (TANKOIL CAP Assy)

нет в наличии, поставок нет
3 5007897

*Масляный бак KIT (OIL TANK KIT)

нет в наличии, поставок нет
3 5008995

   (последний код) KIT,OIL TANK

нет в наличии, поставок нет
4 0353920

**Пыльник, Oil level Переключатель (GROMMET, Oil level switch)

нет в наличии, поставок нет
5 0354036

**Уплотнительное кольцо масляного насоса to Масляный бак. Also included in Помпа & Коллектор в сборе (O-RING, Oil pump to oil tank. Also included in Pump & Manifold Assy)

2 шт170 руб.
6 0352874

*Переключатель, Oil level (SWITCH, Oil level)

нет в наличии, поставок нет
7 5007898

*Масляный насос & Коллектор в сборе (OIL PUMP & MANIFOLD Assy)

нет в наличии, поставок нет
8 0343245

*Винт, Масляный насос Фиксатор (SCREW, Oil pump retainer)

нет в наличии, поставок нет
9 0349898

*SвышеPORT, Шланг (SUPPORT, Hose)

нет в наличии, поставок нет
10 0778708

Масляный шланг (093in. - Bulk Roll 25 фут) сокращёная длина 20.0 дюйм (508 мм) (HOSE, Oil (.093in. - Bulk Roll 25 ft.). Cut to length 20.0 in. (508mm))

нет в наличии, поставок нет
10 0776892

   (последний код) HOSE

нет в наличии, поставок нет
10 0778708

Масляный шланг (093in. - Bulk Roll 25 фут) сокращёная длина 10.5 дюйм (267 мм) (HOSE, Oil (.093in. - Bulk Roll 25 ft.). Cut to length 10.5 in. (267 mm))

нет в наличии, поставок нет
10 0776892

   (последний код) HOSE

нет в наличии, поставок нет
11 0508363

Гильза, Braided (3 / 16 - Bulk Roll 25 фут) сокращёная длина 9.5 in (241 мм) (SLEEVE, Braided (3/16 - Bulk Roll 25 ft.). Cut to length 9.5 in (241 mm))

нет в наличии, поставок нет
12 0508363

Гильза, Braided (3 / 16 - Bulk Roll) сокращёная длина 18 дюйм (457 мм) (SLEEVE, Braided (3/16 - Bulk Roll). Cut to length 18 in. (457 mm))

нет в наличии, поставок нет
13 0317893

Крепёжный хомут, Oil Шланг to fitting (TIE STRAP, Oil hose to fitting)

нет в наличии, поставок нет
13 3852149

   (последний код) TIE-STRAP

нет в наличии, поставок нет
14 0353642

Штифт, Масляный бак Креплениеing (PIN, Oil tank mounting)

нет в наличии, поставок нет
15 0353590

Винт, Масляный бак Креплениеing (SCREW, Oil tank mounting)

нет в наличии, поставок нет
16 0353761

Шайба, Масляный бак Креплениеing Винт (WASHER, Oil tank mounting screw)

нет в наличии, поставок нет
17 0338558

Проставка, Фланецd (SPACER, Flanged)

нет в наличии, поставок нет
18 0333040

ISOLATOR, Креплениеing (ISOLATOR, Mounting)

нет в наличии, поставок нет
19 0351520

EMM Oil program tag - XD100 Oil (EMM Oil program tag - XD100 Oil)

нет в наличии, поставок нет
20 0351519

EMM Oil program tag - TC-W3 Oils (EMM Oil program tag - TC-W3 Oils)

нет в наличии, поставок нет
21 0352927

EMM Oil program tag, Large - XD100 Oil (EMM Oil program tag, Large - XD100 Oil)

нет в наличии, поставок нет
NS 0333440

Струбцина, Loop - Oil Шланг to block (CLAMP, Loop - Oil hose to block)

нет в наличии, поставок нет
NS 0317775

   (последний код) CLAMP

нет в наличии, поставок нет
NS 0353589

Винт, Loop Струбцина (SCREW, Loop clamp)

нет в наличии, поставок нет
NS 0320107

Крепёжный хомут (TIE STRAP)

нет в наличии, поставок нет
NS 5035626

   (последний код) BAND,REM CON

нет в наличии, поставок нет
evinrude

Время выполнения запроса 1.7707190513611 сек.


 
 

данный сайт носит информационный характер и не является публичной офертой

склад запчастей для водомоторной техники