вконтакте

Контактный телефон: +7 (981) 121-46-93, +7 (800) 200-90-76 , Email: parts-katalog@yandex.ru, где купить

 
 

  Логин:

Пароль:

Регистрация

www.partskatalog.ru Все каталоги Запчасти Mercury Запчасти Suzuki Запчасти Tohatsu Запчасти Honda Контакты


Все разделы каталога запчастей на этот двигатель

назад Раздел:   вперёд

вернуться к списку узлов и деталей

ДЕТАЛИРОВКА ДЛЯ МОДЕЛИ: EVINRUDE E30MRLABA

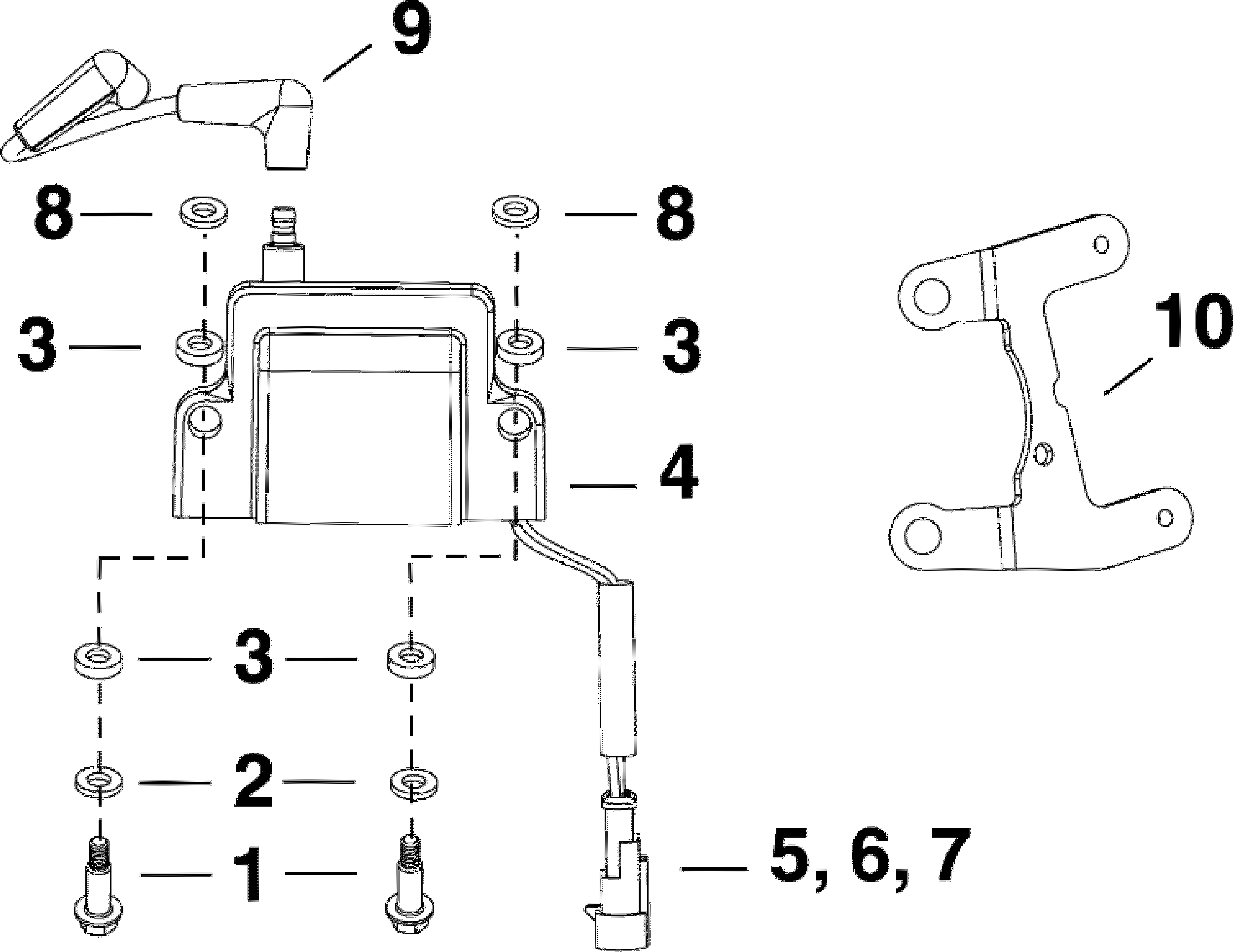
02-5 КАТУШКА ЗАЖИГАНИЯ | 02-5 IGNITION COIL;


Двигатель Evinrude E30MRLABA  - Катушка зажигания / ignition Coil

Номер на
рисунке
АртикулНаименованиеКол-во
на складе
Цена
1 0353975

Винт, Shoulder, Катушка зажигания (SCREW, Shoulder, Ignition coil)

нет в наличии, поставок нет
2 0353735

Шайба, Shoulder Винт (WASHER, Shoulder screw)

1 шт170 руб.
3 0353540

Шайба, Катушка зажигания, rubber (WASHER, Ignition coil, rubber)

нет в наличии, поставок нет
4 0586980

Катушка зажигания (IGNITION COIL)

нет в наличии, поставок нет
4 0587275

   (последний код) COIL AY,IGNITION

нет в наличии, поставок нет
5 3011148

*CONTACT, Tab (CONTACT,Tab)

нет в наличии, поставок нет
6 3011149

*Сальник провода (SEAL,Wire)

нет в наличии, поставок нет
7 3011156

*Коннектор, 3 Position (CONNECTOR, 3 Position)

нет в наличии, поставок нет
8 0353761

Шайба, Катушка зажигания Винт (WASHER, Ignition coil screw)

нет в наличии, поставок нет
9 5007988

HIGH TENSION LEAD Assembly (HIGH TENSION LEAD Assembly)

нет в наличии, поставок нет
10 0354435

Нижний кронштейн Катушка зажигания (BRACKET, Lower ignition coil)

нет в наличии, поставок нет
NS 0320107

Крепёжный хомут, Коннектор to Кронштейн (TIE STRAP, Connector to bracket)

нет в наличии, поставок нет
NS 5035626

   (последний код) BAND,REM CON

нет в наличии, поставок нет
NS 3011292

Содинение коннектора и кронштейна (CLIP, Connector to bracket)

нет в наличии, поставок нет
NS 5007419

Свеча зажигания (QC10WEP) (SPARK PLUG (QC10WEP))

нет в наличии, поставок нет
NS 5007120

   (последний код) Champion 5/14/07 OBSOLETE, REPLACED BY

нет в наличии, поставок нет
evinrude

Время выполнения запроса 0.36880707740784 сек.


 
 

данный сайт носит информационный характер и не является публичной офертой

склад запчастей для водомоторной техники