| |
Все разделы каталога запчастей на этот двигатель
вернуться к списку узлов и деталей ДЕТАЛИРОВКА ДЛЯ МОДЕЛИ: EVINRUDE E25DRGAFB
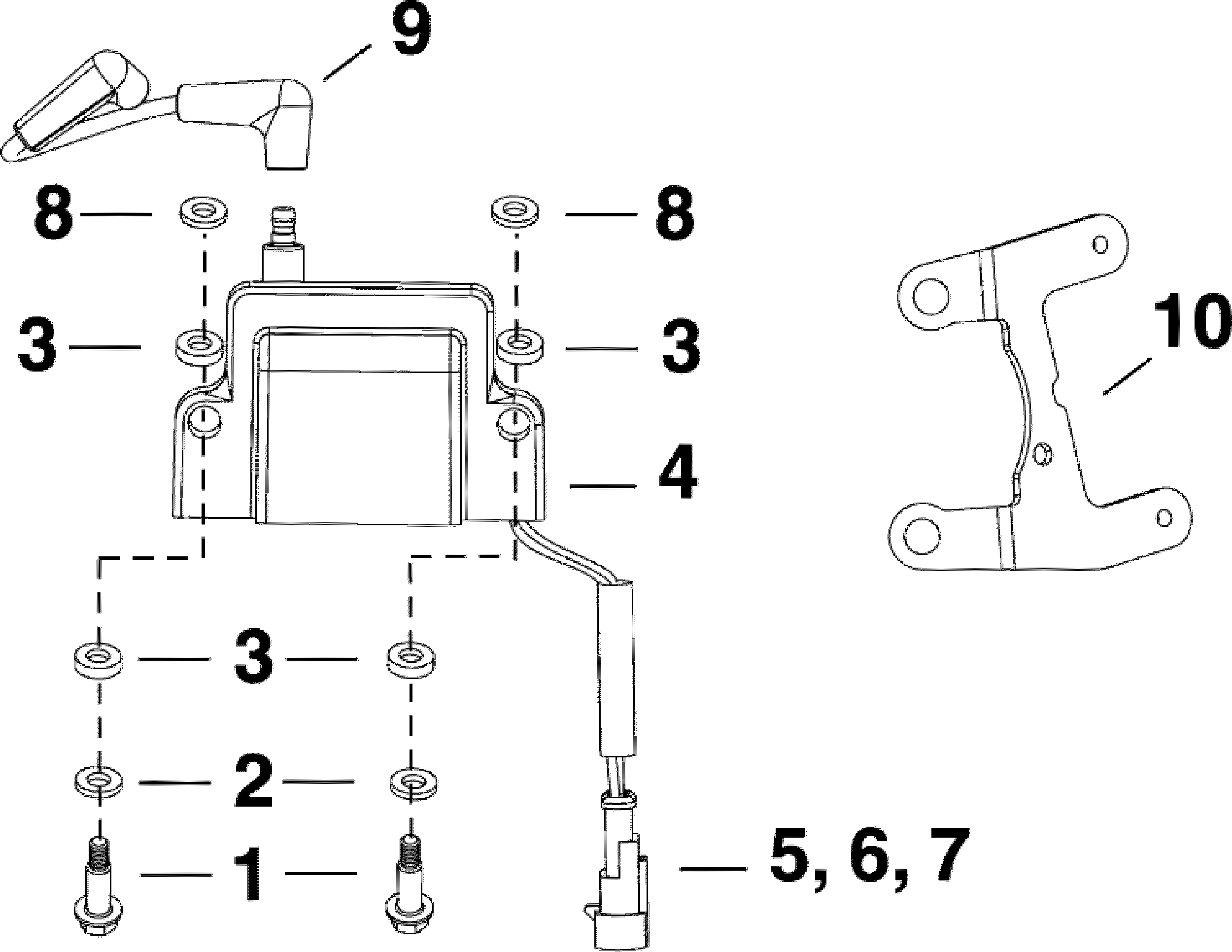
02-5 КАТУШКА ЗАЖИГАНИЯ | 02-5 IGNITION COIL;
Номер на рисунке | Артикул | Наименование | Кол-во на складе | Цена |
| 1 | 0353975 | Винт, Shoulder, Катушка зажигания (SCREW, Shoulder, Ignition coil) | нет в наличии, поставок нет |
| 2 | 0353735 | Шайба, Shoulder Винт (WASHER, Shoulder screw) | 1 шт | 170 руб. |
| 3 | 0353540 | Шайба, Катушка зажигания, rubber (WASHER, Ignition coil, rubber) | нет в наличии, поставок нет |
| 4 | 0587275 | Катушка зажигания (IGNITION COIL) | нет в наличии, поставок нет |
| 5 | 3011148 | *CONTACT, Tab (CONTACT, Tab) | нет в наличии, поставок нет |
| 6 | 3011149 | *Сальник провода (SEAL, Wire) | нет в наличии, поставок нет |
| 7 | 3011156 | *Коннектор, 3 Position (CONNECTOR, 3 Position) | нет в наличии, поставок нет |
| 8 | 0353761 | Шайба, Катушка зажигания Винт (WASHER, Ignition coil screw) | нет в наличии, поставок нет |
| 9 | 5007988 | HIGH TENSION LEAD ASSEMBLY (HIGH TENSION LEAD ASSEMBLY) | нет в наличии, поставок нет |
| 10 | 0354435 | Нижний кронштейн Катушка зажигания (BRACKET, Lower ignition coil) | нет в наличии, поставок нет |
| NS | 0320107 | Крепёжный хомут, Коннектор to Кронштейн (TIE STRAP, Connector to bracket) | нет в наличии, поставок нет |
| NS | 5035626 | (последний код) BAND,REM CON | нет в наличии, поставок нет |
| NS | 3011292 | Содинение коннектора и кронштейна (CLIP, Connector to bracket) | нет в наличии, поставок нет |
| NS | 5007419 | Свеча зажигания (QC10WEP) (SPARK PLUG (QC10WEP)) | нет в наличии, поставок нет |
| NS | 5007120 | (последний код) Champion 5/14/07 OBSOLETE, REPLACED BY | нет в наличии, поставок нет |

Время выполнения запроса 0.36498808860779 сек.
|
|