вконтакте

Контактный телефон: +7 (981) 121-46-93, +7 (800) 200-90-76 , Email: parts-katalog@yandex.ru, где купить

 
 

  Логин:

Пароль:

Регистрация

www.partskatalog.ru Все каталоги Запчасти Mercury Запчасти Suzuki Запчасти Tohatsu Запчасти Honda Контакты


Вернуться к началу выбора


Мощность Вашего двигателя: 30 л.с.

Год выпуска: 2010 год

Тип двигателя: 1148

Модификация двигателя: Evinrude E30DPLISC

   Выберите раздел

найти расходники на лодочные моторы Evinrude


Выберите раздел

Air Глушитель (Air Silencer)

Air Глушитель (Air Silencer)

Battery Charge Module (Battery Charge Module)

Battery Charge Module (Battery Charge Module)

Шланги охлаждения (Cooling Hoses)

Шланги охлаждения (Cooling Hoses)

Коленвал & Поршни (Crankshaft & Pistons)

Коленвал & Поршни (Crankshaft & Pistons)

Головка блока цилиндра & Термостат (Cylinder Head & Thermostat)

Головка блока цилиндра & Термостат (Cylinder Head & Thermostat)

Цилиндр / Картер двигателя (Cylinder/crankcase)

Цилиндр / Картер двигателя (Cylinder/crankcase)

Наклейки (Decals)

Наклейки (Decals)

Электростартер & Solenoid (Electric Starter & Solenoid)

Электростартер & Solenoid (Electric Starter & Solenoid)

Электрика - жгут проводов (Electrical Harness)

Электрика - жгут проводов (Electrical Harness)

Emm, Статор, Маховик (Emm, Stator, Flywheel)

Emm, Статор, Маховик (Emm, Stator, Flywheel)

Крышка двигателя (капот) (Engine Cover)

Крышка двигателя (капот) (Engine Cover)

Удлинитель корпуса (Exhaust Housing)

Удлинитель корпуса (Exhaust Housing)

Лифтовый топливный насос (Fuel Lift Pump)

Лифтовый топливный насос (Fuel Lift Pump)

Топливный насос & Пароотделитель (Fuel Pump & Vapor Separator)

Топливный насос & Пароотделитель (Fuel Pump & Vapor Separator)

Топливный инжектор (Fuel Injector)

Топливный инжектор (Fuel Injector)

Комплект прокладок (Gasket Kit)

Комплект прокладок (Gasket Kit)

Редуктор (Gearcase)

Редуктор (Gearcase)

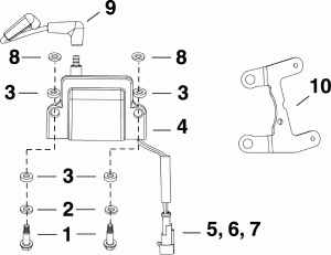
Катушка зажигания (Ignition Coil)

Катушка зажигания (Ignition Coil)

Впускной коллектор в сборе (Intake Manifold Assembly)

Впускной коллектор в сборе (Intake Manifold Assembly)

Литература (Literature)

Литература (Literature)

Нижняя крышка двигателя (Lower Engine Cover)

Нижняя крышка двигателя (Lower Engine Cover)

Масляный бак & Помпа (Oil Tank & Pump)

Масляный бак & Помпа (Oil Tank & Pump)

Cистема рециркуляции масла (Oil Recirculation System)

Cистема рециркуляции масла (Oil Recirculation System)

Краска (Paint)

Краска (Paint)

Чертежи профиля - Powertilt, Remote Steer (Profile Drawing - Powertilt, Remote Steer)

Чертежи профиля - Powertilt, Remote Steer (Profile Drawing - Powertilt, Remote Steer)

Арматура гребного винта (Propeller Hardware)

Арматура гребного винта (Propeller Hardware)

Барабанный стартер (Recoil Starter)

Барабанный стартер (Recoil Starter)

Датчики (Sensors)

Датчики (Sensors)

Поворотный кронштейн - Управление наклоном (Swivel Bracket - Power Tilt)

Поворотный кронштейн - Управление наклоном (Swivel Bracket - Power Tilt)

Дроссель & Переключатель сцепления (Throttle & Shift Linkage)

Дроссель & Переключатель сцепления (Throttle & Shift Linkage)

Trim & Tilt Реле (Trim & Tilt Relay)

Trim & Tilt Реле (Trim & Tilt Relay)

Trim & Tilt Hydraulic Assembly (Trim & Tilt Hydraulic Assembly)

Trim & Tilt Hydraulic Assembly (Trim & Tilt Hydraulic Assembly)

evinrude

Время выполнения запроса 0.33833408355713 сек.


 
 

данный сайт носит информационный характер и не является публичной офертой

склад запчастей для водомоторной техники