вконтакте

Контактный телефон: +7 (981) 121-46-93, +7 (800) 200-90-76 , Email: parts-katalog@yandex.ru, где купить

 
 

  Логин:

Пароль:

Регистрация

www.partskatalog.ru Все каталоги Запчасти Mercury Запчасти Suzuki Запчасти Tohatsu Запчасти Honda Контакты


Вернуться к началу выбора


Мощность Вашего двигателя: 25 л.с.

Год выпуска: 2011 год

Тип двигателя: 1129

Модификация двигателя: Evinrude E25DRIIR

   Выберите раздел

найти расходники на лодочные моторы Evinrude


Выберите раздел

Air Глушитель (Air Silencer)

Air Глушитель (Air Silencer)

Шланги охлаждения (Cooling Hoses)

Шланги охлаждения (Cooling Hoses)

Коленвал & Поршни (Crankshaft & Pistons)

Коленвал & Поршни (Crankshaft & Pistons)

Головка блока цилиндра & Термостат (Cylinder Head & Thermostat)

Головка блока цилиндра & Термостат (Cylinder Head & Thermostat)

Цилиндр / Картер двигателя (Cylinder/crankcase)

Цилиндр / Картер двигателя (Cylinder/crankcase)

Наклейки (Decals)

Наклейки (Decals)

Электрика - жгут проводов, C, H, R, S-suffix (Electrical Harness, C, H, R, S-suffix)

Электрика - жгут проводов, C, H, R, S-suffix (Electrical Harness, C, H, R, S-suffix)

Emm, Статор, Маховик (Emm, Stator, Flywheel)

Emm, Статор, Маховик (Emm, Stator, Flywheel)

Крышка двигателя (капот) (Engine Cover)

Крышка двигателя (капот) (Engine Cover)

Удлинитель корпуса (Exhaust Housing)

Удлинитель корпуса (Exhaust Housing)

Топливный инжектор (Fuel Injector)

Топливный инжектор (Fuel Injector)

Лифтовый топливный насос (Fuel Lift Pump)

Лифтовый топливный насос (Fuel Lift Pump)

Топливный насос & Пароотделитель (Fuel Pump & Vapor Separator)

Топливный насос & Пароотделитель (Fuel Pump & Vapor Separator)

Прокладка & Комплект сальников (Gasket & Seal Kit)

Прокладка & Комплект сальников (Gasket & Seal Kit)

Редуктор, H-type (Gearcase, H-type)

Редуктор, H-type (Gearcase, H-type)

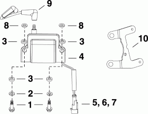
Катушка зажигания (Ignition Coil)

Катушка зажигания (Ignition Coil)

Впускной коллектор в сборе (Intake Manifold Assembly)

Впускной коллектор в сборе (Intake Manifold Assembly)

Литература (Literature)

Литература (Literature)

Нижняя крышка двигателя (Lower Engine Cover)

Нижняя крышка двигателя (Lower Engine Cover)

Cистема рециркуляции масла (Oil Recirculation System)

Cистема рециркуляции масла (Oil Recirculation System)

Масляный бак & Помпа (Oil Tank & Pump)

Масляный бак & Помпа (Oil Tank & Pump)

Краска (Paint)

Краска (Paint)

Чертежи профиля - ручной Tilt, Tiller Steer (Profile Drawing - Manual Tilt, Tiller Steer)

Чертежи профиля - ручной Tilt, Tiller Steer (Profile Drawing - Manual Tilt, Tiller Steer)

Арматура гребного винта (Propeller Hardware)

Арматура гребного винта (Propeller Hardware)

Барабанный стартер (Recoil Starter)

Барабанный стартер (Recoil Starter)

Датчики (Sensors)

Датчики (Sensors)

Поворотный кронштейн (Swivel Bracket)

Поворотный кронштейн (Swivel Bracket)

Дроссель & Переключатель сцепления (Throttle & Shift Linkage)

Дроссель & Переключатель сцепления (Throttle & Shift Linkage)

Румпель (рычаг наклона), C, H, R, S-suffix (Tiller Arm, C, H, R, S-suffix)

Румпель (рычаг наклона), C, H, R, S-suffix (Tiller Arm, C, H, R, S-suffix)

evinrude

Время выполнения запроса 0.45638298988342 сек.


 
 

данный сайт носит информационный характер и не является публичной офертой

склад запчастей для водомоторной техники