вконтакте

Контактный телефон: +7 (981) 121-46-93, +7 (800) 200-90-76 , Email: parts-katalog@yandex.ru, где купить

 
 

  Логин:

Пароль:

Регистрация

www.partskatalog.ru Все каталоги Запчасти Mercury Запчасти Suzuki Запчасти Tohatsu Запчасти Honda Контакты


Вернуться к началу выбора


Мощность Вашего двигателя: 130 л.с.

Год выпуска: 2011 год

Тип двигателя: 1119

Модификация двигателя: Evinrude E130DSLIIR

   Выберите раздел

найти расходники на лодочные моторы Evinrude


Выберите раздел

Air Глушитель (Air Silencer)

Air Глушитель (Air Silencer)

Шланги охлаждения (Cooling Hoses)

Шланги охлаждения (Cooling Hoses)

Коленвал & Поршни (Crankshaft & Pistons)

Коленвал & Поршни (Crankshaft & Pistons)

Цилиндр & Картер двигателя (Cylinder & Crankcase)

Цилиндр & Картер двигателя (Cylinder & Crankcase)

Наклейки - белый (Decals - White)

Наклейки - белый (Decals - White)

Электростартер (Electric Starter)

Электростартер (Electric Starter)

Электрика - жгут проводов (Electrical Harness)

Электрика - жгут проводов (Electrical Harness)

Компоненты электрики (Electrical Components)

Компоненты электрики (Electrical Components)

Крышка двигателя (капот) (Engine Cover)

Крышка двигателя (капот) (Engine Cover)

Удлинитель корпуса (Exhaust Housing)

Удлинитель корпуса (Exhaust Housing)

Маховик & Статор (Flywheel & Stator)

Маховик & Статор (Flywheel & Stator)

Топливный фильтр (Fuel Filter)

Топливный фильтр (Fuel Filter)

Лифтовый топливный насос (Fuel Lift Pump)

Лифтовый топливный насос (Fuel Lift Pump)

Топливный насос & Пароотделитель (Fuel Pump & Vapor Separator)

Топливный насос & Пароотделитель (Fuel Pump & Vapor Separator)

Топливная магистральs (Fuel Rails)

Топливная магистральs (Fuel Rails)

Топливный инжектор (Fuel Injector)

Топливный инжектор (Fuel Injector)

Прокладка & Комплект сальников (Gasket & Seal Kit)

Прокладка & Комплект сальников (Gasket & Seal Kit)

Редуктор, S2-type (Gearcase, S2-type)

Редуктор, S2-type (Gearcase, S2-type)

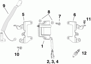
Катушка зажиганияs (Ignition Coils)

Катушка зажиганияs (Ignition Coils)

Впускной коллектор в сборе (Intake Manifold Assembly)

Впускной коллектор в сборе (Intake Manifold Assembly)

Литература (Literature)

Литература (Literature)

Нижняя крышка двигателя (Lower Engine Cover)

Нижняя крышка двигателя (Lower Engine Cover)

Muffler (Muffler)

Muffler (Muffler)

Масляный насос (Oil Pump)

Масляный насос (Oil Pump)

Oil Tags & Наклейки (Oil Tags & Labels)

Oil Tags & Наклейки (Oil Tags & Labels)

Oil Recirculation Шлангs (Oil Recirculation Hoses)

Oil Recirculation Шлангs (Oil Recirculation Hoses)

Краска (Paint)

Краска (Paint)

Чертежи профиля (Profile Drawing)

Чертежи профиля (Profile Drawing)

Арматура гребного винта, S2-type G / c (Propeller Hardware, S2-type G/c)

Арматура гребного винта, S2-type G / c (Propeller Hardware, S2-type G/c)

Датчики (Sensors)

Датчики (Sensors)

Переключатель сцепления (Shift Linkage)

Переключатель сцепления (Shift Linkage)

Спидометр Шланг Assembly (Speedometer Hose Assembly)

Спидометр Шланг Assembly (Speedometer Hose Assembly)

Поворотный кронштейн (Swivel Bracket)

Поворотный кронштейн (Swivel Bracket)

Соединитель дросселяage (Throttle Linkage)

Соединитель дросселяage (Throttle Linkage)

Trim & Tilt Hydraulic Assembly (Trim & Tilt Hydraulic Assembly)

Trim & Tilt Hydraulic Assembly (Trim & Tilt Hydraulic Assembly)

верхний  Двигатель Креплениеs (Upper Engine Mounts)

верхний Двигатель Креплениеs (Upper Engine Mounts)

Клапан сброса давления воды (Water Pressure Relief Valve)

Клапан сброса давления воды (Water Pressure Relief Valve)

evinrude

Время выполнения запроса 0.35426783561707 сек.


 
 

данный сайт носит информационный характер и не является публичной офертой

склад запчастей для водомоторной техники