вконтакте

Контактный телефон: +7 (981) 121-46-93, +7 (800) 200-90-76 , Email: parts-katalog@yandex.ru, где купить

 
 
Главная Как заказать Каталоги Контакты

  Логин:

Пароль:

Регистрация

Узнать наличие и цену запчасти:


УВАЖАЕМЫЕ КЛИЕНТЫ!
C 19 ДЕКАБРЯ 2025 ПО 02 МАРТА 2026 ГОДА ОТДЕЛ ЗАПЧАСТЕЙ И СЕРВИС РАБОТАТЬ НЕ БУДУТ
ПРОДАЖА ЛОДОЧНЫХ МОТОРОВ В ШТАТНОМ РЕЖИМЕ
ОБ ИЗМЕНЕНИЯХ В ГРАФИКЕ РАБОТЫ ЧИТАЙТЕ НА САЙТА



Лодочные моторы :: Suzuki :: Двухтактные :: Suzuki DT30 LK11 2011


ЛОДОЧНЫЙ МОТОР SUZUKI DT-30-LK11-E1-2011
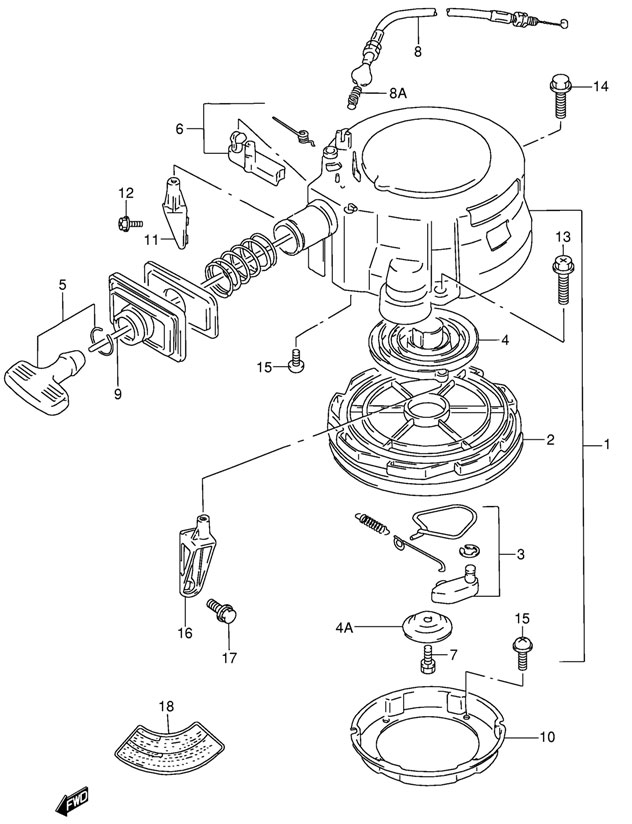
БАРАБАННЫЙ СТАРТЕР (RECOIL STARTER)

барабанный стартер suzuki dt30 lk11 2011

Чтобы узнать цену, наличие запасной части на складе или купить, нажмите ссылку "запросить цену". Чтобы посмотреть подробную информацию и фотографии, нажмите на код запчасти. Для запчастей со статусом "не поставляется" можете попробовать уточнить возможность поставки.

все блоки

Номер
на чертеже
Код по каталогуНазвание (eng)Название (rus)Цена
00118100-96321-000

STARTER ASSY, RECOIL

Барабанный стартер в сборе

по запросу
00218120-96320-000

REEL

Катушка

по запросу
00318130-96321-000

RATCHET SET

Храповик в сборе

по запросу
00418142-96300-000

SPRING, SPIRAL

Пружина-спираль

по запросу
004A18151-96310-000

PLATE, FRICTION

Плата трения

по запросу
00518210-93002-000

GRIP ASSY

Рукоятка в сборе

по запросу
00618280-96320-000

NSI SET

Комплект NSI

по запросу
00701570-06167-000

BOLT

Болт

по запросу
00818290-96310-000

CABLE, NSI

Кабель NSI

по запросу
008A18293-96310-000

SPRING

Пружина

по запросу
00999000-81159-50M

ROPE (OPT, L:50000->750)

Шнур (опция, L:50000->750)

по запросу
01018411-96301-000

CUP, STARTER

Чаша стартера

по запросу
01118711-96303-0ED

BRACE, RECOIL STARTER STBD

Направляющая, правая сторона барабанного стартера

по запросу
18711-96303-0EP

BRACE, RECOIL STARTER STBD (MODEL:02~)

Направляющая, правая сторона барабанного стартера (на модели после 2002 года)

по запросу
01202162-06207-000

BOLT (BRACE STBD)

Болт правой направляющей

по запросу
01302162-06257-000

SCREW (MANUAL STARTER)

Винт (модели с ручным стартером)

по запросу
01550-06257-000

BOLT (ELECTRIC STARTER)

Винт (модели с электростартером)

по запросу
01550-06207-000

BOLT (MODEL:07~)

Винт (модели после 2007 года)

по запросу
01401550-08257-000

BOLT

Болт

по запросу
01509106-06098-000

SCREW (6x12)

Винт (6x12)

по запросу
01618721-96303-0ED

BRACE, RECOIL STARTER PORT (MANUAL STARTER)

Направляющая, левая сторона ручного стартера

по запросу
18721-96303-0EP

BRACE, RECOIL STARTER PORT (MODEL:02~)

Направляющая, левая сторона ручного стартера (модели после 2002 года)

по запросу
01701580-08257-000

BOLT (MANUAL STARTER, BRACE PORT)

Болт левой направляющей стартера

по запросу
01861582-98110-000

MARK, WARNING (~MODEL:01)

Предупреждающая маркировка (модели после 2001 года)

по запросу

Модель двигателя Suzuki DT30 LK11 - назад в каталог


 
 

данный сайт носит информационный характер и не является публичной офертой

склад запчастей для водомоторной техники