вконтакте

Контактный телефон: +7 (981) 121-46-93, +7 (800) 200-90-76 , Email: parts-katalog@yandex.ru, где купить

 
 
Главная Как заказать Каталоги Контакты

  Логин:

Пароль:

Регистрация

Узнать наличие и цену запчасти:


УВАЖАЕМЫЕ КЛИЕНТЫ!
C 19 ДЕКАБРЯ 2025 ПО 02 МАРТА 2026 ГОДА ОТДЕЛ ЗАПЧАСТЕЙ И СЕРВИС РАБОТАТЬ НЕ БУДУТ
ПРОДАЖА ЛОДОЧНЫХ МОТОРОВ В ШТАТНОМ РЕЖИМЕ
ОБ ИЗМЕНЕНИЯХ В ГРАФИКЕ РАБОТЫ ЧИТАЙТЕ НА САЙТА



Лодочные моторы :: Suzuki :: Двухтактные :: Suzuki DT30 LK11 E1


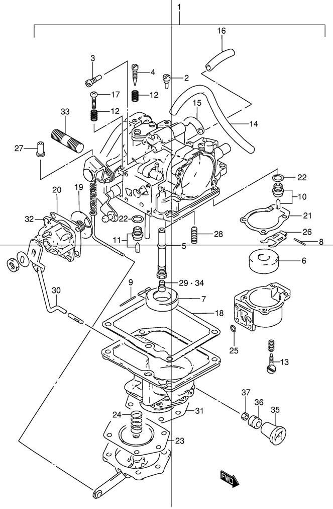
УНИВЕРСАЛЬНЫЙ КАТАЛОГ ЗАПЧАСТЕЙ SUZUKI DT-30-LK11-E1
КАРБЮРАТОР (CARBURETOR) ДЛЯ МОДЕЛЕЙ DT25K

каталог suzuki dt30 lk11 e1, карбюратор для DT25K

Чтобы узнать цену, наличие запасной части на складе или купить, нажмите ссылку "запросить цену". Чтобы посмотреть подробную информацию и фотографии, нажмите на код запчасти. Для запчастей со статусом "не поставляется" можете попробовать уточнить возможность поставки.

все блоки

Номер
на чертеже
Код по каталогуНазвание (eng)Название (rus)Цена
00113200-963H0-000

CARBURETOR ASSY (E13)

Карбюратор в сборе (E13)

по запросу
13200-96461-000

CARBURETOR ASSY (E36)

Карбюратор в сборе (E36)

по запросу
00209492-70001-000

JET, PILOT (#70) (GASOLINE, E13)

Жиклер (#70) (бензиновый, E13)

по запросу
09492-50008-000

JET, PILOT (#50) (GASOLINE, E36)

Жиклер (#50) (бензиновый, E36)

по запросу
00309492-20025-000

JET, PILOT (#100) (KEROSENE, E13)

Жиклер (#100) (керосиновый, E13)

по запросу
09492-30017-000

JET, PILOT (#150) (KEROSENE, E36)

Жиклер (#150) (керосиновый, E36)

по запросу
00413269-98100-000

SCREW, PILOT

Регулировочный винт

по запросу
00513235-94350-000

NOZZLE

Форсунка

по запросу
00613270-94350-000

FLOAT (GASOLINE)

Поплавок (бензиновый)

по запросу
00713250-93012-000

FLOAT (KEROSENE)

Поплавок (керосиновый)

по запросу
00813254-98410-000

PIN (GASOLINE)

Стопор (бензиновый)

по запросу
00913254-98300-000

PIN (KEROSENE)

Стопор (керосиновый)

по запросу
01013370-94350-000

VALVE ASSY, NEEDLE (GASOLINE)

Игольчатый клапан в сборе (бензиновый)

по запросу
01113370-28110-000

VALVE ASSY, NEEDLE (KEROSENE)

Игольчатый клапан в сборе (керосиновый)

по запросу
01213268-96111-000

SPRING, STOP SCREW

Пружина, стопор винта

по запросу
01313616-93900-000

ADJUSTER

Регулятор болта

по запросу
01413651-95300-000

HOSE (L:175->25)

Шланг (L:175->25)

по запросу
01513651-94350-000

HOSE (L:175->8,50)

Шланг (L:175->8,50)

по запросу
01613651-94350-000

HOSE (L:175->8)

Шланг (L:175->8)

по запросу
01713534-96300-000

SCREW, THROTTLE STOP

Винт - ограничитель дросселя

по запросу
01813245-94350-000

GASKET, FLOAT CHAMBER (KEROSENE)

Прокладка поплавковой камеры (керосиновый)

по запросу
01913415-94350-000

DISC ASSY

Диск в сборе

по запросу
02013418-94360-000

GASKET

Прокладка

по запросу
02113265-94360-000

GASKET, FLOAT CHAMBER (GASOLINE)

Прокладка поплавковой камеры (бензиновый)

по запросу
02213392-58600-000

PACKING, NEEDLE VALVE SEAT

Прокладка седла игольчатого клапана

по запросу
02313450-94350-000

MEMBRANE ASSY

Мембрана в сборе

по запросу
02413441-94350-000

SPRING

Пружина

по запросу
02513521-78100-000

O RING

Кольцо

по запросу
02613282-94350-000

ARM

Рычаг плавающий

по запросу
02713461-94350-000

NUT

Гайка

по запросу
02813443-94350-000

VALVE ASSY

Клапан в сборе

по запросу
02909491-30010-000

JET, MAIN (#150) (E13)

Главный жиклёр (#150) (E13)

по запросу
09491-29010-000

JET, MAIN (#147.5) (E36)

Главный жиклёр (#147.5) (E36)

по запросу
03013580-96351-000

LEVER ASSY, STARTER

Рычаг "подсоса" в сборе

по запросу
03113446-94360-000

GASKET

Прокладка

по запросу
03213419-94400-000

COVER, DISK

Кожух диска

по запросу
03301411-08207-000

STUD BOLT

Штырь с резьбой

по запросу
03409491-34007-000

JET, MAIN (#170) (OPT)

Главный жиклёр (#170) (опция)

по запросу
09491-32012-000

JET, MAIN (#160) (OPT, <-9491-32013)

Главный жиклёр (опция, <-9491-32013)

по запросу
09491-31014-000

JET, MAIN (#155) (OPT)

Главный жиклёр (#155) (опция)

по запросу
09491-31007-000

JET, MAIN (#157.5) (OPT)

Главный жиклёр (#157.5) (опция)

по запросу
09491-29010-000

JET, MAIN (#147.5) (OPT)

Главный жиклёр (#147.5) (опция)

по запросу
09491-28012-000

JET, MAIN (#142.5) (OPT)

Главный жиклёр (#142.5) (опция)

по запросу
03513631-93501-000

KNOB, STARTER

Рукоятка "подсоса"

по запросу
03609320-04009-000

BUSHING, STARTER ROD

Втулка тяги "подсоса"

по запросу
03709140-04007-000

NUT, KNOB STARTER

Гайка рукоятки "подсоса"

по запросу

Перейти в каталог запчастей Suzuki DT-30 LK11 E1 2011


 
 

данный сайт носит информационный характер и не является публичной офертой

склад запчастей для водомоторной техники