вконтакте

Контактный телефон: +7 (981) 121-46-93, +7 (800) 200-90-76 , Email: parts-katalog@yandex.ru, где купить

 
 
Главная Как заказать Каталоги Контакты

  Логин:

Пароль:

Регистрация

Узнать наличие и цену запчасти:


УВАЖАЕМЫЕ КЛИЕНТЫ!
C 19 ДЕКАБРЯ 2025 ПО 02 МАРТА 2026 ГОДА ОТДЕЛ ЗАПЧАСТЕЙ И СЕРВИС РАБОТАТЬ НЕ БУДУТ
ПРОДАЖА ЛОДОЧНЫХ МОТОРОВ В ШТАТНОМ РЕЖИМЕ
ОБ ИЗМЕНЕНИЯХ В ГРАФИКЕ РАБОТЫ ЧИТАЙТЕ НА САЙТА



Лодочные моторы :: Suzuki :: Четырехтактные :: Suzuki DF90 TL K9


ЗАПЧАСТИ НА ЛОДОЧНЫЙ МОТОР SUZUKI DF90-TL K8 E1 2008
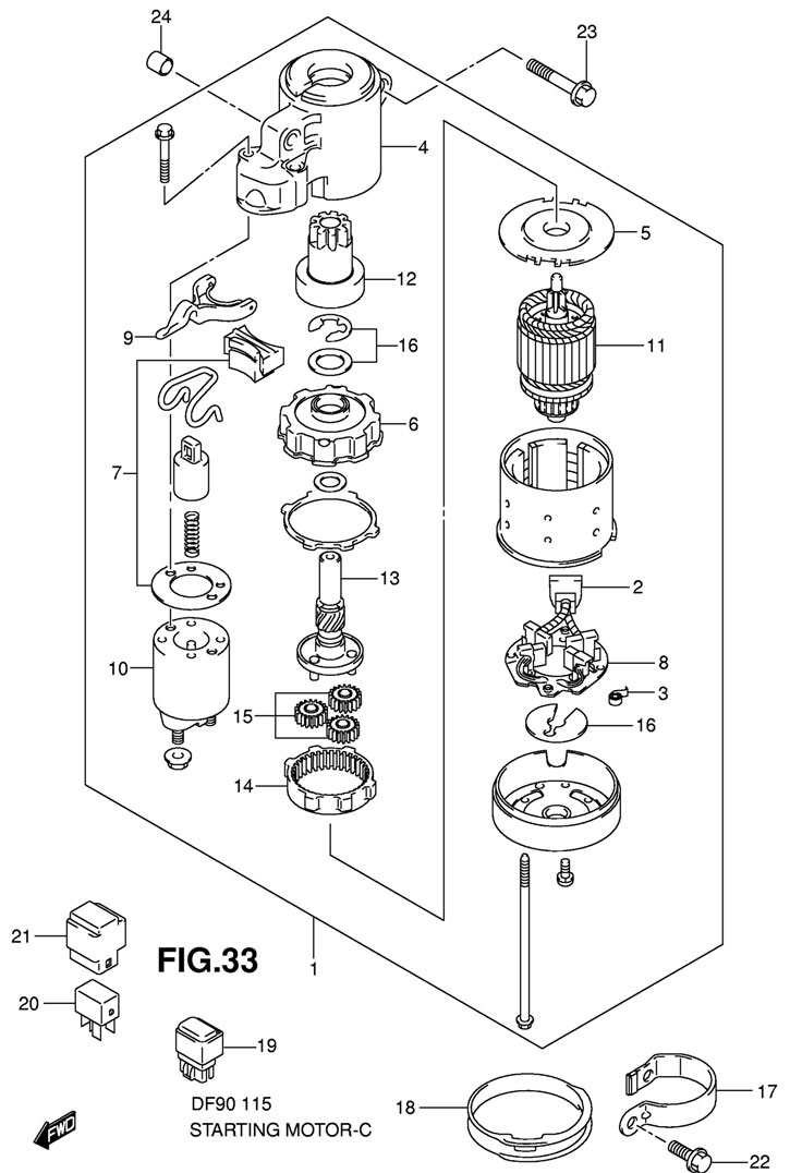
ЭЛЕКТРОСТАРТЕР (STARTING MOTOR) FIG.33

лодочный мотор Suzuki DF90 TL K8, купить электростартер Starting Motor

Чтобы узнать цену, наличие запасной части на складе или купить, нажмите ссылку "запросить цену". Чтобы посмотреть подробную информацию и фотографии, нажмите на код запчасти. Для запчастей со статусом "не поставляется" можете попробовать уточнить возможность поставки.

все блоки

Номер
на чертеже
Код по каталогуНазвание (eng)Название (rus)Цена
00131100-90J00-000

STARTING MOTOR

Электростартер в сборе

по запросу
00231131-90J00-000

BRUSH SET, PLUS

Набор щёток "плюс"

по запросу
00331135-90J00-000

SPRING

Пружина

по запросу
00431151-90J00-000

CASE, GEAR

Корпус редуктора

по запросу
00531152-90J00-000

PLATE, CENTER

Пластина центральная

по запросу
00631153-90J00-000

BRACKET, PLANET GEAR

Кронштейн планетарной шестерни

по запросу
00731171-90J00-000

COVER KIT, DUST

Комплект пылевой крышки

по запросу
00831173-90J00-000

HOLDER, BRUSH

Держатель щетки

по запросу
00931191-90J00-000

LEVER, SHIFT

Ручка переключения

по запросу
01031220-90J00-000

SWITCH, MAGNET

Замок зажигания

по запросу
01131310-90J00-000

ARMATURE

Якорь

по запросу
01231320-90J00-000

PINION

Шестерня

по запросу
01331341-90J00-000

SHAFT, PINION

Вал шестерни

по запросу
01431343-90J00-000

INTERNAL GEAR

Шестерня внутренняя

по запросу
01531344-90J00-000

GEAR, PLANETARY

Планетарная шестерня

по запросу
01631360-90J00-000

WASHER SET

Набор шайб

по запросу
01731912-90J00-000

BAND, STARTING MOTOR

Ремешок стартера мотора

по запросу
01831918-90J00-000

DAMPER, LOWER

Демпфер нижний

по запросу
31918-90J10-000

DAMPER, LOWER (MODEL:06~09)

Демпфер нижний (модели 2006-2009 года)

по запросу
01938910-92E00-000

RELAY, STARTING MOTOR (MODEL:01,02)

Реле стартера (модели 2001-2002 года)

по запросу
02038860-76F01-000

RELAY, STARTING MOTOR (MODEL:03~09)

Реле стартера (модели 2003-2009 года)

по запросу
02138915-90J00-000

HOLDER, RELAY (MODEL:03~09)

Держатель реле (модели 2003-2009 года)

по запросу
02201550-08207-000

BOLT

Болт

по запросу
02301550-10507-000

BOLT

Болт

по запросу
02404211-13149-000

PIN

Стопор

по запросу

Двигатель Suzuki DF90 TL 2008 - купить запчасти


 
 

данный сайт носит информационный характер и не является публичной офертой

склад запчастей для водомоторной техники