вконтакте

Контактный телефон: +7 (981) 121-46-93, +7 (800) 200-90-76 , Email: parts-katalog@yandex.ru, где купить

 
 
Главная Как заказать Каталоги Контакты

  Логин:

Пароль:

Регистрация

Узнать наличие и цену запчасти:


УВАЖАЕМЫЕ КЛИЕНТЫ!
C 19 ДЕКАБРЯ 2025 ПО 02 МАРТА 2026 ГОДА ОТДЕЛ ЗАПЧАСТЕЙ И СЕРВИС РАБОТАТЬ НЕ БУДУТ
ПРОДАЖА ЛОДОЧНЫХ МОТОРОВ В ШТАТНОМ РЕЖИМЕ
ОБ ИЗМЕНЕНИЯХ В ГРАФИКЕ РАБОТЫ ЧИТАЙТЕ НА САЙТА



Лодочные моторы :: Suzuki :: Четырехтактные :: Suzuki DF90 TLK8 (E1) K8


ЗАПЧАСТИ НА ЛОДОЧНЫЙ МОТОР SUZUKI DF90 TLK8 (E1) K8
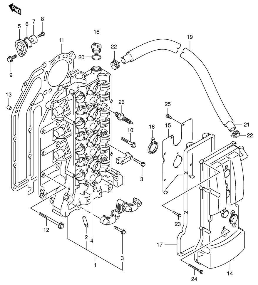
ГОЛОВКА БЛОКА ЦИЛИНДРОВ (CYLINDER HEAD)

головка блока цилиндров, двигатель Suzuki DF90 TLK8 (E1) K8

Чтобы узнать цену, наличие запасной части на складе или купить, нажмите ссылку "запросить цену". Чтобы посмотреть подробную информацию и фотографии, нажмите на код запчасти. Для запчастей со статусом "не поставляется" можете попробовать уточнить возможность поставки.

все блоки

Номер
на чертеже
Код по каталогуНазвание (eng)Название (rus)Цена
00111100-90J00-019

HEAD, CYLINDER (BLACK)

Головка цилиндров (чёрная)

по запросу
11100-90J01-000

HEAD, CYLINDER (DF90:251001~, DF115:153864~)

Головка цилиндров (для моделей DF90:251001~, DF115:153864~)

по запросу
11100-90J02-000

HEAD, CYLINDER (INC.NO.5~9, DF90:421060~, DF115:421141~)

Головка цилиндров (для моделей DF90:421060~, DF115:421141~) включая запчати 5-9 из каталога

по запросу
11100-90J04-000

HEAD, CYLINDER (DF90:421408~, DF115:421657~, DF100)

Головка цилиндров (для моделей DF90:421408~, DF115:421657~, DF100)

по запросу
00211115-85FA1-001

GUIDE, VALVE

Направляющая клапана

по запросу
00311128-90J00-000

BOLT, CAM SHAFT HOUSING

Болт корпуса коленвала

по запросу
00409206-08001-000

PIN

Стопор

по запросу
00511261-93J00-000

COVER, PROTECTION ANODE (DF90:421060~, DF115:421141~, DF100)

Крышка защитного анода (для моделей Suzuki DF90:421060~, DF115:421141~, DF100)

по запросу
00609280-22019-000

O RING (DF90:421060~, DF115:421141~, DF100)

Кольцо уплотнительное (для моделей DF90:421060~, DF115:421141~, DF100)

по запросу
00755321-87J00-000

ANODE, PROTECTION (DF90:421060~, DF115:421141~, DF100)

Защитный анод (для моделей DF90:421060~, DF115:421141~, DF100)

по запросу
00809128-06021-000

BOLT, PROTECTION ANODE (DF90:421060~, DF115:421141~)

Болт защитного анода (для моделей DF90:421060~, DF115:421141~)

по запросу
09103-06281-000

BOLT, PROTECTION ANODE (MODEL:06~09)

Болт защитного анода (для моделей 2006-2009 года)

по запросу
00901550-08207-000

BOLT (DF90:421060~, DF115:421141~, DF100)

Болт (для моделей DF90:421060~, DF115:421141~, DF100)

по запросу
01011117-89J00-000

BOLT, CYL HEAD

Болт головки цилиндра

по запросу
01111141-90J01-000

GASKET, CYL HEAD

Прокладка головки цилиндров

по запросу
01209116-08125-000

BOLT (8X52)

Болт (8x52)

по запросу
01304211-13189-000

PIN

Стопор

по запросу
01411170-90J00-019

COVER, CYL HEAD (BLACK)

Крышка головки цилиндра (чёрная)

по запросу
11170-90J00-000

COVER, CYL HEAD (MODEL:03~09)

Крышка головки цилиндра (для моделей 2003-2009 года)

по запросу
01511173-90J00-000

PLATE, BREATHER

Плата сапуна

по запросу
01611179-90J00-000

GASKET, SPARK PLUG HOLE

Прокладка, заглушка отверстия

по запросу
01711189-90J00-000

GASKET, CYL HEAD COVER

Прокладка крышки головки цилиндра

по запросу
01811382-99E00-000

CAP, OIL FILLER

Крышка масляного фильтра

по запросу
01918498-90J20-000

PROTECTOR, BREATHER HOSE

Протектор, сапун шланга

по запросу
02009280-26006-000

O RING

Кольцо уплотнительное

по запросу
02109355-13207-00B

HOSE, BREATHER (L:2000->60)

Сапун шланга

по запросу
02217829-90J00-000

CLIP

Крепёж

по запросу
02301547-06257-000

BOLT

Болт

по запросу
02401547-06557-000

BOLT

Болт

по запросу
02502112-0612A-000

SCREW

Винт

по запросу
02609482-00427-000

SPARK PLUG (BKR6E)

Свеча зажигания (BKR6E)

по запросу

Каталог запчастей для модели Suzuki DF90 TLK8 (E1) K8


 
 

данный сайт носит информационный характер и не является публичной офертой

склад запчастей для водомоторной техники