вконтакте

Контактный телефон: +7 (981) 121-46-93, +7 (800) 200-90-76 , Email: parts-katalog@yandex.ru, где купить

 
 
Главная Как заказать Каталоги Контакты

  Логин:

Пароль:

Регистрация

Узнать наличие и цену запчасти:


УВАЖАЕМЫЕ КЛИЕНТЫ!
C 19 ДЕКАБРЯ 2025 ПО 02 МАРТА 2026 ГОДА ОТДЕЛ ЗАПЧАСТЕЙ И СЕРВИС РАБОТАТЬ НЕ БУДУТ
ПРОДАЖА ЛОДОЧНЫХ МОТОРОВ В ШТАТНОМ РЕЖИМЕ
ОБ ИЗМЕНЕНИЯХ В ГРАФИКЕ РАБОТЫ ЧИТАЙТЕ НА САЙТА



Лодочные моторы :: Suzuki :: Четырехтактные :: Suzuki DF90ATL 2009


АКСЕССУАРЫ НА ПОДВЕСНОЙ ЛОДОЧНЫЙ МОТОР SUZUKI DF-90-ATL K9 2009
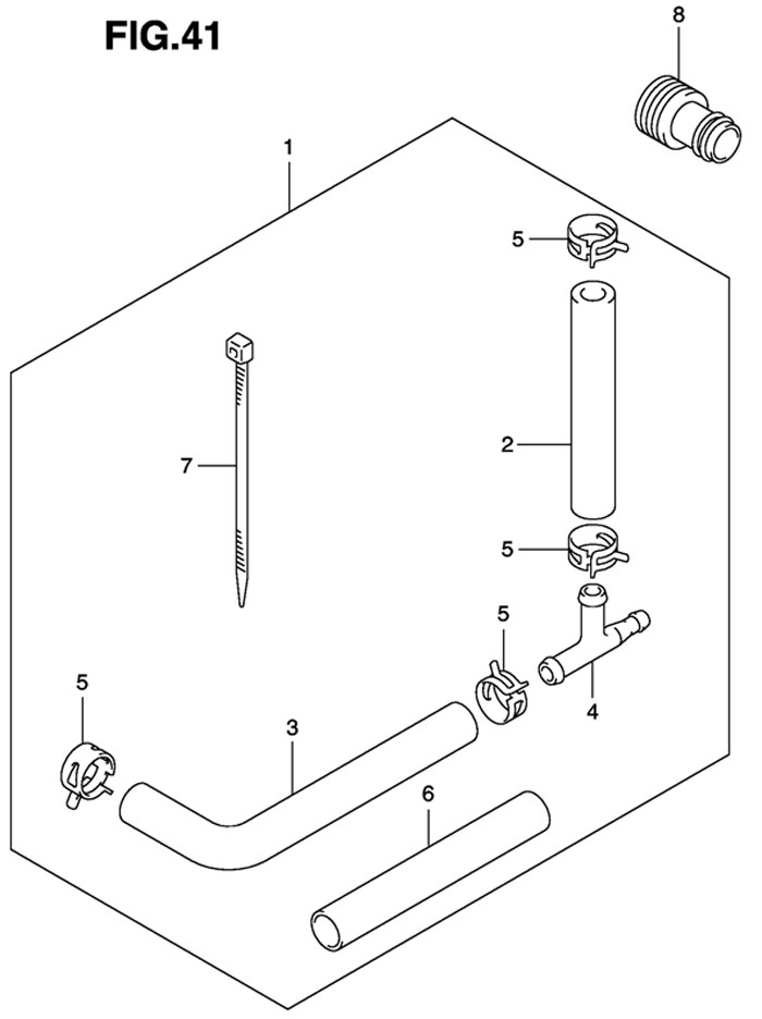
УСТАНОВОЧНЫЙ КОМПЛЕКТ ДАТЧИКА ДАВЛЕНИЯ ВОДЫ (OPT:WATER PRESSURE GAUGE SUB KIT) FIG-41

мотор suzuki df 90 atl установочный комплект датчика давления воды, измерение глубины

Чтобы узнать цену, наличие запасной части на складе или купить, нажмите ссылку "запросить цену". Чтобы посмотреть подробную информацию и фотографии, нажмите на код запчасти. Для запчастей со статусом "не поставляется" можете попробовать уточнить возможность поставки.

все блоки

Номер
на чертеже
Код по каталогуНазвание (eng)Название (rus)Цена
00134660-90J01-000

WATER PRESSURE GAUGE SUB KIT

Установочный комплект измерителя давления воды

по запросу
00209352-50903-600

HOSE (L:600->60)

Шланг (L:600->60)

по запросу
00309352-50903-600

HOSE (L:600->10)

Шланг (L:600->10)

по запросу
00409367-06006-000

3 WAY

Трёхстороннее соединение

по запросу
00517814-90J00-000

CLIP

Зажим

по запросу
00618498-99EA0-000

PROTECTOR (L:80)

Протектор (L:80)

по запросу
00709407-25402-000

CLAMP

Ремешок

по запросу
00817917-99E00-000

CONNECTOR, FLUSH WATER

Коннектор, промывка двигателя водой

по запросу

Другие опции к мотору Suzuki DF90 ATL K9 2009 - купить оригинальные приборы


выбрать и купить инверторы и инверторные системы мощностью до 5 кВА

 
 

данный сайт носит информационный характер и не является публичной офертой

склад запчастей для водомоторной техники