Водяная помпа (Water Pump) Suzuki DF6 модели 2005-2009 года.
вконтакте

Контактный телефон: +7 (981) 121-46-93, +7 (800) 200-90-76 , Email: parts-katalog@yandex.ru, где купить

 
 
Главная Как заказать Каталоги Контакты

  Логин:

Пароль:

Регистрация

Узнать наличие и цену запчасти:


УВАЖАЕМЫЕ КЛИЕНТЫ!
C 19 ДЕКАБРЯ 2025 ПО 02 МАРТА 2026 ГОДА ОТДЕЛ ЗАПЧАСТЕЙ И СЕРВИС РАБОТАТЬ НЕ БУДУТ
ПРОДАЖА ЛОДОЧНЫХ МОТОРОВ В ШТАТНОМ РЕЖИМЕ
ОБ ИЗМЕНЕНИЯХ В ГРАФИКЕ РАБОТЫ ЧИТАЙТЕ НА САЙТА



Лодочные моторы :: Suzuki :: Четырехтактные :: Suzuki DF6


ЗАПЧАСТИ ДЛЯ SUZUKI
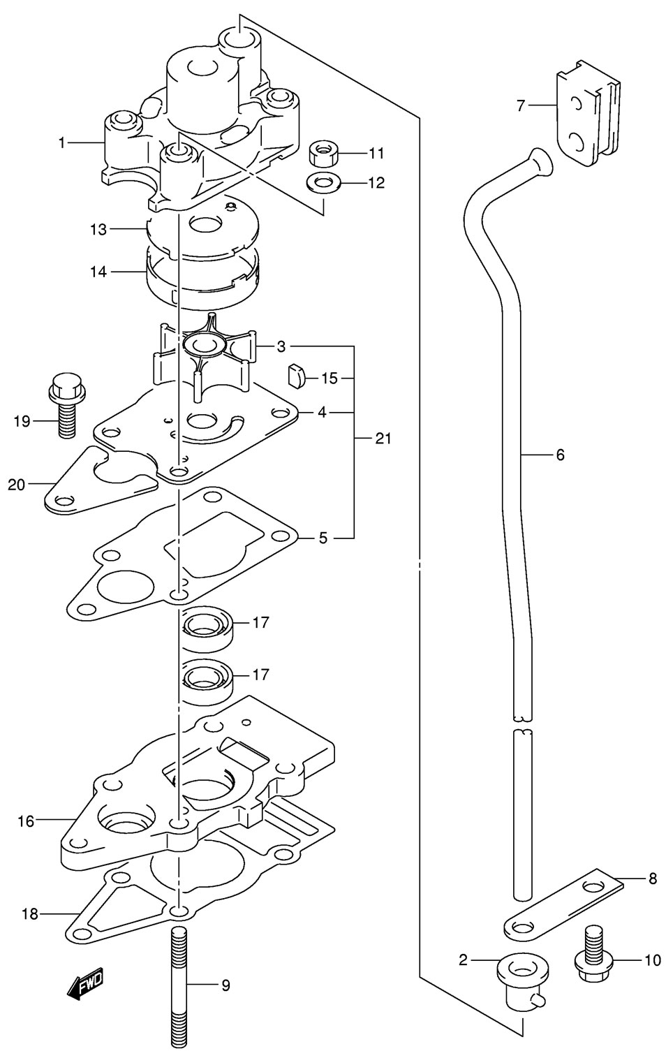
ВОДЯНОЙ НАСОС (WATER PUMP)
ДЛЯ МОДЕЛЕЙ SUZUKI DF6 2005-2009 ГОДА ВЫПУСКА

Water Pump для Suzuki DF6 выпуска 2005-2009 года

Чтобы узнать цену, наличие запасной части на складе или купить, нажмите ссылку "запросить цену". Чтобы посмотреть подробную информацию и фотографии, нажмите на код запчасти. Для запчастей со статусом "не поставляется" можете попробовать уточнить возможность поставки.

все блоки

Номер
на чертеже
Код по каталогуНазвание (eng)Название (rus)Цена
00117410-91J00-000

CASE ASSY, WATER PUMP

Корпус водной помпы

по запросу
00217415-98501-000

GROMMET, WATER PUMP CASE

Втулка водного насоса

по запросу
00317461-98503-000

IMPELLER, WATER PUMP

Крыльчатка водной помпы

по запросу
00417471-98610-000

PANEL, PUMP CASE UNDER

Пластина помпы, верхняя

по запросу
00517472-91J00-000

GASKET, PUMP CASE PANEL

Прокладка корпуса панели

по запросу
00617561-91J00-000

TUBE, WATER (S)

Трубка водная (S)

по запросу
17561-91J10-000

TUBE, WATER (L)

Трубка водная (L)

по запросу
00717563-91J01-000

GROMMET, WATER TUBE UPPER

Втулка водной трубы, верхняя

по запросу
00817564-98600-000

GUIDE, WATER TUBE

Направляющая водной трубы

по запросу
00909108-06105-000

BOLT, STUD

Болт

по запросу
01009116-06094-000

BOLT (6X15)

Болт 6X15

по запросу
01129141-93J00-000

NUT (<-9140-06020)

Гайка (<-9140-06020)

по запросу
01209160-06082-000

WASHER (6.5x13x1.0)

Шайба (6.5x13x1)

по запросу
01317412-91J00-000

PANEL, WATER PUMP CASE UPPER

Панель корпуса водной помпы (верхняя)

по запросу
01417413-91J00-000

SLEEVE, WATER PUMP CASE

Втулка водной помпы

по запросу
01509420-03002-000

KEY

Ключ

по запросу
01656130-91J00-000

HOUSING ASSY, DRIVE SHAFT BRG

Корпус торсионного вала

по запросу
01709282-10008-000

Seal Oil (10x21x4.5)

Сальник (10x21x4.5)

по запросу
01856132-91J00-000

GASKET, DRIVE SHAFT HOUSING

Прокладка вала

по запросу
01909116-06121-000

BOLT (6x25)

Болт (6x25)

по запросу
02025215-98601-000

STOPPER, SHIFT ROD GUIDE

Стопор направляющей

по запросу
02117400-98661-000

KIT, WATER PUMP REPAIR (OPT)

Комплект водной помпы (опция)

по запросу

Смотреть весь каталог запчастей Suzuki DF6


 
 

данный сайт носит информационный характер и не является публичной офертой

склад запчастей для водомоторной техники