вконтакте

Контактный телефон: +7 (981) 121-46-93, +7 (800) 200-90-76 , Email: parts-katalog@yandex.ru, где купить

 
 
Главная Как заказать Каталоги Контакты

  Логин:

Пароль:

Регистрация

Узнать наличие и цену запчасти:


УВАЖАЕМЫЕ КЛИЕНТЫ!
C 19 ДЕКАБРЯ 2025 ПО 02 МАРТА 2026 ГОДА ОТДЕЛ ЗАПЧАСТЕЙ И СЕРВИС РАБОТАТЬ НЕ БУДУТ
ПРОДАЖА ЛОДОЧНЫХ МОТОРОВ В ШТАТНОМ РЕЖИМЕ
ОБ ИЗМЕНЕНИЯХ В ГРАФИКЕ РАБОТЫ ЧИТАЙТЕ НА САЙТА



Лодочные моторы :: Suzuki :: Четырехтактные :: Suzuki DF5 K9 - 2009


ЗАПЧАСТИ ДЛЯ ДВИГАТЕЛЯ SUZUKI DF5 LK9 K9 2009
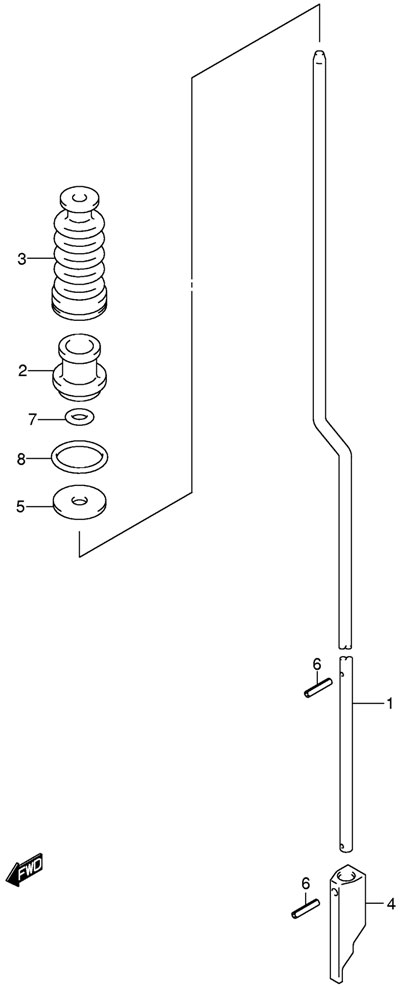
ПЕРЕКЛЮЧАЮЩАЯ ТЯГА (SHIFT ROD)

переключающая тяга для мотора suzuki df5 k9 2009

Чтобы узнать цену, наличие запасной части на складе или купить, нажмите ссылку "запросить цену". Чтобы посмотреть подробную информацию и фотографии, нажмите на код запчасти. Для запчастей со статусом "не поставляется" можете попробовать уточнить возможность поставки.

все блоки

Номер
на чертеже
Код по каталогуНазвание (eng)Название (rus)Цена
00125111-91J00-000

ROD, SHIFT (S) (<-5111-91J20, ->5100-91810, SHIFT ROD SET)

Вал передачи (S) (<-5111-91J20, ->5100-91810, SHIFT ROD SET)

по запросу
25111-91J10-000

ROD, SHIFT (L) (<-5111-91J30, ->5100-91820, SHIFT ROD SET)

Вал передачи (L) (<-5111-91J30, ->5100-91820, SHIFT ROD SET)

по запросу
25111-91J21-000

ROD, SHIFT (S) (DF4:680541~, DF5:680661~, DF6:681143~)

Вал передачи (S) (DF4:680541~, DF5:680661~, DF6:681143~)

по запросу
25111-91J31-000

ROD, SHIFT (L) (DF4:680541~, DF5:680661~, DF6:681143~)

Вал передачи (L) (DF4:680541~, DF5:680661~, DF6:681143~)

по запросу
00225211-98601-000

GUIDE, SHIFT ROD

Направляющая переключателя

по запросу
00325222-93901-000

BOOT, SHIFT ROD

Колпак переключателя

по запросу
00425311-91J00-000

CAM, SHIFT ROD (->HIFT ROD SET, 25100-91810 FOR TYPE:S, 25100-91820 FOR TYPE:L)

Кулачок переключателя (->HIFT ROD SET, 25100-91810 FOR TYPE:S, 25100-91820 FOR TYPE:L)

по запросу
25311-91J01-000

CAM, SHIFT ROD (DF4:680541~, DF5:680661~, DF6:681143~)

Кулачок переключателя (DF4:680541~, DF5:680661~, DF6:681143~)

по запросу
00509160-05501-000

WASHER (5.5X20X1.2)

Шайба (5.5X20X1.2)

по запросу
00609205-02006-000

PIN, SPRING

Стопор

по запросу
09205-02004-000

PIN, SPRING (DF4:680541~, DF5:680661~, DF6:681143~)

Стопор (DF4:680541~, DF5:680661~, DF6:681143~)

по запросу
00709280-05008-000

O RING (D:2.9 ID:4.8)

Кольцо уплотнительное (D:2.9 ID:4.8)

по запросу
59291-91J00-000

O RING (D:2.9,ID:4.8) (MODEL:04~09, ->9280-05008)

Кольцо уплотнительное (D:2.9 ID:4.8) (модели 2004-2009, ->9280-05008)

по запросу
00809280-15007-000

O RING (D:2.4 ID:15.8)

Кольцо колпачка (D:2.4 ID:15.8)

по запросу
59291-91J20-000

O RING (D:2.4 ID:15.8) (MODEL:04~09, ->9280-15007)

Кольцо колпачка (D:2.4 ID:15.8) (модели 2004-2009 года, ->9280-15007)

по запросу

Все разделы каталога для двигателя Suzuki DF5 K9 2009


 
 

данный сайт носит информационный характер и не является публичной офертой

склад запчастей для водомоторной техники