вконтакте

Контактный телефон: +7 (981) 121-46-93, +7 (800) 200-90-76 , Email: parts-katalog@yandex.ru, где купить

 
 
Главная Как заказать Каталоги Контакты

  Логин:

Пароль:

Регистрация

Узнать наличие и цену запчасти:


УВАЖАЕМЫЕ КЛИЕНТЫ!
C 19 ДЕКАБРЯ 2025 ПО 02 МАРТА 2026 ГОДА ОТДЕЛ ЗАПЧАСТЕЙ И СЕРВИС РАБОТАТЬ НЕ БУДУТ
ПРОДАЖА ЛОДОЧНЫХ МОТОРОВ В ШТАТНОМ РЕЖИМЕ
ОБ ИЗМЕНЕНИЯХ В ГРАФИКЕ РАБОТЫ ЧИТАЙТЕ НА САЙТА



Лодочные моторы :: Suzuki :: Четырехтактные :: Suzuki DF5 K9


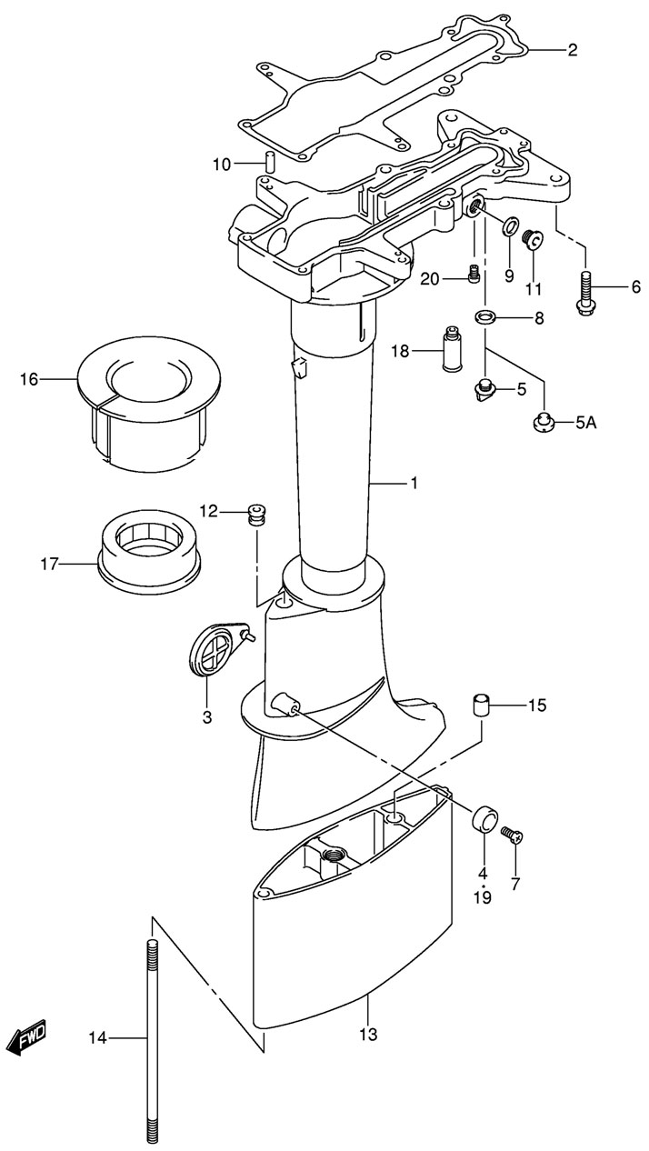
ЗАПЧАСТИ ДЛЯ МОТОРА SUZUKI DF5 LK9 K9 2009
КОРПУС ВАЛА ПЕРЕДАЧИ (DRIVE SHAFT HOUSING)

Drive Shaft Housing Suzuki df5 k9 2009 - корпус вала передачи

Чтобы узнать цену, наличие запасной части на складе или купить, нажмите ссылку "запросить цену". Чтобы посмотреть подробную информацию и фотографии, нажмите на код запчасти. Для запчастей со статусом "не поставляется" можете попробовать уточнить возможность поставки.

все блоки

Номер
на чертеже
Код по каталогуНазвание (eng)Название (rus)Цена
00152111-91J00-0EP

HOUSING, DRIVE SHAFT (BLACK) (->2111-91J20-0EP, USED WITH 52117-92D00, 09168-10002, 09248-10008)

Копрус торсионного вала (черный) (->2111-91J20-0EP, используется вместе с 52117-92D00, 09168-10002, 09248-10008)

по запросу
52111-91J10-0EP

HOUSING, DRIVE SHAFT (BLACK) (DF4/5 MODEL:05, DF6:511204~)

Копрус торсионного вала (черный) (Suzuki DF4 и DF5 модели 2005 и DF6:511204~)

по запросу
52111-91J11-0EP

HOUSING, DRIVE SHAFT (BLACK) (MODEL:06,07)

Копрус торсионного вала (черный) (модели 2006 и 2007 года)

по запросу
52111-91J20-0EP

HOUSING, DRIVE SHAFT (BLACK) (MODEL:08,09)

Копрус торсионного вала (черный) (модели 2008 и 2009 года)

по запросу
00252113-91J01-000

Gasket, Drive Shaft Housing

Прокладка корпуса вала передачи

по запросу
00352115-98600-000

COVER, CLUTCH ADJUST HOLE

Крышка муфты регулирующего отверстия

по запросу
00455321-87J00-000

ANODE, PROTECTION

Анод защиты

по запросу
00561155-91J00-000

TUBE, WATER INSPECTION (DF4/5 MODEL:02~04, DF6:~511203)

Трубка, контроль струи (DF4, DF5 модели 2002=2004, DF6:~511203)

по запросу
005A09248-10008-000

PLUG, FLUSH (DF4/5 MODEL:05~09, DF6:511204~)

Заглушка дренажная (DF4/5 модели 2005-2009, DF6:511204~)

по запросу
00609116-06189-000

BOLT (6X38)

Болт (6x38)

по запросу
00709128-06021-000

BOLT

Болт протектора

по запросу
09103-06281-000

BOLT (MODEL:06~09)

Болт протектора (модели 2006-2009 года)

по запросу
00809168-10022-000

GASKET

Прокладка

по запросу
00909168-12017-000

GASKET

Прокладка

по запросу
01009202-06015-000

PIN, KNOCK

Шпилька, детонация

по запросу
01129248-93J00-000

PLUG (<-9248-12007)

Заглушка (<-9248-12007)

по запросу
01209320-04010-000

BUSH (<-5214-91J00)

Вкладыш (<-5214-91J00)

по запросу
01352131-91J00-0EP

CASE, EXTENSION (BLACK) (TYPE:L)

Корпус удлиняющий(чёрный) (для моторов типа "L")

по запросу
01409108-08092-000

BOLT, STUD (TYPE:L)

Болт, штифт (для моторов типа "L")

по запросу
01509206-11006-000

PIN, KNOCK (TYPE:L)

Шпилька (для моторов типа "L")

по запросу
01654132-91J00-000

RUBBER, MOUNT UPPER

Резинка, монтаж сверху

по запросу
54132-91J10-000

RUBBER, MOUNT UPPER (MODEL:03~09)

Резинка, монтаж сверху (для моделей 2003-2009 года)

по запросу
01754162-91J00-000

RUBBER, MOUNT LOWER

Резинка, монтаж снизу

по запросу
01855181-95200-000

ATTACHMENT, FLUSH HOSE (OPT)

Устройство промывки из шланга (опция)

по запросу
01955321-87J10-000

ANODE (MAGNESIUM) (OPT)

Анод (магниевый) (оцпия)

по запросу
02052117-92D00-000

TUBE, WATER INSPECTION (DF4/5 MODEL:05~09, DF6:511204~)

Трубка водная (DF4, DF5 модели 2005-2009, DF6:511204~)

по запросу

Полный каталог запчастей для Сузуки DF5 K9 2009


 
 

данный сайт носит информационный характер и не является публичной офертой

склад запчастей для водомоторной техники