вконтакте

Контактный телефон: +7 (981) 121-46-93, +7 (800) 200-90-76 , Email: parts-katalog@yandex.ru, где купить

 
 
Главная Как заказать Каталоги Контакты

  Логин:

Пароль:

Регистрация

Узнать наличие и цену запчасти:


УВАЖАЕМЫЕ КЛИЕНТЫ!
C 19 ДЕКАБРЯ 2025 ПО 02 МАРТА 2026 ГОДА ОТДЕЛ ЗАПЧАСТЕЙ И СЕРВИС РАБОТАТЬ НЕ БУДУТ
ПРОДАЖА ЛОДОЧНЫХ МОТОРОВ В ШТАТНОМ РЕЖИМЕ
ОБ ИЗМЕНЕНИЯХ В ГРАФИКЕ РАБОТЫ ЧИТАЙТЕ НА САЙТА



Лодочные моторы :: Suzuki :: Четырехтактные :: Suzuki DF-25 SK10


ПОДВЕСНОЙ ЛОДОЧНЫЙ МОТОР SUZUKI DF25 SK10
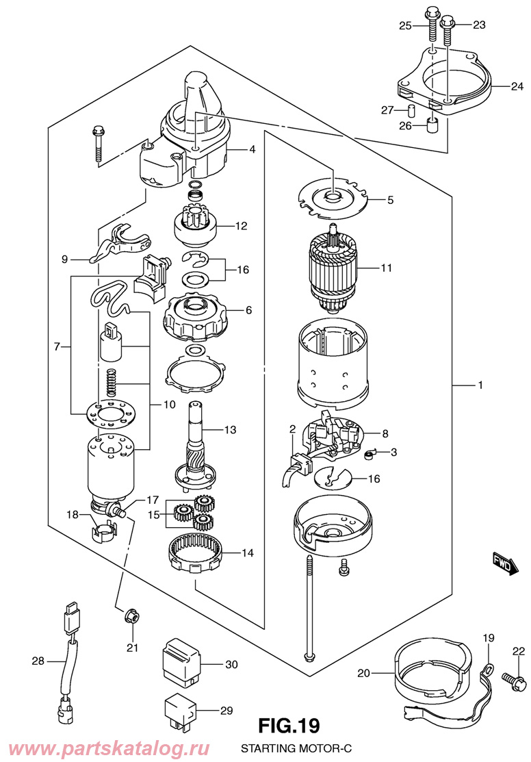
ДВИГАТЕЛЬ ЭЛЕКТРОСТАРТЕРА (STARTING MOTOR) (ДЛЯ МОДЕЛЕЙ В КОТОРЫХ ПРЕДУСМОТРЕН)
FIG.19

двигатель электростартера Suzuki df25 k10

Чтобы узнать цену, наличие запасной части на складе или купить, нажмите ссылку "запросить цену". Чтобы посмотреть подробную информацию и фотографии, нажмите на код запчасти. Для запчастей со статусом "не поставляется" можете попробовать уточнить возможность поставки.

все блоки

Номер
на чертеже
Код по каталогуНазвание (eng)Название (rus)Цена
00131100-95J01-000

STARTING MOTOR

-

по запросу
00231131-94J00-000

BRUSH SET, PLUS

-

по запросу
00331135-90J00-000

SPRING

-

по запросу
00431151-94J00-000

CASE, GEAR

-

по запросу
00531152-90J00-000

PLATE, CENTER

-

по запросу
00631153-90J00-000

BRACKET, PLANET GEAR

-

по запросу
00731171-96J00-000

COVER KIT, DUST

-

по запросу
00831173-94J00-000

HOLDER, BRUSH

-

по запросу
00931191-96J00-000

LEVER, SHIFT

-

по запросу
01031220-94J00-000

SWITCH, MAGNET

-

по запросу
01131310-90J00-000

ARMATURE

-

по запросу
01231320-94J00-000

PINION

-

по запросу
01331341-94J00-000

SHAFT, PINION

-

по запросу
01431343-90J00-000

INTERNAL GEAR

-

по запросу
01531344-90J00-000

GEAR, PLANETARY

-

по запросу
01631360-93J01-000

WASHER SET

-

по запросу
01731913-93J00-000

TERMINAL

-

по запросу
01831914-93J00-000

CAP, TERMINAL

-

по запросу
01931912-95J00-000

BAND, STARTER MOTOR

-

по запросу
02031918-95J00-000

DAMPER, LOWER

-

по запросу
02108316-10087-000

NUT, STARTER MOTOR

-

по запросу
02201550-08207-000

BOLT, STARTER MOTOR LOWER

-

по запросу
02301550-08257-000

BOLT, STARTER MOTOR

-

по запросу
02431911-95J00-000

BRACKET, STARTER MOTOR

-

по запросу
02501550-08307-000

BOLT, STARTER MOTOR BRACKET

-

по запросу
02604211-11129-000

PIN, STARTER MOTOR BRACKET

-

по запросу
02704221-06129-000

PIN, STARTER MOTOR BRACKET

-

по запросу
02836645-94J00-000

LEAD WIRE

-

по запросу
02938860-76F01-000

RELAY ASSY, STARTER MOTOR

-

по запросу
03038915-90J00-000

HOLDER, RELAY

-

по запросу

Модель двигателя Suzuki DF-25 SK10 - каталог запчастей


 
 

данный сайт носит информационный характер и не является публичной офертой

склад запчастей для водомоторной техники