вконтакте

Контактный телефон: +7 (981) 121-46-93, +7 (800) 200-90-76 , Email: parts-katalog@yandex.ru, где купить

 
 
Главная Как заказать Каталоги Контакты

  Логин:

Пароль:

Регистрация

Узнать наличие и цену запчасти:


УВАЖАЕМЫЕ КЛИЕНТЫ!
C 19 ДЕКАБРЯ 2025 ПО 02 МАРТА 2026 ГОДА ОТДЕЛ ЗАПЧАСТЕЙ И СЕРВИС РАБОТАТЬ НЕ БУДУТ
ПРОДАЖА ЛОДОЧНЫХ МОТОРОВ В ШТАТНОМ РЕЖИМЕ
ОБ ИЗМЕНЕНИЯХ В ГРАФИКЕ РАБОТЫ ЧИТАЙТЕ НА САЙТА



Лодочные моторы :: Suzuki :: Четырехтактные :: Suzuki DF2.5 - 2009


ЗАПЧАСТИ НА ЛОДОЧНЫЙ МОТОР СУЗУКИ DF 2.5 SK9 P1 2009
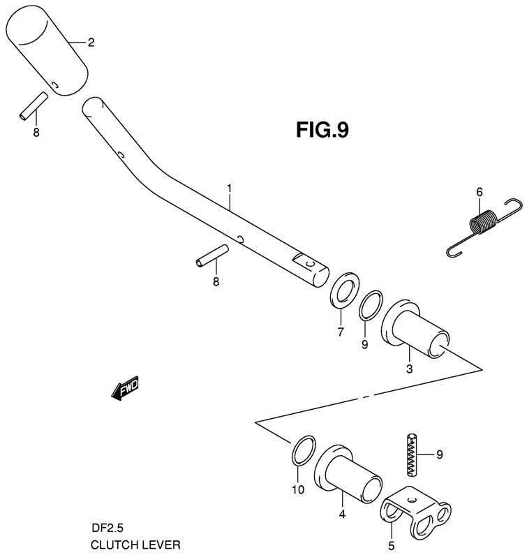
РЫЧАГ СЦЕПЛЕНИЯ (CLUTCH LEVER)
FIG.9

рычаг сцепления suzuki df2.5 sk9 Clutch Lever

Чтобы узнать цену, наличие запасной части на складе или купить, нажмите ссылку "запросить цену". Чтобы посмотреть подробную информацию и фотографии, нажмите на код запчасти. Для запчастей со статусом "не поставляется" можете попробовать уточнить возможность поставки.

все блоки

Номер
на чертеже
Код по каталогуНазвание (eng)Название (rus)Цена
00121111-97J01-000

LEVER, CLUTCH

Рычаг муфты сцепления

по запросу
00221112-97J00-000

KNOB, CLUTCH LEVER

Рукоятка муфты сцепления

по запросу
00321221-97J00-000

Bush Clutch Shaft

Втулка вала сцепления

по запросу
00421222-97J00-000

Bush Clutch Shaft №2

Втулка вала сцепления №2

по запросу
00523211-97J01-000

ARM, CLUTCH ROD

Рычаг стержня муфты

по запросу
00623213-97J00-000

SPRING, CLUTCH NOTCH

Пружина сцепления с зацепами

по запросу
00709160-08145-000

WASHER (8X14X1.5)

Шайба (8x14x1.5)

по запросу
00809205-03012-000

PIN, CLUTCH LEVER

Штифт рычага сцепления

по запросу
00909205-04002-000

Pin, Clutch Lever

Стопор рычага сцепления

по запросу
01009280-08005-000

O-Ring (D:1.7 ID:7.7)

Кольцо уплотнительное (D:1.7 ID:7.7)

по запросу

Подобрать запчасти на подвесной двигатель Suzuki DF 2.5 SK9 2009


 
 

данный сайт носит информационный характер и не является публичной офертой

склад запчастей для водомоторной техники