вконтакте

Контактный телефон: +7 (981) 121-46-93, +7 (800) 200-90-76 , Email: parts-katalog@yandex.ru, где купить

 
 
Главная Как заказать Каталоги Контакты

  Логин:

Пароль:

Регистрация

Узнать наличие и цену запчасти:


УВАЖАЕМЫЕ КЛИЕНТЫ!
C 19 ДЕКАБРЯ 2025 ПО 02 МАРТА 2026 ГОДА ОТДЕЛ ЗАПЧАСТЕЙ И СЕРВИС РАБОТАТЬ НЕ БУДУТ
ПРОДАЖА ЛОДОЧНЫХ МОТОРОВ В ШТАТНОМ РЕЖИМЕ
ОБ ИЗМЕНЕНИЯХ В ГРАФИКЕ РАБОТЫ ЧИТАЙТЕ НА САЙТА



Лодочные моторы :: Suzuki :: Четырехтактные :: Suzuki DF140TL K11 (E1) K11


ОРИГИНАЛЬНЫЕ ЗАПЧАСТИ ДЛЯ SUZUKI DF140TL K11 (E1) 2011
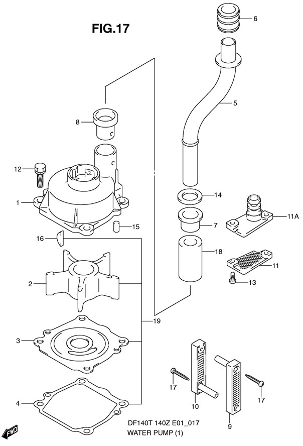
ВОДЯНОЙ НАСОС (WATER PUMP)
(ДЛЯ МОДЕЛЕЙ DF140T И DF140Z)
FIG.17

водяной насос Suzuki DF140TL K11 (E1) 2011 для DF140T и DF140Z

Чтобы узнать цену, наличие запасной части на складе или купить, нажмите ссылку "запросить цену". Чтобы посмотреть подробную информацию и фотографии, нажмите на код запчасти. Для запчастей со статусом "не поставляется" можете попробовать уточнить возможность поставки.

другие блоки

Номер
на чертеже
Код по каталогуНазвание (eng)Название (rus)Цена
00117411-90J00-000

CASE, WATER PUMP (->7400-90810,
WATER PUMP CASE SET)

Корпус водной помпы
(->7400-90810 установочный комплект водяной помпы)

по запросу
00217461-90J01-000

IMPELLER, WATER PUMP

Крыльчатка водной помпы

по запросу
00317471-87E01-000

PANEL, PUMP CASE UNDER

Нижняя пластина корпуса помпы

по запросу
17471-87E10-000

PANEL, PUMP CASE UNDER (OPT)

Нижняя пластина корпуса помпы (опция)

по запросу
00417472-87E10-000

GASKET, PUMP CASE PANEL

Прокладка панели корпуса помпы

по запросу
00517560-90J01-000

TUBE, WATER (L)

Трубка водная (L)

по запросу
17560-90J11-000

TUBE, WATER (X)

Трубка водная (X)

по запросу
00617562-90J00-000

BUSH, WATER TUBE UPPER

Втулка верхней водяной трубки

по запросу
00717563-87D00-000

BUSH, WATER TUBE LOWER

Втулка нижней водяной трубки

по запросу
00817564-87D00-000

Bush, Water Pump Case

Втулка корпуса водяной помпы

по запросу
00917631-90J00-000

FILTER, WATER PORT SIDE

Фильтр водный, левая сторона

по запросу
01017632-90J00-000

FILTER, WATER STBD SIDE

Фильтр водный, правая сторона

по запросу
01117635-87E00-000

FILTER, WATER SUB

Фильтр водный, сменный

по запросу
011A17635-90J00-000

PLUG, SUB WATER TUBE
(DF140T:376160~, DF140Z:371393~)

Заглушка водяной трубки
(DF140T:376160~, DF140Z:371393~)

по запросу
01209117-08057-000

BOLT (8x25)

Болт (8x25)

по запросу
01309125-05046-000

SCREW (5x12)

Винт (5x12)

по запросу
01409161-16008-000

WASHER (15.8x26x1.0)

Шайба (15.8x26x1.0)

по запросу
01509202-06031-000

PIN, KNOCK

Стопор, ударный

по запросу
01609420-05009-000

KEY

Ключ

по запросу
01703112-04303-000

SCREW

Винт

по запросу
09132-04034-000

SCREW (4x18) (DF140T:371937~, DF140Z:371064~)

Винт (4x18) (DF140T:371937~, DF140Z:371064~)

по запросу
01817612-90J00-000

SPACER, WATER TUBE (X)

Прокладка водной трубки (X)

по запросу
01917400-90J11-000

WATER PUMP REPAIR KIT (OPT)

Ремкомплект водного насоса (опция)

по запросу

Модель Suzuki DF140TL (E1) 2011 - купить запчасти


 
 

данный сайт носит информационный характер и не является публичной офертой

склад запчастей для водомоторной техники