вконтакте

Контактный телефон: +7 (981) 121-46-93, +7 (800) 200-90-76 , Email: parts-katalog@yandex.ru, где купить

 
 
Главная Как заказать Каталоги Контакты

  Логин:

Пароль:

Регистрация

Узнать наличие и цену запчасти:


УВАЖАЕМЫЕ КЛИЕНТЫ!
C 19 ДЕКАБРЯ 2025 ПО 02 МАРТА 2026 ГОДА ОТДЕЛ ЗАПЧАСТЕЙ И СЕРВИС РАБОТАТЬ НЕ БУДУТ
ПРОДАЖА ЛОДОЧНЫХ МОТОРОВ В ШТАТНОМ РЕЖИМЕ
ОБ ИЗМЕНЕНИЯХ В ГРАФИКЕ РАБОТЫ ЧИТАЙТЕ НА САЙТА



Лодочные моторы :: Suzuki :: Четырехтактные :: Suzuki DF 140 TL K11 (E1) K11


ЗАПЧАСТИ НА ЛОДОЧНЫЙ МОТОР SUZUKI DF140TL K11 (E1) 2011
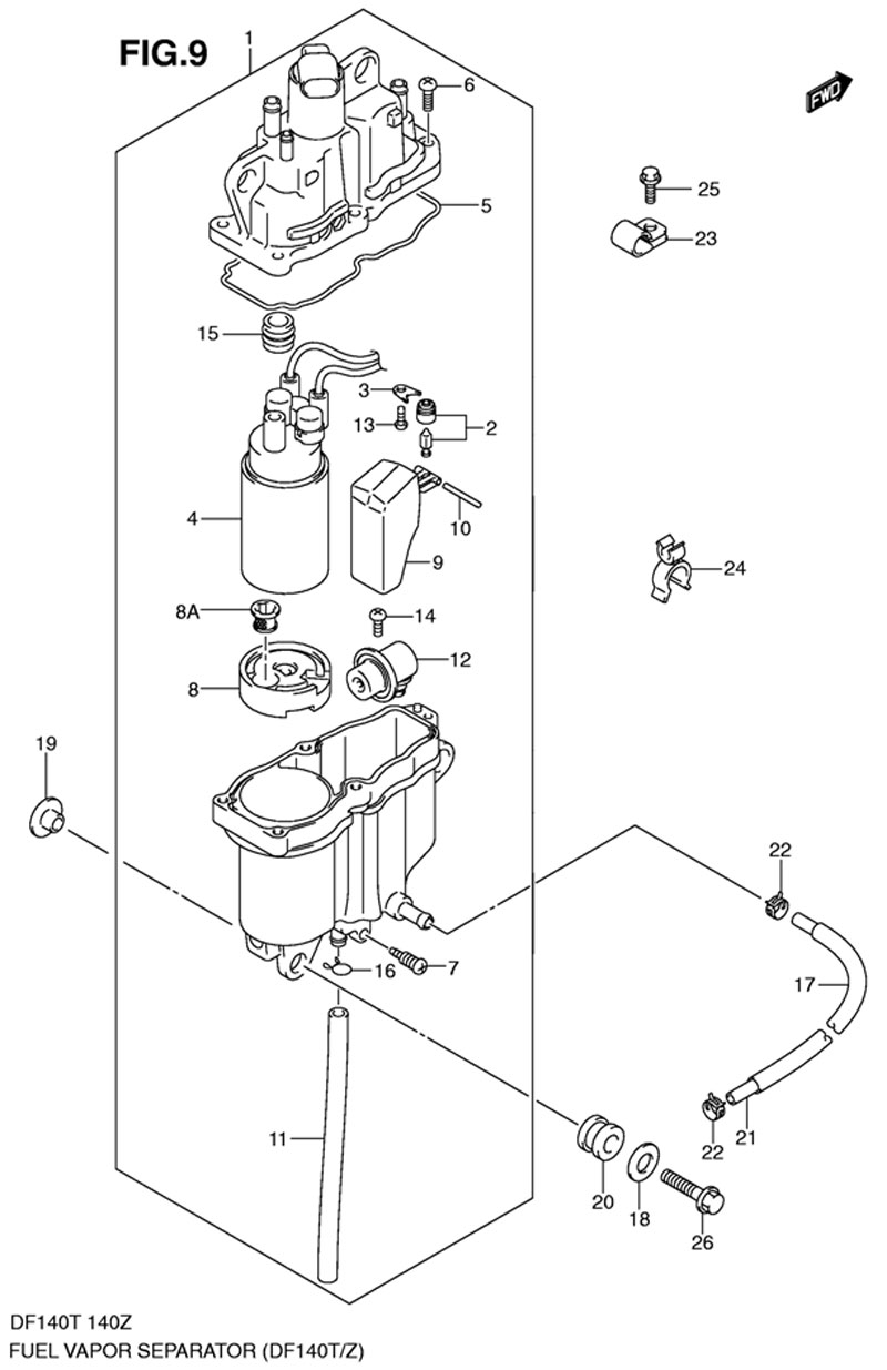
ОТДЕЛИТЕЛЬ ПАРОВ ТОПЛИВА (FUEL VAPOR SEPARATOR)
(ДЛЯ МОДЕЛЕЙ DF140T И DF140Z)
FIG.9

отделитель паров топлива, сепаратор Suzuki DF140 TL K11 (E1) 2011 - на модели DF140T и DF140Z

Чтобы узнать цену, наличие запасной части на складе или купить, нажмите ссылку "запросить цену". Чтобы посмотреть подробную информацию и фотографии, нажмите на код запчасти. Для запчастей со статусом "не поставляется" можете попробовать уточнить возможность поставки.

все блоки двигателя

Номер
на чертеже
Код по каталогуНазвание (eng)Название (rus)Цена
00115600-90J00-000

SEPARATOR, FUEL VAPOR

Сепаратор-отделитель паров топлива

по запросу
00213370-99E00-000

VALVE, NEEDLE

Игольчатый клапан

по запросу
00313373-39110-000

PLATE

Плата клапана

по запросу
00415200-90J00-000

PUMP, FUEL

Топливный насос

по запросу
00515626-90J00-000

SEAL

Сальник

по запросу
00615628-99E00-000

SCREW (L:15)

Винт (L:15)

по запросу
00715629-99E10-000

SCREW, DRAIN

Винт дренажный

по запросу
00815641-90J00-000

SPACER

Прокладка топливного насоса

по запросу
008A15642-90J00-000

FILTER

Фильтр топливного насоса

по запросу
00915650-99E00-000

FLOAT

Поплавок

по запросу
01015654-99E00-000

PIN

Стопор

по запросу
01115683-87J00-000

HOSE, DRAIN

Дренажный шланг

по запросу
01215760-87J00-000

REGULATOR

Регулятор

по запросу
01302112-04083-000

SCREW

Винт

по запросу
01402112-0510A-000

SCREW

Винт

по запросу
01515647-93J00-000

BUSH

Втулка

по запросу
01613671-13F00-000

CLIP

Зажим

по запросу
01718498-90J00-000

PROTECTOR, EVAP HOSE (L:290) (L:290->40, <-8498-90J70)

Протектор шланга испарений (L:290) (L:290->40, <-8498-90J70)

по запросу
01809160-06084-000

WASHER (6.5x18x1.6) (MODEL:02~05)

Шайба 6.5x18x1.6 (модели 2002-2005 года)

по запросу
01909169-06075-000

WASHER

Шайба

по запросу
02009320-09039-000

CUSHION

Валик глушителя

по запросу
02109352-50823-600

HOSE (L:600->40)

Шланг испарений (L:600->40)

по запросу
02209401-08412-000

CLIP

Зажим

по запросу
02309403-13408-000

CLAMP

Хомут-скоба

по запросу
02409408-00124-000

CLAMP

Хомут-зажим

по запросу
02501550-06127-000

BOLT

Болт

по запросу
02601550-06257-000

BOLT

Болт

по запросу
09116-06202-000

BOLT (W/WASHER) (MODEL:06~)

Болт с шайбой (модели после 2006 года)

по запросу

Лодочный двигатель Suzuki DF140TL (E1) 2011 - выбрать другие запчасти


 
 

данный сайт носит информационный характер и не является публичной офертой

склад запчастей для водомоторной техники