вконтакте

Контактный телефон: +7 (981) 121-46-93, +7 (800) 200-90-76 , Email: parts-katalog@yandex.ru, где купить

 
 
Главная Как заказать Каталоги Контакты

  Логин:

Пароль:

Регистрация

Узнать наличие и цену запчасти:


УВАЖАЕМЫЕ КЛИЕНТЫ!
C 19 ДЕКАБРЯ 2025 ПО 02 МАРТА 2026 ГОДА ОТДЕЛ ЗАПЧАСТЕЙ И СЕРВИС РАБОТАТЬ НЕ БУДУТ
ПРОДАЖА ЛОДОЧНЫХ МОТОРОВ В ШТАТНОМ РЕЖИМЕ
ОБ ИЗМЕНЕНИЯХ В ГРАФИКЕ РАБОТЫ ЧИТАЙТЕ НА САЙТА



Лодочные моторы :: Suzuki :: Четырехтактные :: Suzuki DF140TL (E1) K11


ОРИГИНАЛЬНЫЕ ЗАПЧАСТИ НА SUZUKI DF140TL K11 (E1) 2011
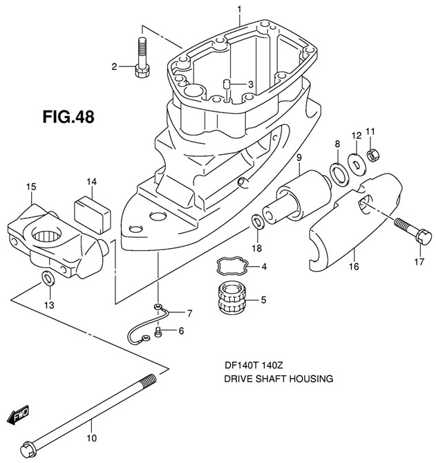
КОРПУС ВАЛА ПЕРЕДАЧИ (DRIVE SHAFT HOUSING)
FIG.48

корпус вала передачи Suzuki DF140 TL K11

Чтобы узнать цену, наличие запасной части на складе или купить, нажмите ссылку "запросить цену". Чтобы посмотреть подробную информацию и фотографии, нажмите на код запчасти. Для запчастей со статусом "не поставляется" можете попробовать уточнить возможность поставки.

все блоки

Номер
на чертеже
Код по каталогуНазвание (eng)Название (rus)Цена
00152111-90J02-0EP

HOUSING, DRIVE SHAFT (BLACK) (TYPE:L)

Корпус торсионного вала (черный) (типа "L")

по запросу
52111-90J12-0EP

HOUSING, DRIVE SHAFT (BLACK) (TYPE:X)

Корпус торсионного вала (черный) (типа "X")

по запросу
00209117-10034-000

BOLT (10x45)

Болт (10x45)

по запросу
09117-10058-000

BOLT (10x45) (MODEL:05~)

Болт (10x45) (модели после 2005 года)

по запросу
00309202-08006-000

PIN, KNOCK

Ударный стопор

по запросу
00409387-45001-000

CIRCLIP (TYPE:X)

Стопорное кольцо (пружинное) (типа "X")

по запросу
00557130-92J01-000

BUSH, DRIVE SHAFT (TYPE:X)

Втулка торсионного вала (типа "X">

по запросу
00609125-06063-000

SCREW (6x10)

Винт (6x10)

по запросу
00736895-87D01-000

LEAD

Провод

по запросу
36895-87D10-000

LEAD (SWIVEL TO HSG) (DF140T:682149~, DF140Z:680234~)

Провод (от шарнирного соединения к корпусу)
(DF140T:682149~, DF140Z:680234~)

по запросу
00854121-87D00-000

DAMPER, REVERSE STOPPER LOWER

Демпфер, нижний стопор реверса

по запросу
00954160-90J20-000

MOUNT, LOWER

Опора нижняя

по запросу
01054166-90J11-000

BOLT (12x231) (<-9100-12079)

Болт (12x231) (<-9100-12079)

по запросу
01109159-12014-000

NUT

Гайка

по запросу
01209160-12112-000

WASHER (12x40x3.0) (<-9160-12065)

Шайба (12x40x3.0) (<-9160-12065)

по запросу
01354114-90J01-000

WASHER (12.5x22x3.0) (<-9160-12066)

Шайба (12.5x22x3.0) (<-9160-12066)

по запросу
01454151-90J00-000

MOUNT, LOWER THRUST

Опора, упорная нижняя

по запросу
01554211-90J01-0EP

BRACKET, LOWER MOUNT (BLACK)

Кронштейн нижней опоры (чёрный)

по запросу
01654221-90J02-0EP

COVER, LOWER MOUNT (BLACK)

Крышка нижней опоры (чёрная)

по запросу
01709117-10034-000

BOLT (10x45)

Болт (10x45)

по запросу
09117-10058-000

BOLT (10x45) (MODEL:05~)

Болт (10x45) (модели после 2005 года)

по запросу
01809160-12113-000

WASHER (12.5x30x2.5) (<-9160-12098)

Шайба (12.5x30x2.5) (<-9160-12098)

по запросу

Модель Suzuki DF140TL K11 (E1) 2011, оглавление каталога запчастей


 
 

данный сайт носит информационный характер и не является публичной офертой

склад запчастей для водомоторной техники